Skip to main content

Parts Diagrams

customer service agent speaking with a customer

Welcome, Kawasaki owners. Access the information and tools you need to get the most out of your vehicle.

Welcome, Kawasaki owners. Access the information and tools you need to get the most out of your vehicle.

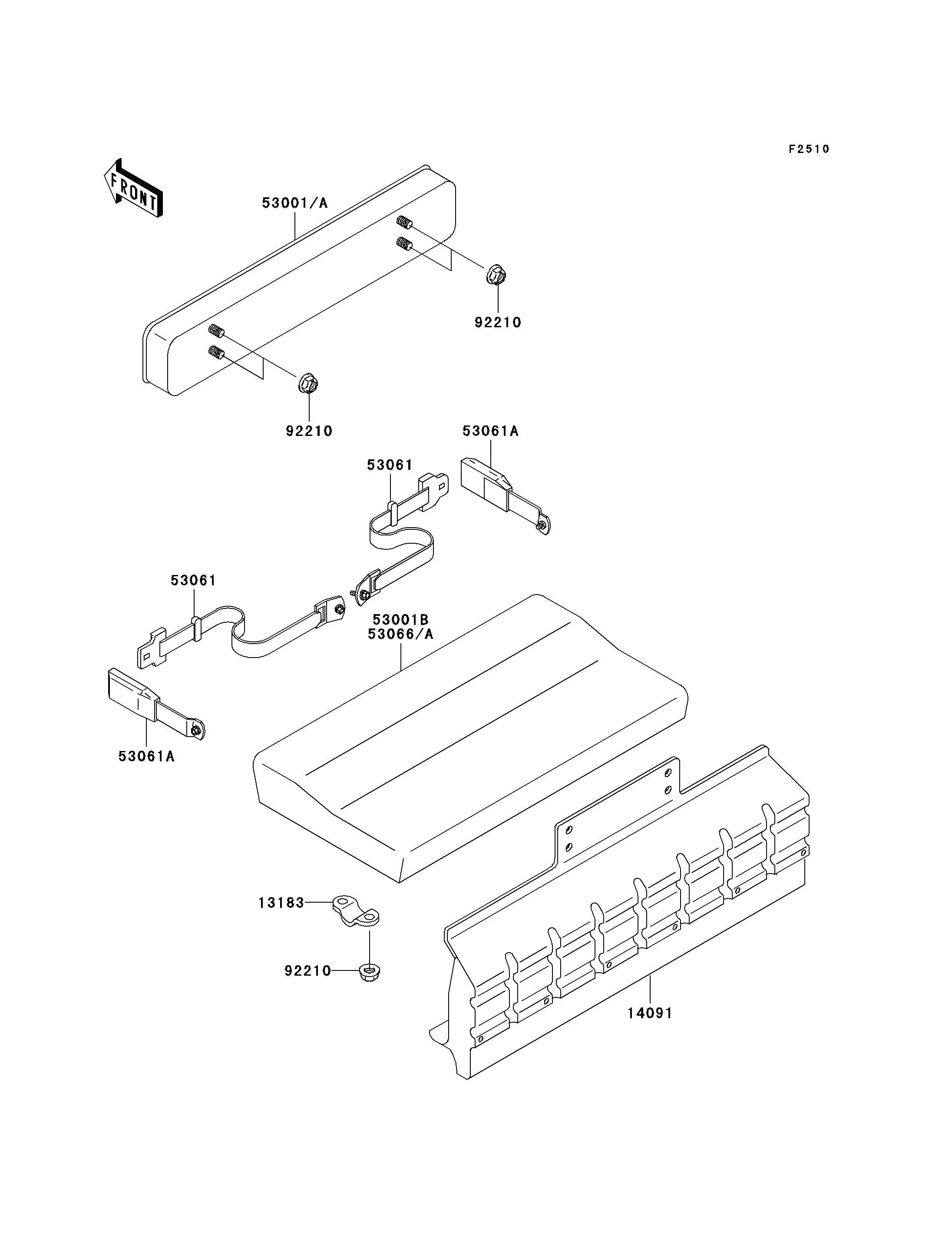
13183
14091
53001
53061
53061
53061A
53061A
53066
92210
92210
92210
Part Item Information
ITEM NAME REF # PART NUMBER QUANTITY DESTINATION REMARKS
PLATE,SEAT 13183 13183-1400 2
COVER,SEAT,BACK 14091 14091-1224 1
SEAT-ASSY,BACK,GRAY 53001 53001-1584-PA 1
BELT-SEAT,CATCH PLATE 53061 53061-1013 2
BELT-SEAT,BUCKLE 53061A 53061-1014 2
SEAT-ASSY,CUSHION,GRAY 53066 53066-7501-PA 1
NUT,FLANGED,LOCK,8MM 92210 92210-0005 8