Skip to main content

Parts Diagrams

customer service agent speaking with a customer

Welcome, Kawasaki owners. Access the information and tools you need to get the most out of your vehicle.

Welcome, Kawasaki owners. Access the information and tools you need to get the most out of your vehicle.

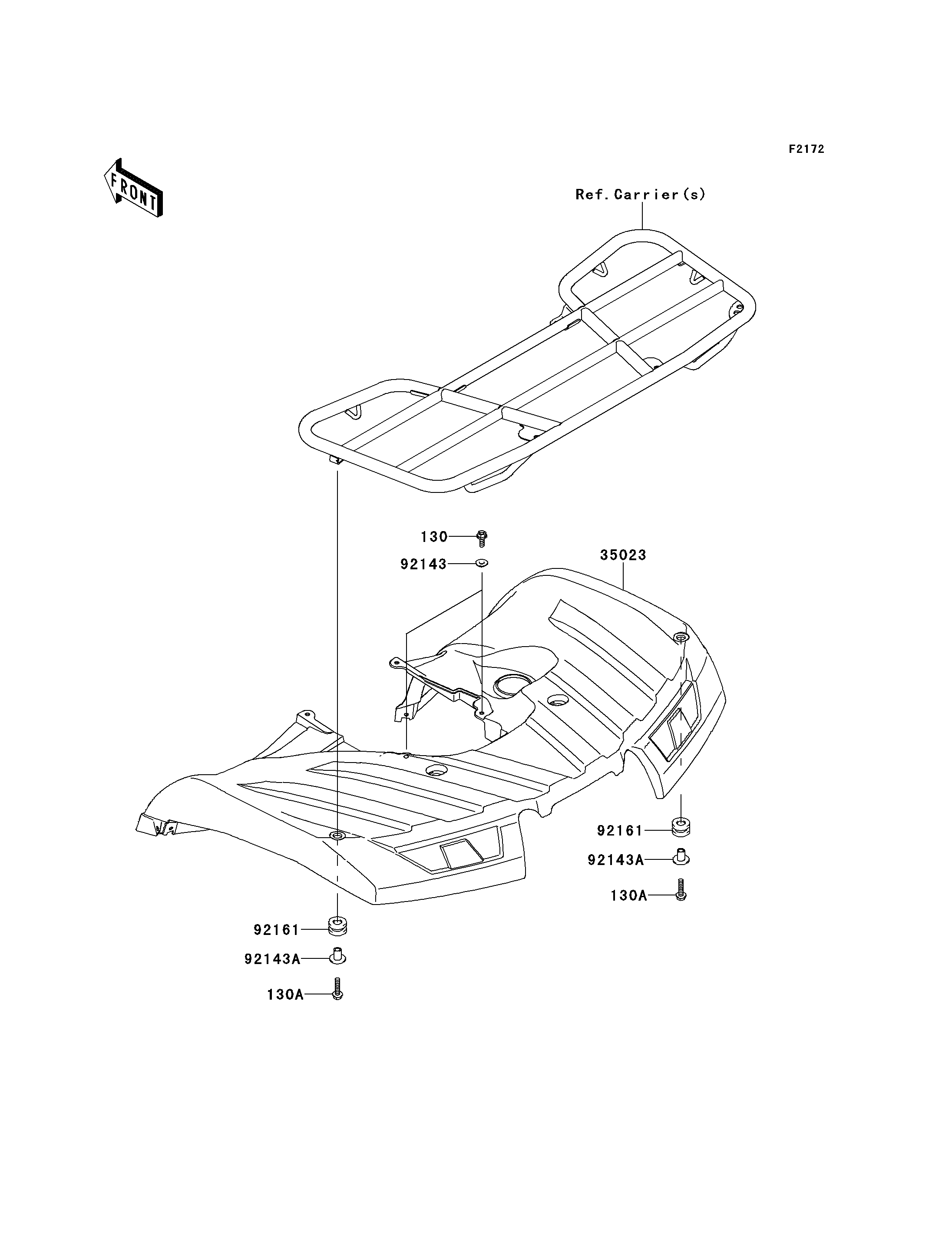
2013 BRUTE FORCE® 750 4x4i EPS - Rear Fender(s)

130
130A
130A
35023
92143
92143A
92143A
92161
92161
Part Item Information
ITEM NAME REF # PART NUMBER QUANTITY DESTINATION REMARKS
BOLT-FLANGED,6X16 130 130BA0616 2
BOLT-FLANGED,6X25 130A 130BA0625 2
FENDER-REAR,CAMOUFLAGE 35023 35023-0313-16P 1
COLLAR 92143 92143-1087 2
COLLAR 92143A 92143-1960 2
DAMPER 92161 92161-0106 2