Skip to main content

Parts Diagrams

customer service agent speaking with a customer

Welcome, Kawasaki owners. Access the information and tools you need to get the most out of your vehicle.

Welcome, Kawasaki owners. Access the information and tools you need to get the most out of your vehicle.

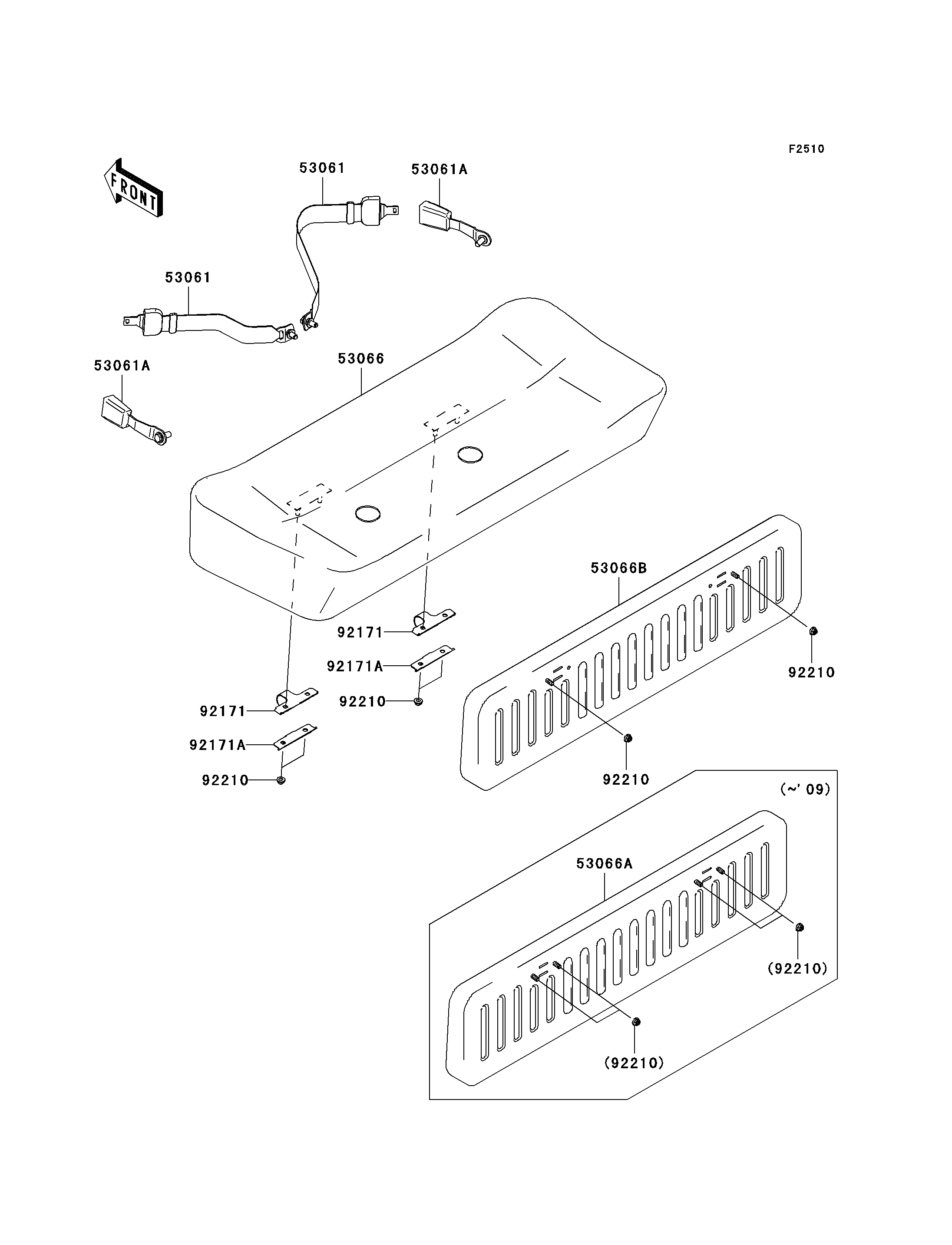
53061
53061
53061A
53061A
53066
53066A
92171
92171
92171A
92171A
92210
92210
92210
92210
Part Item Information
ITEM NAME REF # PART NUMBER QUANTITY DESTINATION REMARKS
BELT-SEAT,CATCH PLATE 53061 53061-1013 2
BELT-SEAT,BUCKLE 53061A 53061-1014 2
SEAT-ASSY,CUSHION,GRAY 53066 53066-0115-12H 1
SEAT-ASSY,BACK,GRAY 53066A 53066-0116-12H 1
CLAMP 92171 92171-0441 2
CLAMP 92171A 92171-0442 2
NUT,FLANGED,LOCK,8MM 92210 92210-0005 8