Skip to main content

Parts Diagrams

customer service agent speaking with a customer

Welcome, Kawasaki owners. Access the information and tools you need to get the most out of your vehicle.

Welcome, Kawasaki owners. Access the information and tools you need to get the most out of your vehicle.

130
130
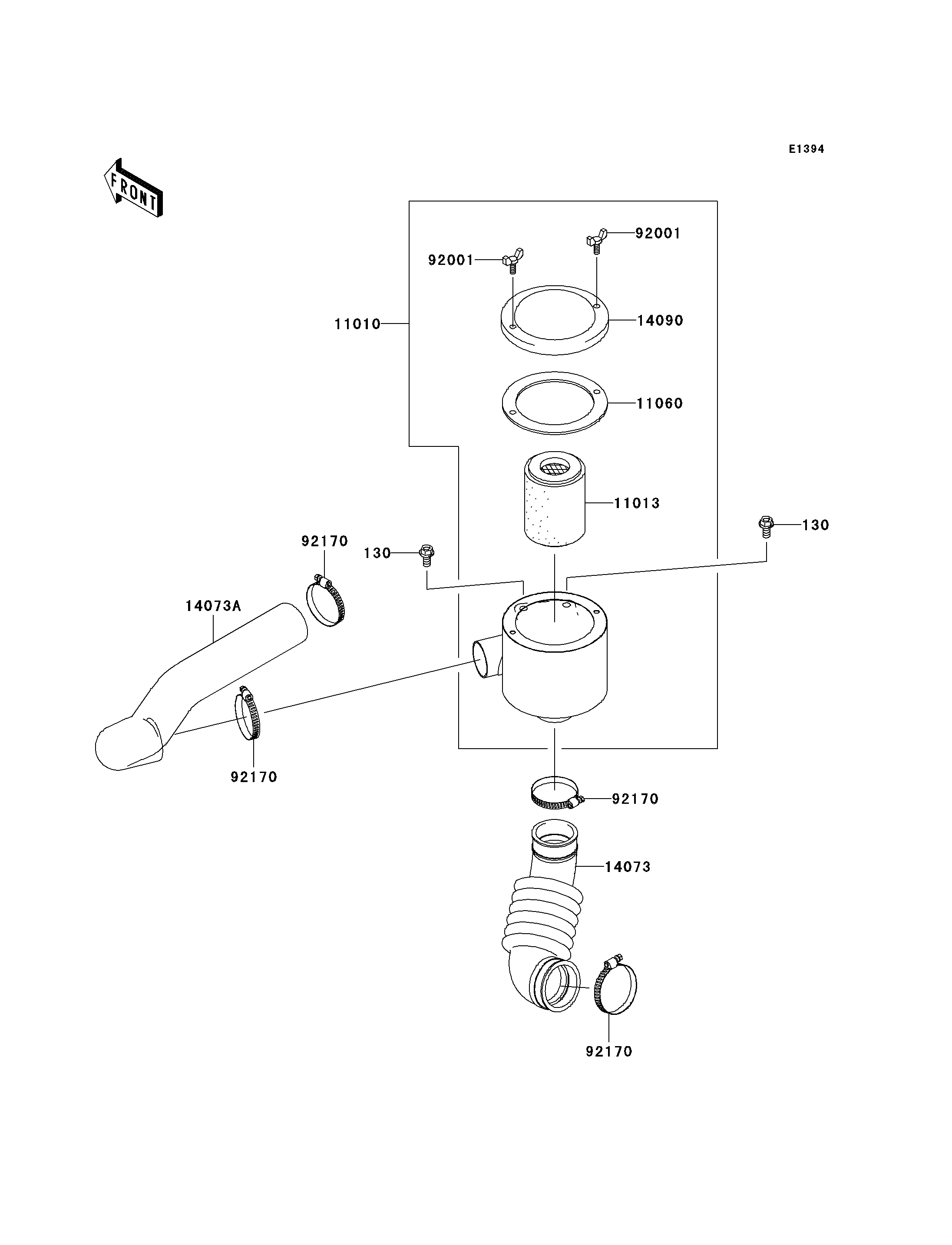
11010
11013
11060
14073
14073A
14090
92001
92001
92170
92170
92170
92170
Part Item Information
ITEM NAME REF # PART NUMBER QUANTITY DESTINATION REMARKS
BOLT-FLANGED,8X16 130 130J0816 2
FILTER-ASSY-AIR 11010 11010-0055 1
ELEMENT-AIR FILTER 11013 11013-1263 1
GASKET,AIR FILTER CASE 11060 11060-1975 1
DUCT,AIR FILTER-CASE 14073 14073-0061 1
DUCT,BAR-AIR FILTER 14073A 14073-0080 1
COVER,AIR FILTER 14090 14090-1766 1
BOLT,WING,6X15 92001 92001-1703 2
CLAMP 92170 92170-1674 4