Skip to main content

Parts Diagrams

customer service agent speaking with a customer

Welcome, Kawasaki owners. Access the information and tools you need to get the most out of your vehicle.

Welcome, Kawasaki owners. Access the information and tools you need to get the most out of your vehicle.

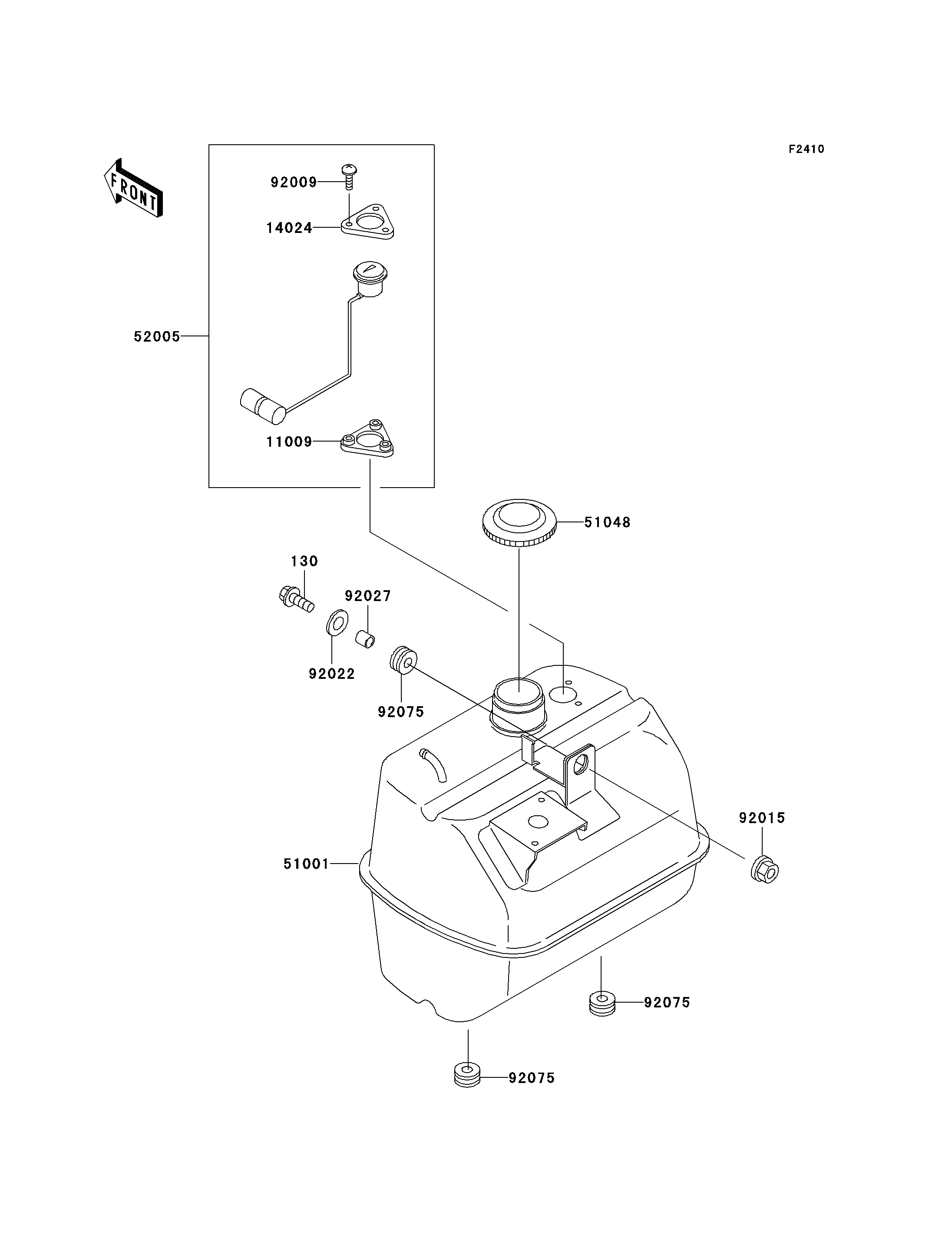
130
11009
14024
51001
51048
52005
92009
92015
92022
92027
92075
92075
92075
Part Item Information
ITEM NAME REF # PART NUMBER QUANTITY DESTINATION REMARKS
BOLT-FLANGED,8X30 130 130D0830 1
GASKET,FUEL GAUGE 11009 11009-1755 1
COVER,FUEL GAUGE 14024 14024-1697 1
TANK-COMP-FUEL 51001 51001-1465 1
CAP-ASSY-TANK,FUEL 51048 51048-1103 1
GAUGE,FUEL 52005 52005-1098 1
SCREW,6X14 92009 92009-1541 3
NUT,LOCK,FLANGED,8MM 92015 92015-1397 1
WASHER,9X28X2.3 92022 92022-1632 1
COLLAR,8.8X12X15.5 92027 92027-1081 1
DAMPER 92075 92075-1736 3