Skip to main content

Parts Diagrams

customer service agent speaking with a customer

Welcome, Kawasaki owners. Access the information and tools you need to get the most out of your vehicle.

Welcome, Kawasaki owners. Access the information and tools you need to get the most out of your vehicle.

Part Item Information
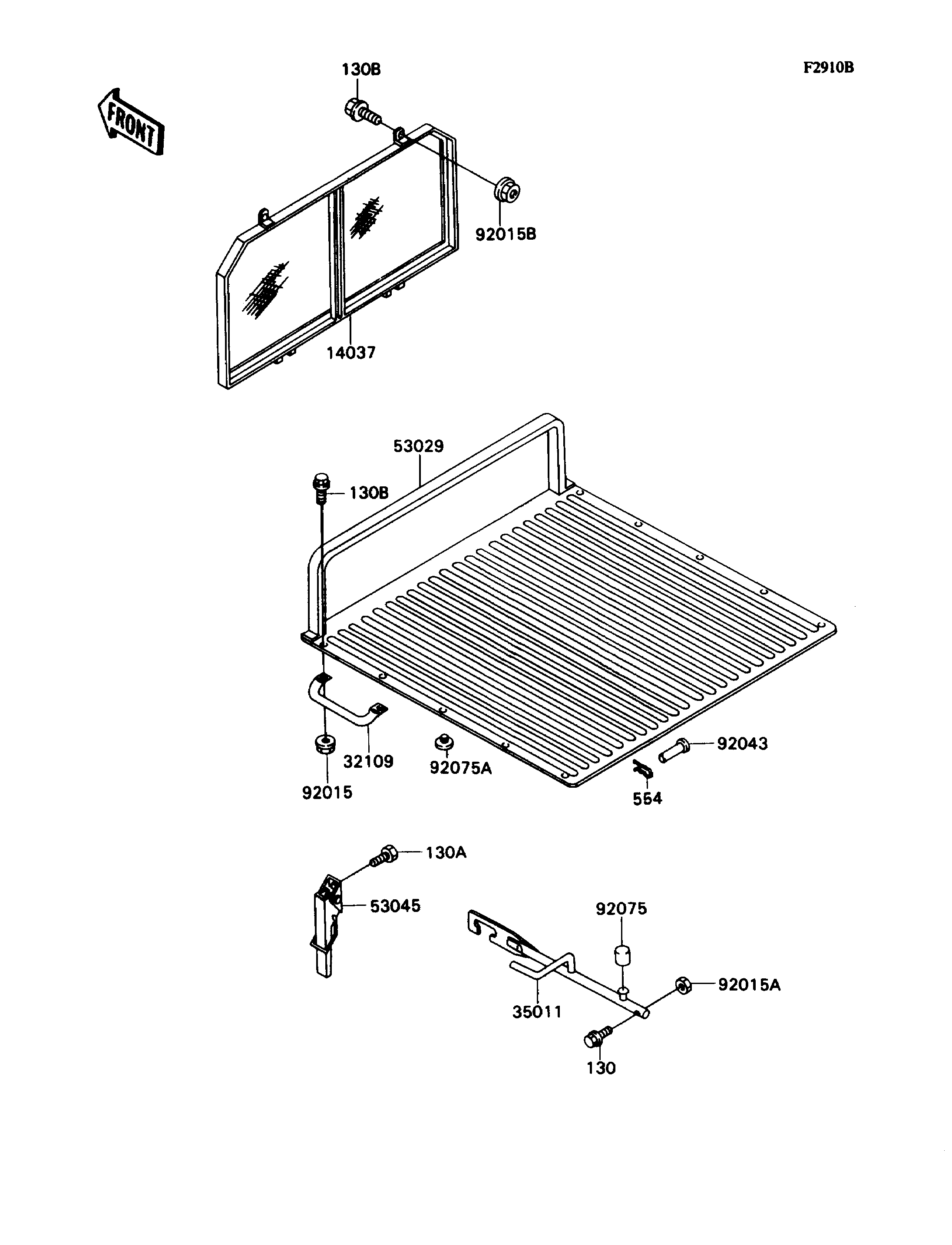
ITEM NAME REF # PART NUMBER QUANTITY DESTINATION REMARKS
SCREEN,REAR GUARD 14037 14037-1119 1
GRIP-FRAME,F.RED 32109 32109-1196-B1 2
STAY,CARRIER STOPPER 35011 35011-1535 1
CARRIER,F.RED 53029 53029-1125-B1 1
HOOK-ASSY 53045 53045-1058 2
NUT,FLANGED,8MM 92015 92015-1408 4
NUT,LOCK,FLANGED,6MM 92015A 92015-1675 1
NUT,FLANGED,LOCK,8MM 92015B 92015-1696 6
PIN,12X65 92043 92043-1428 2
DAMPER 92075 92075-1817 1
DAMPER 92075A 92075-1859 8
BOLT-FLANGED,6X30 130 130H0630 1
BOLT-FLANGED,6X14,BLACK 130A 130J0614 4
BOLT-FLANGED,8X20 130B 130J0820 10
PIN-SNAP,12MM 554 554A1200 2