Skip to main content

Parts Diagrams

customer service agent speaking with a customer

Welcome, Kawasaki owners. Access the information and tools you need to get the most out of your vehicle.

Welcome, Kawasaki owners. Access the information and tools you need to get the most out of your vehicle.

Part Item Information
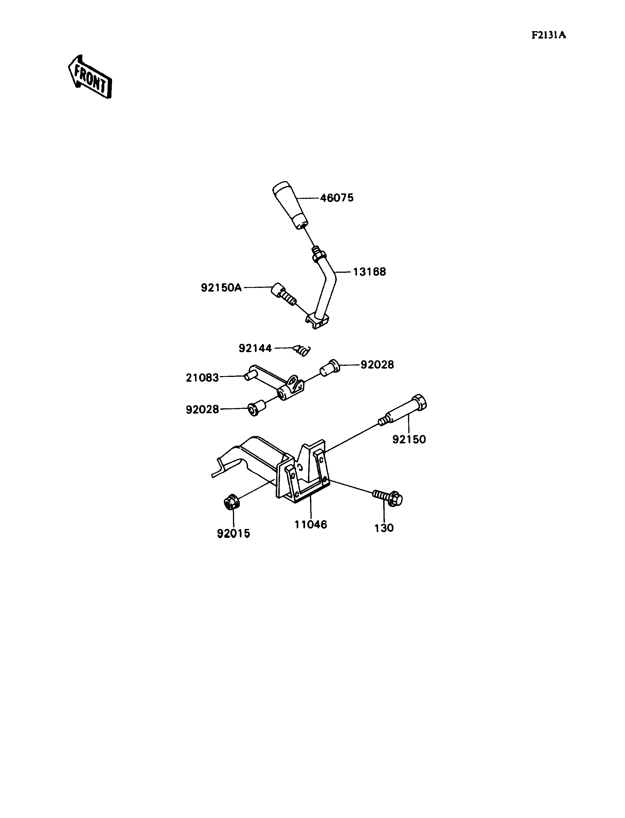
ITEM NAME REF # PART NUMBER QUANTITY DESTINATION REMARKS
BRACKET,SHIFT LEVER 11046 11046-1677 1
LEVER,SHIFT 13168 13168-1440 1
ARM,SHIFT LEVER 21083 21083-1085 1
GRIP,SHIFT LEVER 46075 46075-1075 1
NUT,LOCK,FLANGED,6MM 92015 92015-1675 2
BUSHING 92028 92028-1507 2
SPRING 92144 92144-1175 1
BOLT 92150 92002-1984 1
BOLT,SOCKET,6X35 92150A 92150-1393 1
BOLT-FLANGED,6X12 130 130C0612 4