Skip to main content

Parts Diagrams

customer service agent speaking with a customer

Welcome, Kawasaki owners. Access the information and tools you need to get the most out of your vehicle.

Welcome, Kawasaki owners. Access the information and tools you need to get the most out of your vehicle.

Part Item Information
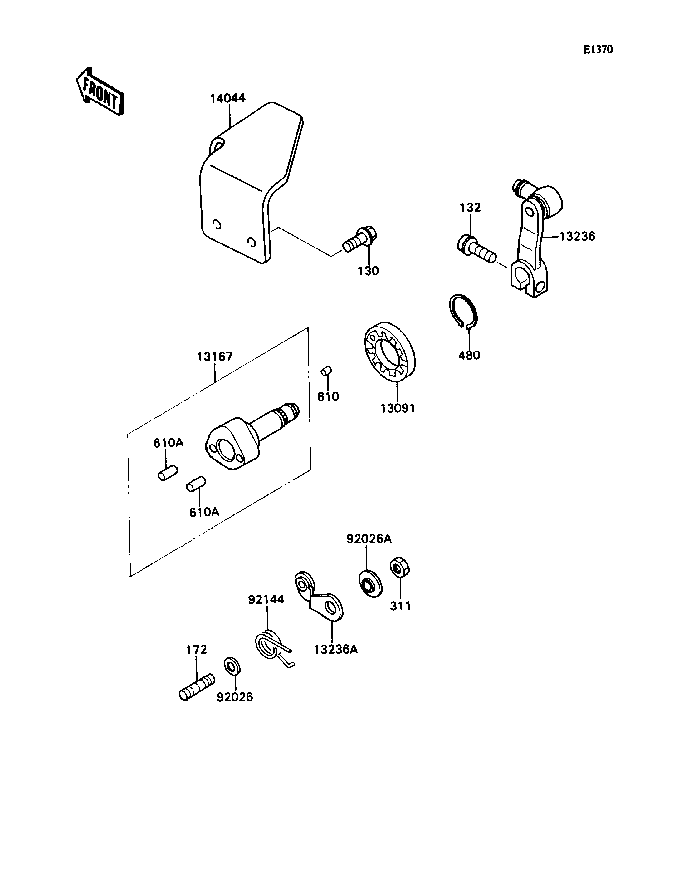
ITEM NAME REF # PART NUMBER QUANTITY DESTINATION REMARKS
HOLDER,CHANGE LEVER 13091 13091-1540 1
SHAFT-CHANGE 13167 13167-1078 1
LEVER-COMP 13236 13236-1198 1
LEVER-COMP,POSITION 13236A 13236-1200 1
HOLDER-CABLE 14044 14044-1064 1
SPACER,6.3X12X1.0 92026 92026-094 1
SPACER 92026A 92026-1217 1
SPRING,POSITION RETURN 92144 92144-1409 1
BOLT-FLANGED 130 130D0616 2
BOLT-FLANGED-SMALL 132 132J0620 1
BOLT-STUD,6X14 172 172G0614 1
NUT-HEX,6MM 311 311G0600 1
CIRCLIP-TYPE-C,22MM 480 480J2200 1
ROLLER,4X4 610 610A0404 1
ROLLER,6X12 610A 610A0612 2