main content of page
Parts Diagrams
| OWNER CENTER | 
 
        Welcome, Kawasaki owners. Access the information and tools you need to get the most out of your vehicle.
| OWNER CENTER | 
Welcome, Kawasaki owners. Access the information and tools you need to get the most out of your vehicle.
| Parts Diagrams | 
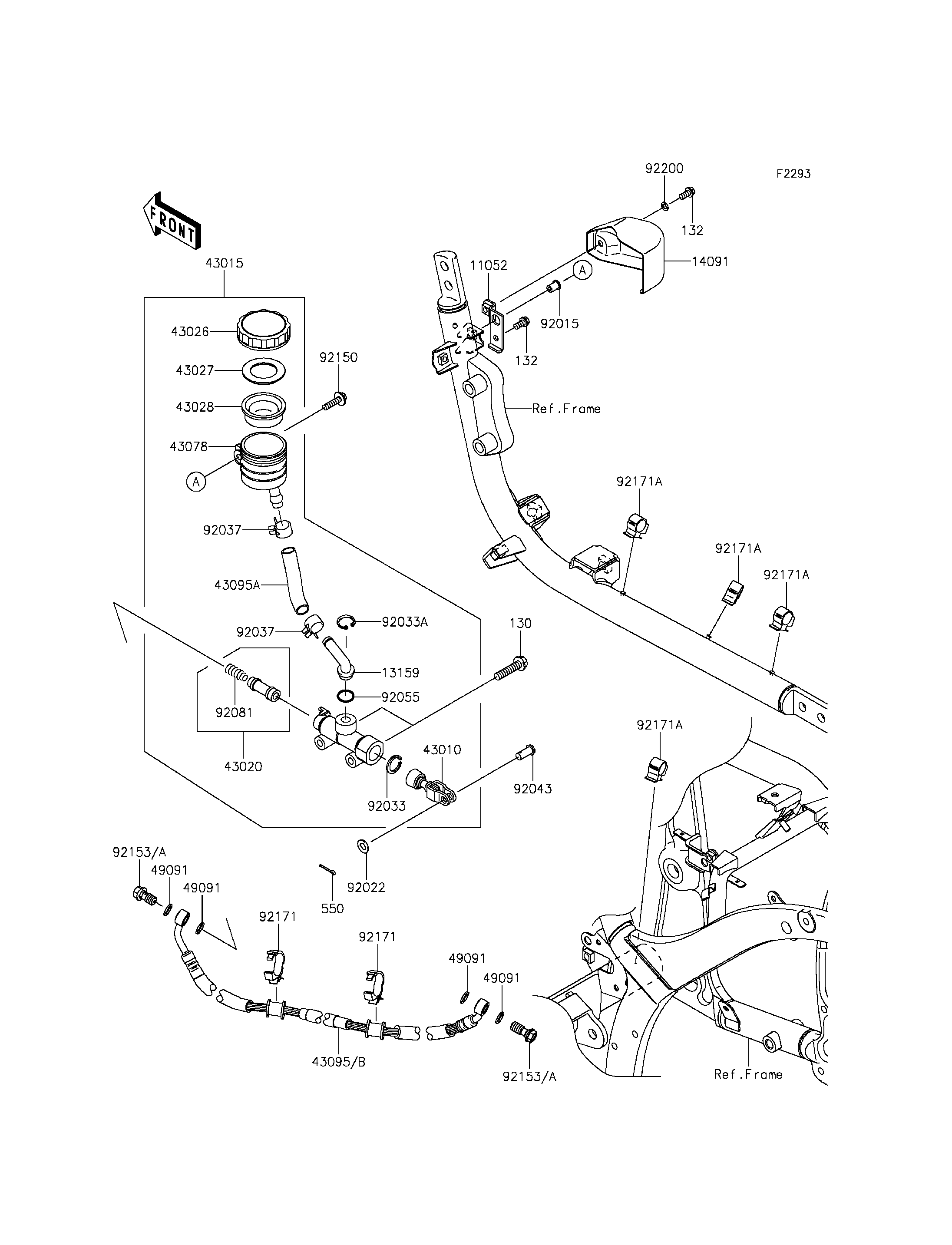
2011 VULCAN® 900 CLASSIC LT - Rear Master Cylinder
                                            130
                                        
                                    
                                            132
                                        
                                    
                                            132
                                        
                                    
                                            550
                                        
                                    
                                            11052
                                        
                                    
                                            13159
                                        
                                    
                                            14091
                                        
                                    
                                            43010
                                        
                                    
                                            43015
                                        
                                    
                                            43020
                                        
                                    
                                            43026
                                        
                                    
                                            43027
                                        
                                    
                                            43028
                                        
                                    
                                            43078
                                        
                                    
                                            43095
                                        
                                    
                                            43095A
                                        
                                    
                                            49091
                                        
                                    
                                            49091
                                        
                                    
                                            49091
                                        
                                    
                                            49091
                                        
                                    
                                            92015
                                        
                                    
                                            92022
                                        
                                    
                                            92033
                                        
                                    
                                            92033A
                                        
                                    
                                            92037
                                        
                                    
                                            92037
                                        
                                    
                                            92043
                                        
                                    
                                            92055
                                        
                                    
                                            92081
                                        
                                    
                                            92150
                                        
                                    
                                            92153
                                        
                                    
                                            92153
                                        
                                    
                                            92171
                                        
                                    
                                            92171
                                        
                                    
                                            92171A
                                        
                                    
                                            92171A
                                        
                                    
                                            92171A
                                        
                                    
                                            92171A
                                        
                                    
                                            92200
                                        
                                    | ITEM NAME | REF # | PART NUMBER | QUANTITY | DESTINATION | REMARKS | 
|---|---|---|---|---|---|
| BOLT-FLANGED,8X35 | 130 | 130BB0835 | 2 | ||
| BOLT-FLANGED-SMALL,6X12 | 132 | 132BB0612 | 2 | ||
| PIN-COTTER,2.0X15 | 550 | 550AA2015 | 1 | ||
| BRACKET,RESERVOIR TANK | 11052 | 11052-1305 | 1 | ||
| CONNECTOR,RR MASTER CYLINDER | 13159 | 13159-1052 | 1 | ||
| COVER,RESERVOIR TANK,F.S.BLACK | 14091 | 14091-0536-18R | 1 | ||
| ROD-ASSY-BRAKE | 43010 | 43010-1062 | 1 | ||
| CYLINDER-ASSY-MASTER,RR | 43015 | 43015-0081 | 1 | ||
| PISTON-COMP-BRAKE | 43020 | 43020-1057 | 1 | ||
| CAP-BRAKE | 43026 | 43026-1051 | 1 | ||
| PLATE-DIAPHRAGM | 43027 | 43027-1051 | 1 | ||
| DIAPHRAGM,MASTER CYLINDER | 43028 | 43028-1057 | 1 | ||
| RESERVOIR,RR MASTER CYLINDER | 43078 | 43078-1178 | 1 | ||
| HOSE-BRAKE,RR | 43095 | 43095-0290 | 1 | ||
| HOSE-BRAKE,RR MASTER CYLINDER | 43095A | 43095-0306 | 1 | ||
| WASHER-SEAL,10.1X14.5X1.5 | 49091 | 49091-0001 | 4 | ||
| NUT | 92015 | 92015-1700 | 1 | ||
| WASHER,8.5X16X1.2 | 92022 | 92022-1582 | 1 | ||
| RING-SNAP,20.9X24.6X1.2 | 92033 | 92033-0079 | 1 | ||
| RING-SNAP,20.5MM | 92033A | 92033-1186 | 1 | ||
| CLAMP,BRAKE HOSE | 92037 | 92037-1547 | 2 | ||
| PIN,8X16 | 92043 | 92043-1013 | 1 | ||
| RING-O,14.8X2.4 | 92055 | 92055-0741 | 1 | ||
| SPRING,MASTER CYLINDER | 92081 | 92081-1737 | 1 | ||
| BOLT,6X25 | 92150 | 92150-1829 | 1 | ||
| BOLT,OIL,L=23 | 92153 | 92153-0627 | 2 | ||
| CLAMP | 92171 | 92171-0782 | 2 | ||
| CLAMP,DIA=15 | 92171A | 92171-1424 | 4 | ||
| WASHER,6.2X10X1 | 92200 | 92200-1465 | 1 | 
| BOLT-FLANGED,8X35 | |
| REF # | 130 | 
|---|---|
| PART NUMBER | |
| QUANTITY | 2 | 
| DESTINATION | |
| REMARKS | |
| BOLT-FLANGED-SMALL,6X12 | |
| REF # | 132 | 
|---|---|
| PART NUMBER | |
| QUANTITY | 2 | 
| DESTINATION | |
| REMARKS | |
| PIN-COTTER,2.0X15 | |
| REF # | 550 | 
|---|---|
| PART NUMBER | |
| QUANTITY | 1 | 
| DESTINATION | |
| REMARKS | |
| BRACKET,RESERVOIR TANK | |
| REF # | 11052 | 
|---|---|
| PART NUMBER | |
| QUANTITY | 1 | 
| DESTINATION | |
| REMARKS | |
| CONNECTOR,RR MASTER CYLINDER | |
| REF # | 13159 | 
|---|---|
| PART NUMBER | |
| QUANTITY | 1 | 
| DESTINATION | |
| REMARKS | |
| COVER,RESERVOIR TANK,F.S.BLACK | |
| REF # | 14091 | 
|---|---|
| PART NUMBER | |
| QUANTITY | 1 | 
| DESTINATION | |
| REMARKS | |
| ROD-ASSY-BRAKE | |
| REF # | 43010 | 
|---|---|
| PART NUMBER | |
| QUANTITY | 1 | 
| DESTINATION | |
| REMARKS | |
| CYLINDER-ASSY-MASTER,RR | |
| REF # | 43015 | 
|---|---|
| PART NUMBER | |
| QUANTITY | 1 | 
| DESTINATION | |
| REMARKS | |
| PISTON-COMP-BRAKE | |
| REF # | 43020 | 
|---|---|
| PART NUMBER | |
| QUANTITY | 1 | 
| DESTINATION | |
| REMARKS | |
| CAP-BRAKE | |
| REF # | 43026 | 
|---|---|
| PART NUMBER | |
| QUANTITY | 1 | 
| DESTINATION | |
| REMARKS | |
| PLATE-DIAPHRAGM | |
| REF # | 43027 | 
|---|---|
| PART NUMBER | |
| QUANTITY | 1 | 
| DESTINATION | |
| REMARKS | |
| DIAPHRAGM,MASTER CYLINDER | |
| REF # | 43028 | 
|---|---|
| PART NUMBER | |
| QUANTITY | 1 | 
| DESTINATION | |
| REMARKS | |
| RESERVOIR,RR MASTER CYLINDER | |
| REF # | 43078 | 
|---|---|
| PART NUMBER | |
| QUANTITY | 1 | 
| DESTINATION | |
| REMARKS | |
| HOSE-BRAKE,RR | |
| REF # | 43095 | 
|---|---|
| PART NUMBER | |
| QUANTITY | 1 | 
| DESTINATION | |
| REMARKS | |
| HOSE-BRAKE,RR MASTER CYLINDER | |
| REF # | 43095A | 
|---|---|
| PART NUMBER | |
| QUANTITY | 1 | 
| DESTINATION | |
| REMARKS | |
| WASHER-SEAL,10.1X14.5X1.5 | |
| REF # | 49091 | 
|---|---|
| PART NUMBER | |
| QUANTITY | 4 | 
| DESTINATION | |
| REMARKS | |
| NUT | |
| REF # | 92015 | 
|---|---|
| PART NUMBER | |
| QUANTITY | 1 | 
| DESTINATION | |
| REMARKS | |
| WASHER,8.5X16X1.2 | |
| REF # | 92022 | 
|---|---|
| PART NUMBER | |
| QUANTITY | 1 | 
| DESTINATION | |
| REMARKS | |
| RING-SNAP,20.9X24.6X1.2 | |
| REF # | 92033 | 
|---|---|
| PART NUMBER | |
| QUANTITY | 1 | 
| DESTINATION | |
| REMARKS | |
| RING-SNAP,20.5MM | |
| REF # | 92033A | 
|---|---|
| PART NUMBER | |
| QUANTITY | 1 | 
| DESTINATION | |
| REMARKS | |
| CLAMP,BRAKE HOSE | |
| REF # | 92037 | 
|---|---|
| PART NUMBER | |
| QUANTITY | 2 | 
| DESTINATION | |
| REMARKS | |
| PIN,8X16 | |
| REF # | 92043 | 
|---|---|
| PART NUMBER | |
| QUANTITY | 1 | 
| DESTINATION | |
| REMARKS | |
| RING-O,14.8X2.4 | |
| REF # | 92055 | 
|---|---|
| PART NUMBER | |
| QUANTITY | 1 | 
| DESTINATION | |
| REMARKS | |
| SPRING,MASTER CYLINDER | |
| REF # | 92081 | 
|---|---|
| PART NUMBER | |
| QUANTITY | 1 | 
| DESTINATION | |
| REMARKS | |
| BOLT,6X25 | |
| REF # | 92150 | 
|---|---|
| PART NUMBER | |
| QUANTITY | 1 | 
| DESTINATION | |
| REMARKS | |
| BOLT,OIL,L=23 | |
| REF # | 92153 | 
|---|---|
| PART NUMBER | |
| QUANTITY | 2 | 
| DESTINATION | |
| REMARKS | |
| CLAMP | |
| REF # | 92171 | 
|---|---|
| PART NUMBER | |
| QUANTITY | 2 | 
| DESTINATION | |
| REMARKS | |
| CLAMP,DIA=15 | |
| REF # | 92171A | 
|---|---|
| PART NUMBER | |
| QUANTITY | 4 | 
| DESTINATION | |
| REMARKS | |
| WASHER,6.2X10X1 | |
| REF # | 92200 | 
|---|---|
| PART NUMBER | |
| QUANTITY | 1 | 
| DESTINATION | |
| REMARKS | |
 
                             
                             
                             
                             
                             
                            