main content of page
Parts Diagrams
OWNER CENTER |
Welcome, Kawasaki owners. Access the information and tools you need to get the most out of your vehicle.
OWNER CENTER |
Welcome, Kawasaki owners. Access the information and tools you need to get the most out of your vehicle.
Parts Diagrams |
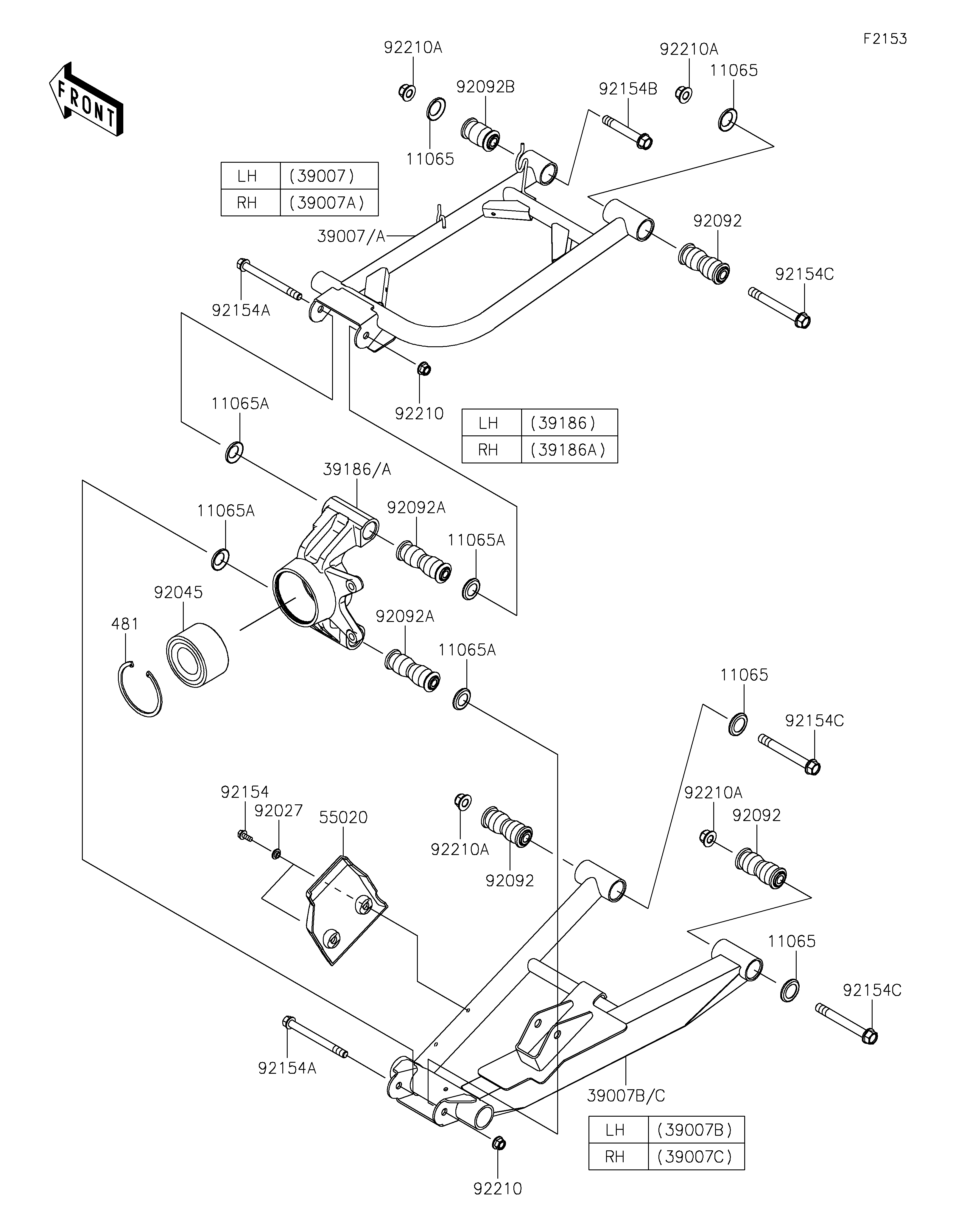
2026 RIDGE CREW Platinum Ranch Edition HVAC - Rear Suspension
11065
11065
11065
11065
11065A
11065A
11065A
11065A
39007
39007A
39007B
39007C
39186
39186A
55020
92027
92045
92092
92092
92092
92092A
92092A
92092B
92154
92154A
92154A
92154B
92154C
92154C
92154C
92210
92210
92210A
92210A
92210A
92210A
481
| ITEM NAME | REF # | PART NUMBER | QUANTITY | DESTINATION | REMARKS |
|---|---|---|---|---|---|
| CAP,ARM | 11065 | 11065-0838 | 8 | ||
| CAP | 11065A | 11065-0849 | 8 | ||
| ARM-SUSP,RR,UPP,LH,BLACK | 39007 | 39007-0491-10 | 1 | ||
| ARM-SUSP,RR,UPP,RH,BLACK | 39007A | 39007-0492-10 | 1 | ||
| ARM-SUSP,RR,LWR,LH,BLACK | 39007B | 39007-0493-10 | 1 | ||
| ARM-SUSP,RR,LWR,RH,BLACK | 39007C | 39007-0494-10 | 1 | ||
| KNUCKLE,RR,LH | 39186 | 39186-0337 | 1 | ||
| KNUCKLE,RR,RH | 39186A | 39186-0338 | 1 | ||
| GUARD,RR CVJ | 55020 | 55020-0931 | 2 | ||
| COLLAR,L=4.6 | 92027 | 92027-1168 | 4 | ||
| BEARING-BALL,42X80X45 | 92045 | 92045-0960 | 2 | ||
| BUSHING-RUBBER,12X20X78 | 92092 | 92092-0028 | 6 | ||
| BUSHING-RUBBER,10.1X17X88 | 92092A | 92092-0029 | 4 | ||
| BUSHING-RUBBER | 92092B | 92092-0555 | 2 | ||
| BOLT,6X15.6 | 92154 | 92154-1250 | 4 | ||
| BOLT,FLANGED,10X110 | 92154A | 92154-1353 | 4 | ||
| BOLT,FLANGED,12X76.5 | 92154B | 92154-7079 | 2 | ||
| BOLT,FLANGED,12X100 | 92154C | 92154-7081 | 6 | ||
| NUT,LOCK,FLANGED,10MM | 92210 | 92210-1081 | 4 | ||
| NUT,LOCK,FLANGED,12MM | 92210A | 92210-1931 | 8 | ||
| CIRCLIP-TYPE-C,80MM | 481 | 481J8000 | 2 |
| CAP,ARM | |
| REF # | 11065 |
|---|---|
| PART NUMBER | |
| QUANTITY | 8 |
| DESTINATION | |
| REMARKS | |
| CAP | |
| REF # | 11065A |
|---|---|
| PART NUMBER | |
| QUANTITY | 8 |
| DESTINATION | |
| REMARKS | |
| ARM-SUSP,RR,UPP,LH,BLACK | |
| REF # | 39007 |
|---|---|
| PART NUMBER | |
| QUANTITY | 1 |
| DESTINATION | |
| REMARKS | |
| ARM-SUSP,RR,UPP,RH,BLACK | |
| REF # | 39007A |
|---|---|
| PART NUMBER | |
| QUANTITY | 1 |
| DESTINATION | |
| REMARKS | |
| ARM-SUSP,RR,LWR,LH,BLACK | |
| REF # | 39007B |
|---|---|
| PART NUMBER | |
| QUANTITY | 1 |
| DESTINATION | |
| REMARKS | |
| ARM-SUSP,RR,LWR,RH,BLACK | |
| REF # | 39007C |
|---|---|
| PART NUMBER | |
| QUANTITY | 1 |
| DESTINATION | |
| REMARKS | |
| KNUCKLE,RR,LH | |
| REF # | 39186 |
|---|---|
| PART NUMBER | |
| QUANTITY | 1 |
| DESTINATION | |
| REMARKS | |
| KNUCKLE,RR,RH | |
| REF # | 39186A |
|---|---|
| PART NUMBER | |
| QUANTITY | 1 |
| DESTINATION | |
| REMARKS | |
| GUARD,RR CVJ | |
| REF # | 55020 |
|---|---|
| PART NUMBER | |
| QUANTITY | 2 |
| DESTINATION | |
| REMARKS | |
| COLLAR,L=4.6 | |
| REF # | 92027 |
|---|---|
| PART NUMBER | |
| QUANTITY | 4 |
| DESTINATION | |
| REMARKS | |
| BEARING-BALL,42X80X45 | |
| REF # | 92045 |
|---|---|
| PART NUMBER | |
| QUANTITY | 2 |
| DESTINATION | |
| REMARKS | |
| BUSHING-RUBBER,12X20X78 | |
| REF # | 92092 |
|---|---|
| PART NUMBER | |
| QUANTITY | 6 |
| DESTINATION | |
| REMARKS | |
| BUSHING-RUBBER,10.1X17X88 | |
| REF # | 92092A |
|---|---|
| PART NUMBER | |
| QUANTITY | 4 |
| DESTINATION | |
| REMARKS | |
| BUSHING-RUBBER | |
| REF # | 92092B |
|---|---|
| PART NUMBER | |
| QUANTITY | 2 |
| DESTINATION | |
| REMARKS | |
| BOLT,6X15.6 | |
| REF # | 92154 |
|---|---|
| PART NUMBER | |
| QUANTITY | 4 |
| DESTINATION | |
| REMARKS | |
| BOLT,FLANGED,10X110 | |
| REF # | 92154A |
|---|---|
| PART NUMBER | |
| QUANTITY | 4 |
| DESTINATION | |
| REMARKS | |
| BOLT,FLANGED,12X76.5 | |
| REF # | 92154B |
|---|---|
| PART NUMBER | |
| QUANTITY | 2 |
| DESTINATION | |
| REMARKS | |
| BOLT,FLANGED,12X100 | |
| REF # | 92154C |
|---|---|
| PART NUMBER | |
| QUANTITY | 6 |
| DESTINATION | |
| REMARKS | |
| NUT,LOCK,FLANGED,10MM | |
| REF # | 92210 |
|---|---|
| PART NUMBER | |
| QUANTITY | 4 |
| DESTINATION | |
| REMARKS | |
| NUT,LOCK,FLANGED,12MM | |
| REF # | 92210A |
|---|---|
| PART NUMBER | |
| QUANTITY | 8 |
| DESTINATION | |
| REMARKS | |
| CIRCLIP-TYPE-C,80MM | |
| REF # | 481 |
|---|---|
| PART NUMBER | |
| QUANTITY | 2 |
| DESTINATION | |
| REMARKS | |