main content of page
Parts Diagrams
OWNER CENTER |
Welcome, Kawasaki owners. Access the information and tools you need to get the most out of your vehicle.
OWNER CENTER |
Welcome, Kawasaki owners. Access the information and tools you need to get the most out of your vehicle.
Parts Diagrams |
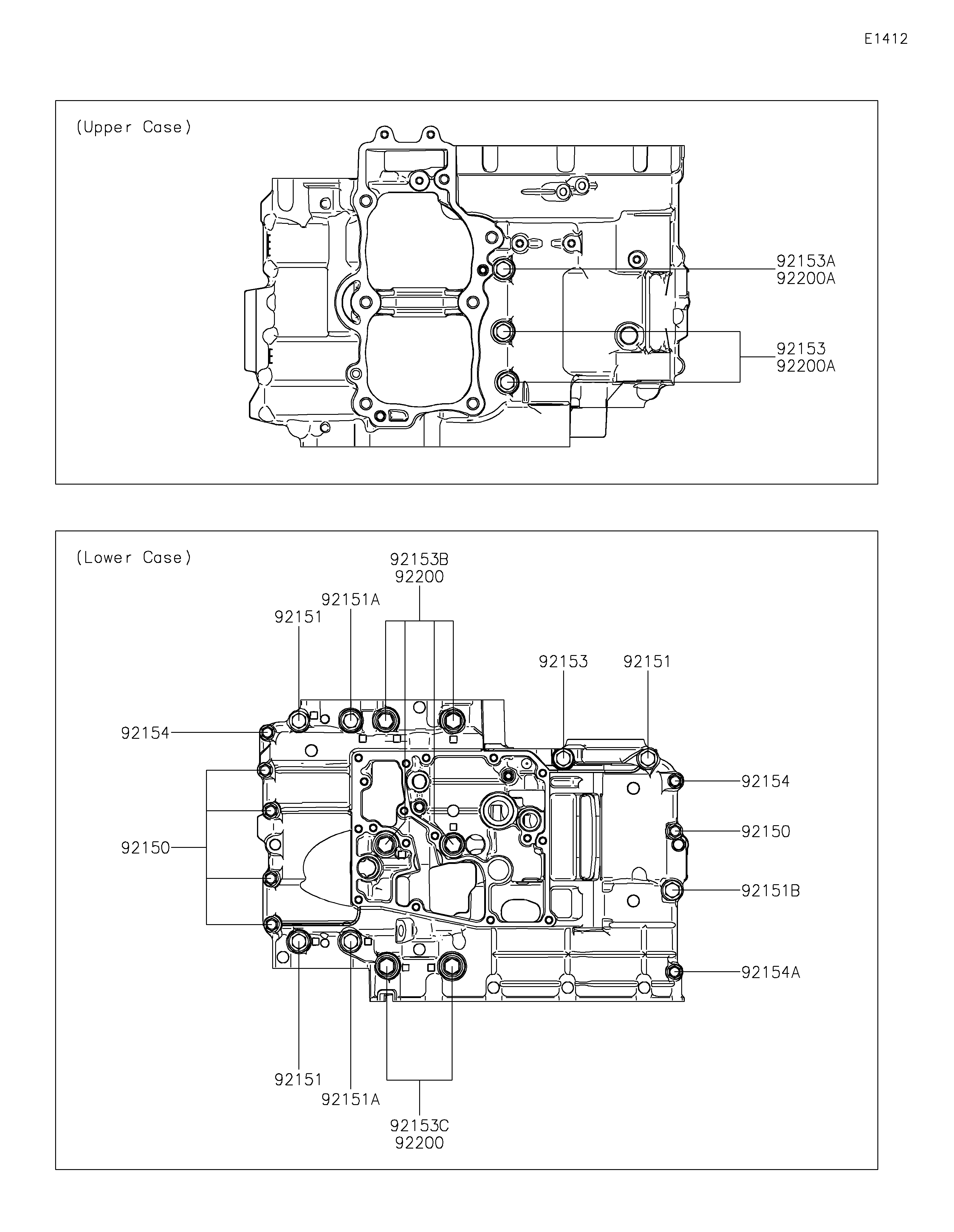
2026 Z650 S ABS - Crankcase Bolt Pattern
92150
92150
92151
92151
92151
92151A
92151A
92151B
92153
92153
92153A
92153B
92153C
92154
92154
92154A
92200
92200
92200A
92200A
| ITEM NAME | REF # | PART NUMBER | QUANTITY | DESTINATION | REMARKS |
|---|---|---|---|---|---|
| BOLT,6X38 | 92150 | 92150-1301 | 5 | ||
| BOLT,8X60 | 92151 | 92151-1461 | 3 | ||
| BOLT,8X73 | 92151A | 92151-1462 | 2 | ||
| BOLT,8X50 | 92151B | 92151-1463 | 1 | ||
| BOLT,FLANGED,8X110 | 92153 | 92153-0959 | 3 | ||
| BOLT,FLANGED,8X120 | 92153A | 92153-0960 | 1 | ||
| BOLT,FLANGED,9X113 | 92153B | 92153-1449 | 4 | ||
| BOLT,FLANGED,9X83 | 92153C | 92153-1450 | 2 | ||
| BOLT,FLANGED,6X45 | 92154 | 92154-0966 | 2 | ||
| BOLT,FLANGED,6X32 | 92154A | 92154-0967 | 1 | ||
| WASHER,9.2X19X2.3 | 92200 | 92200-0115 | 6 | ||
| WASHER,8.5X16X1.2 | 92200A | 92200-1063 | 3 |
| BOLT,6X38 | |
| REF # | 92150 |
|---|---|
| PART NUMBER | |
| QUANTITY | 5 |
| DESTINATION | |
| REMARKS | |
| BOLT,8X60 | |
| REF # | 92151 |
|---|---|
| PART NUMBER | |
| QUANTITY | 3 |
| DESTINATION | |
| REMARKS | |
| BOLT,8X73 | |
| REF # | 92151A |
|---|---|
| PART NUMBER | |
| QUANTITY | 2 |
| DESTINATION | |
| REMARKS | |
| BOLT,8X50 | |
| REF # | 92151B |
|---|---|
| PART NUMBER | |
| QUANTITY | 1 |
| DESTINATION | |
| REMARKS | |
| BOLT,FLANGED,8X110 | |
| REF # | 92153 |
|---|---|
| PART NUMBER | |
| QUANTITY | 3 |
| DESTINATION | |
| REMARKS | |
| BOLT,FLANGED,8X120 | |
| REF # | 92153A |
|---|---|
| PART NUMBER | |
| QUANTITY | 1 |
| DESTINATION | |
| REMARKS | |
| BOLT,FLANGED,9X113 | |
| REF # | 92153B |
|---|---|
| PART NUMBER | |
| QUANTITY | 4 |
| DESTINATION | |
| REMARKS | |
| BOLT,FLANGED,9X83 | |
| REF # | 92153C |
|---|---|
| PART NUMBER | |
| QUANTITY | 2 |
| DESTINATION | |
| REMARKS | |
| BOLT,FLANGED,6X45 | |
| REF # | 92154 |
|---|---|
| PART NUMBER | |
| QUANTITY | 2 |
| DESTINATION | |
| REMARKS | |
| BOLT,FLANGED,6X32 | |
| REF # | 92154A |
|---|---|
| PART NUMBER | |
| QUANTITY | 1 |
| DESTINATION | |
| REMARKS | |
| WASHER,9.2X19X2.3 | |
| REF # | 92200 |
|---|---|
| PART NUMBER | |
| QUANTITY | 6 |
| DESTINATION | |
| REMARKS | |
| WASHER,8.5X16X1.2 | |
| REF # | 92200A |
|---|---|
| PART NUMBER | |
| QUANTITY | 3 |
| DESTINATION | |
| REMARKS | |