main content of page
Parts Diagrams
OWNER CENTER |
Welcome, Kawasaki owners. Access the information and tools you need to get the most out of your vehicle.
OWNER CENTER |
Welcome, Kawasaki owners. Access the information and tools you need to get the most out of your vehicle.
Parts Diagrams |
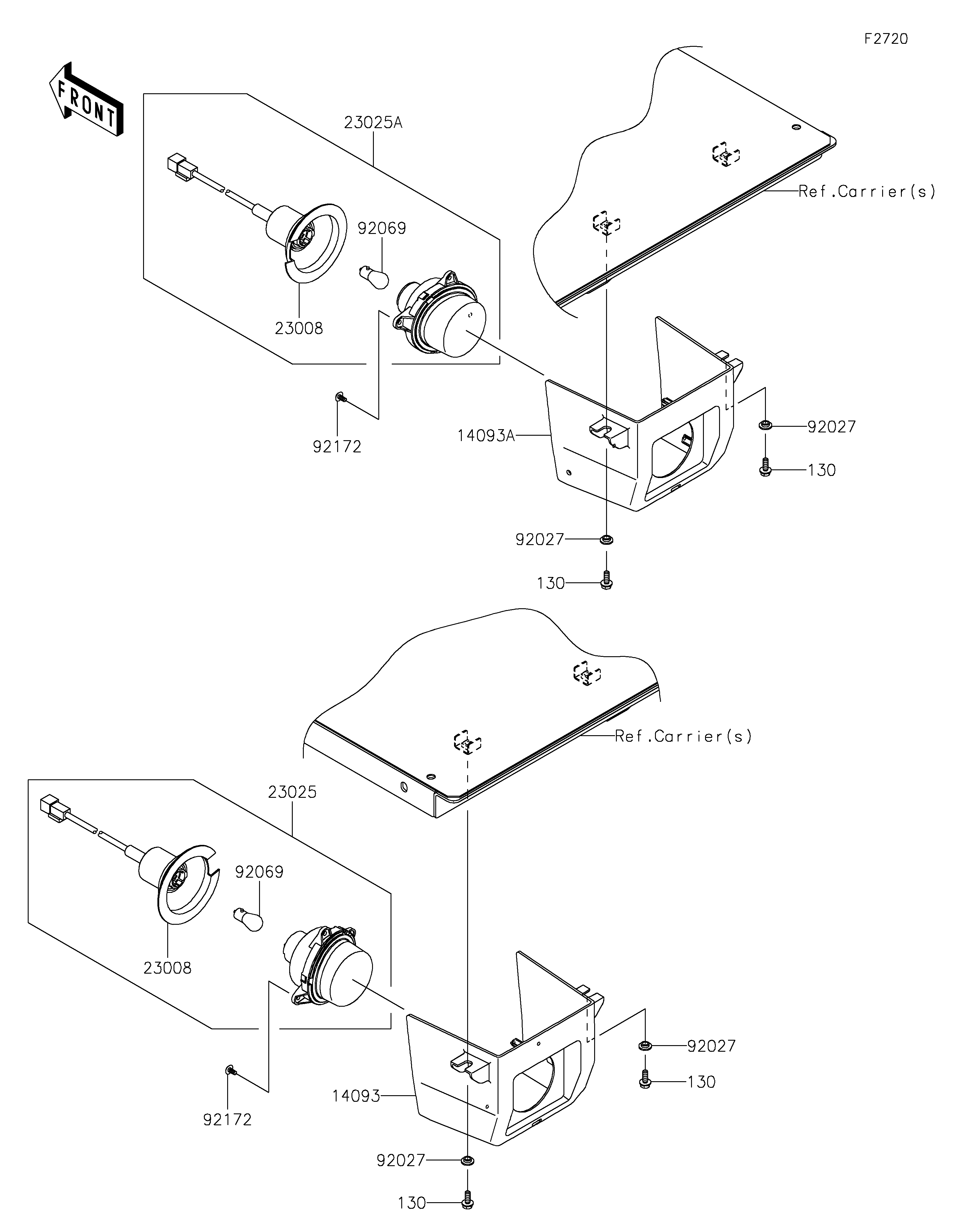
2025 MULE PRO-FXT™ 820 EPS - Taillight(s)
14093
14093A
23008
23008
23025
23025A
92027
92027
92027
92027
92069
92069
92172
92172
130
130
130
130
| ITEM NAME | REF # | PART NUMBER | QUANTITY | DESTINATION | REMARKS |
|---|---|---|---|---|---|
| COVER,TAIL LAMP,LH | 14093 | 14093-0580 | 1 | ||
| COVER,TAIL LAMP,RH | 14093A | 14093-0581 | 1 | ||
| SOCKET-ASSY | 23008 | 23008-0162 | 2 | ||
| LAMP-TAIL,LH | 23025 | 23025-0334 | 1 | ||
| LAMP-TAIL,RH | 23025A | 23025-0341 | 1 | ||
| COLLAR,L=4.6 | 92027 | 92027-1168 | 4 | ||
| BULB,12V 21/5W | 92069 | 92069-0072 | 2 | ||
| SCREW,TAPPING,5X10 | 92172 | 92172-0262 | 6 | ||
| BOLT-FLANGED,6X16 | 130 | 130CA0616 | 4 |
| COVER,TAIL LAMP,LH | |
| REF # | 14093 |
|---|---|
| PART NUMBER | |
| QUANTITY | 1 |
| DESTINATION | |
| REMARKS | |
| COVER,TAIL LAMP,RH | |
| REF # | 14093A |
|---|---|
| PART NUMBER | |
| QUANTITY | 1 |
| DESTINATION | |
| REMARKS | |
| SOCKET-ASSY | |
| REF # | 23008 |
|---|---|
| PART NUMBER | |
| QUANTITY | 2 |
| DESTINATION | |
| REMARKS | |
| LAMP-TAIL,LH | |
| REF # | 23025 |
|---|---|
| PART NUMBER | |
| QUANTITY | 1 |
| DESTINATION | |
| REMARKS | |
| LAMP-TAIL,RH | |
| REF # | 23025A |
|---|---|
| PART NUMBER | |
| QUANTITY | 1 |
| DESTINATION | |
| REMARKS | |
| COLLAR,L=4.6 | |
| REF # | 92027 |
|---|---|
| PART NUMBER | |
| QUANTITY | 4 |
| DESTINATION | |
| REMARKS | |
| BULB,12V 21/5W | |
| REF # | 92069 |
|---|---|
| PART NUMBER | |
| QUANTITY | 2 |
| DESTINATION | |
| REMARKS | |
| SCREW,TAPPING,5X10 | |
| REF # | 92172 |
|---|---|
| PART NUMBER | |
| QUANTITY | 6 |
| DESTINATION | |
| REMARKS | |
| BOLT-FLANGED,6X16 | |
| REF # | 130 |
|---|---|
| PART NUMBER | |
| QUANTITY | 4 |
| DESTINATION | |
| REMARKS | |