main content of page
Parts Diagrams
OWNER CENTER |
Welcome, Kawasaki owners. Access the information and tools you need to get the most out of your vehicle.
OWNER CENTER |
Welcome, Kawasaki owners. Access the information and tools you need to get the most out of your vehicle.
Parts Diagrams |
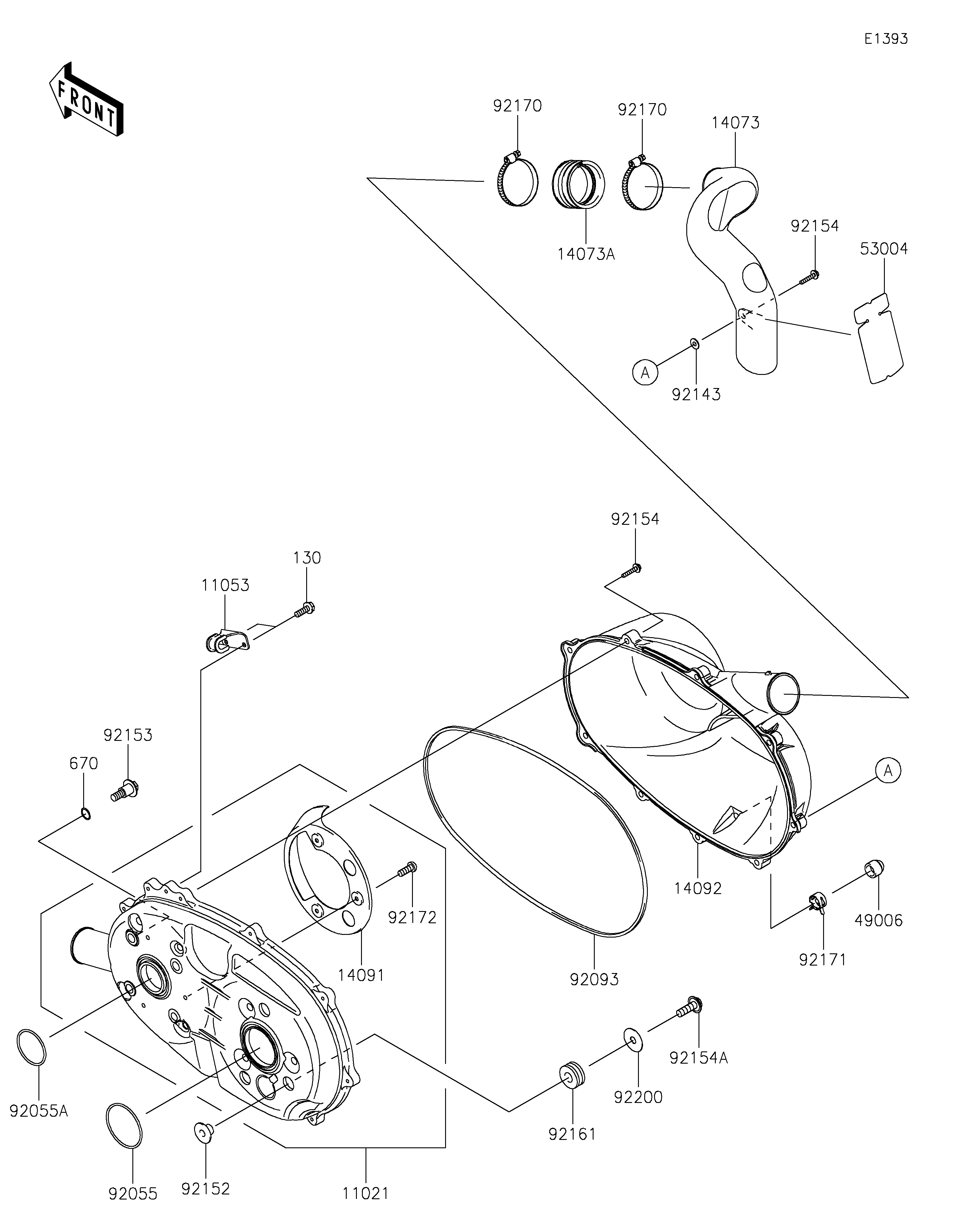
2023 MULE SX™ 4x4 FE - Converter Cover
11021
11053
14073
14073A
14091
14092
49006
53004
92055
92055A
92093
92143
92152
92153
92154
92154
92154A
92161
92170
92170
92171
92172
92200
130
670
| ITEM NAME | REF # | PART NUMBER | QUANTITY | DESTINATION | REMARKS |
|---|---|---|---|---|---|
| CASE-ASSY,BELT CONVERTER | 11021 | 11021-0023 | 1 | ||
| BRACKET | 11053 | 11053-1483 | 1 | ||
| DUCT,EXHAUST | 14073 | 14073-0287 | 1 | ||
| DUCT,JOINT | 14073A | 14073-1775 | 1 | ||
| COVER | 14091 | 14091-0391 | 1 | ||
| COVER,BELT CONVERTER | 14092 | 14092-1007 | 1 | ||
| BOOT,DRAIN | 49006 | 49006-3718 | 1 | ||
| MAT | 53004 | 53004-0051 | 1 | ||
| RING-O,64MM | 92055 | 92055-0748 | 1 | ||
| RING-O,49.4MM | 92055A | 92055-0749 | 1 | ||
| SEAL | 92093 | 92093-0586 | 1 | ||
| COLLAR | 92143 | 92143-1087 | 1 | ||
| COLLAR | 92152 | 92152-0894 | 3 | ||
| BOLT,8X26.5 | 92153 | 92153-0594 | 4 | ||
| BOLT,6X35 | 92154 | 92154-0342 | 9 | ||
| BOLT,FLANGED,8X25 | 92154A | 92154-1068 | 3 | ||
| DAMPER | 92161 | 92161-1484 | 3 | ||
| CLAMP | 92170 | 92170-1764 | 2 | ||
| CLAMP | 92171 | 92171-0329 | 1 | ||
| SCREW,5X14 | 92172 | 92172-0166 | 3 | ||
| WASHER,8.5X29X0.8 | 92200 | 92200-0574 | 3 | ||
| BOLT-FLANGED,6X18 | 130 | 130BA0618 | 2 | ||
| O RING,12MM | 670 | 670D2012 | 4 |
| CASE-ASSY,BELT CONVERTER | |
| REF # | 11021 |
|---|---|
| PART NUMBER | |
| QUANTITY | 1 |
| DESTINATION | |
| REMARKS | |
| BRACKET | |
| REF # | 11053 |
|---|---|
| PART NUMBER | |
| QUANTITY | 1 |
| DESTINATION | |
| REMARKS | |
| DUCT,EXHAUST | |
| REF # | 14073 |
|---|---|
| PART NUMBER | |
| QUANTITY | 1 |
| DESTINATION | |
| REMARKS | |
| DUCT,JOINT | |
| REF # | 14073A |
|---|---|
| PART NUMBER | |
| QUANTITY | 1 |
| DESTINATION | |
| REMARKS | |
| COVER | |
| REF # | 14091 |
|---|---|
| PART NUMBER | |
| QUANTITY | 1 |
| DESTINATION | |
| REMARKS | |
| COVER,BELT CONVERTER | |
| REF # | 14092 |
|---|---|
| PART NUMBER | |
| QUANTITY | 1 |
| DESTINATION | |
| REMARKS | |
| BOOT,DRAIN | |
| REF # | 49006 |
|---|---|
| PART NUMBER | |
| QUANTITY | 1 |
| DESTINATION | |
| REMARKS | |
| MAT | |
| REF # | 53004 |
|---|---|
| PART NUMBER | |
| QUANTITY | 1 |
| DESTINATION | |
| REMARKS | |
| RING-O,64MM | |
| REF # | 92055 |
|---|---|
| PART NUMBER | |
| QUANTITY | 1 |
| DESTINATION | |
| REMARKS | |
| RING-O,49.4MM | |
| REF # | 92055A |
|---|---|
| PART NUMBER | |
| QUANTITY | 1 |
| DESTINATION | |
| REMARKS | |
| SEAL | |
| REF # | 92093 |
|---|---|
| PART NUMBER | |
| QUANTITY | 1 |
| DESTINATION | |
| REMARKS | |
| COLLAR | |
| REF # | 92143 |
|---|---|
| PART NUMBER | |
| QUANTITY | 1 |
| DESTINATION | |
| REMARKS | |
| COLLAR | |
| REF # | 92152 |
|---|---|
| PART NUMBER | |
| QUANTITY | 3 |
| DESTINATION | |
| REMARKS | |
| BOLT,8X26.5 | |
| REF # | 92153 |
|---|---|
| PART NUMBER | |
| QUANTITY | 4 |
| DESTINATION | |
| REMARKS | |
| BOLT,6X35 | |
| REF # | 92154 |
|---|---|
| PART NUMBER | |
| QUANTITY | 9 |
| DESTINATION | |
| REMARKS | |
| BOLT,FLANGED,8X25 | |
| REF # | 92154A |
|---|---|
| PART NUMBER | |
| QUANTITY | 3 |
| DESTINATION | |
| REMARKS | |
| DAMPER | |
| REF # | 92161 |
|---|---|
| PART NUMBER | |
| QUANTITY | 3 |
| DESTINATION | |
| REMARKS | |
| CLAMP | |
| REF # | 92170 |
|---|---|
| PART NUMBER | |
| QUANTITY | 2 |
| DESTINATION | |
| REMARKS | |
| CLAMP | |
| REF # | 92171 |
|---|---|
| PART NUMBER | |
| QUANTITY | 1 |
| DESTINATION | |
| REMARKS | |
| SCREW,5X14 | |
| REF # | 92172 |
|---|---|
| PART NUMBER | |
| QUANTITY | 3 |
| DESTINATION | |
| REMARKS | |
| WASHER,8.5X29X0.8 | |
| REF # | 92200 |
|---|---|
| PART NUMBER | |
| QUANTITY | 3 |
| DESTINATION | |
| REMARKS | |
| BOLT-FLANGED,6X18 | |
| REF # | 130 |
|---|---|
| PART NUMBER | |
| QUANTITY | 2 |
| DESTINATION | |
| REMARKS | |
| O RING,12MM | |
| REF # | 670 |
|---|---|
| PART NUMBER | |
| QUANTITY | 4 |
| DESTINATION | |
| REMARKS | |