main content of page
Parts Diagrams
OWNER CENTER |
Welcome, Kawasaki owners. Access the information and tools you need to get the most out of your vehicle.
OWNER CENTER |
Welcome, Kawasaki owners. Access the information and tools you need to get the most out of your vehicle.
Parts Diagrams |
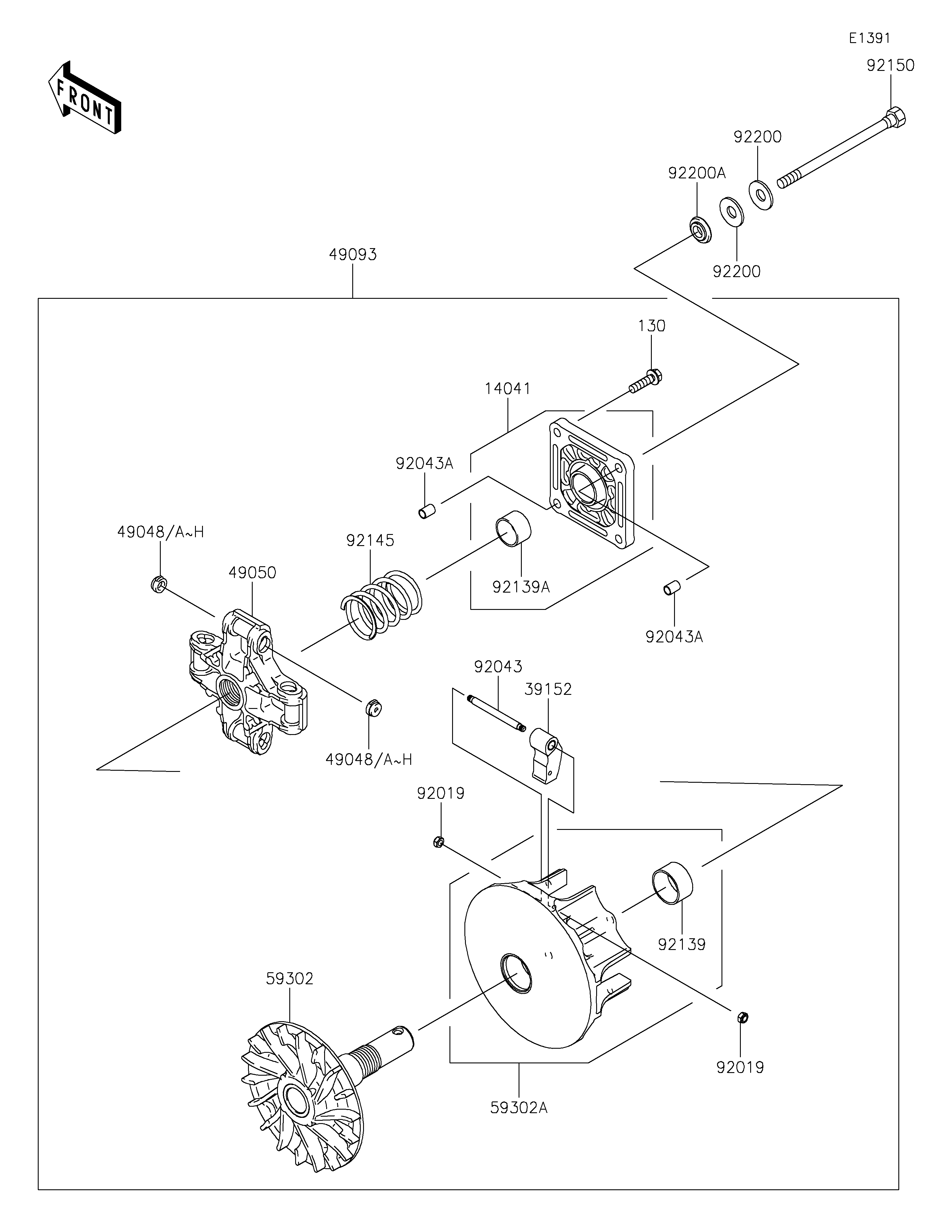
2023 MULE SX™ 4x4 FE - Drive Converter
14041
39152
49048
49048
49048A
49048A
49048B
49048B
49048C
49048C
49048D
49048D
49048E
49048E
49048F
49048F
49048G
49048G
49048H
49048H
49050
49093
59302
59302A
92019
92019
92043
92043A
92043A
92139
92139A
92145
92150
92200
92200
92200A
130
| ITEM NAME | REF # | PART NUMBER | QUANTITY | DESTINATION | REMARKS |
|---|---|---|---|---|---|
| COVER-COMP | 14041 | 14041-0022 | 1 | ||
| WEIGHT-RAMP,C | 39152 | 39152-0011 | 4 | ||
| SHOE,T=7.2 | 49048 | 49048-1087 | AR | ||
| SHOE,T=7.3 | 49048A | 49048-1088 | AR | ||
| SHOE,T=7.4 | 49048B | 49048-1089 | AR | ||
| SHOE,T=7.5 | 49048C | 49048-1090 | 8 | ||
| SHOE,T=7.6 | 49048D | 49048-1091 | AR | ||
| SHOE,T=7.7 | 49048E | 49048-1092 | AR | ||
| SHOE,T=7.8 | 49048F | 49048-1093 | AR | ||
| SHOE,T=7.9 | 49048G | 49048-1094 | AR | ||
| SHOE,T=8.0 | 49048H | 49048-1095 | AR | ||
| SPIDER | 49050 | 49050-0012 | 1 | ||
| CONVERTER-ASSY-DRIVE | 49093 | 49093-0021 | 1 | ||
| SHEAVE-COMP,FIXED | 59302 | 59302-0005 | 1 | ||
| SHEAVE-COMP | 59302A | 59302-0097 | 1 | ||
| NUT,LOCK,6MM | 92019 | 92019-008 | 8 | ||
| PIN | 92043 | 92043-0809 | 4 | ||
| PIN,8.2X10X14 | 92043A | 92043-1264 | 2 | ||
| BUSHING | 92139 | 92139-0049 | 1 | ||
| BUSHING | 92139A | 92139-0050 | 1 | ||
| SPRING | 92145 | 92145-0149 | 1 | ||
| BOLT,12X163.5 | 92150 | 92150-1008 | 1 | ||
| WASHER | 92200 | 92200-0249 | 2 | ||
| WASHER | 92200A | 92200-1634 | 1 | ||
| BOLT-FLANGED,8X30 | 130 | 130CA0830 | 4 |
| COVER-COMP | |
| REF # | 14041 |
|---|---|
| PART NUMBER | |
| QUANTITY | 1 |
| DESTINATION | |
| REMARKS | |
| WEIGHT-RAMP,C | |
| REF # | 39152 |
|---|---|
| PART NUMBER | |
| QUANTITY | 4 |
| DESTINATION | |
| REMARKS | |
| SHOE,T=7.2 | |
| REF # | 49048 |
|---|---|
| PART NUMBER | |
| QUANTITY | AR |
| DESTINATION | |
| REMARKS | |
| SHOE,T=7.3 | |
| REF # | 49048A |
|---|---|
| PART NUMBER | |
| QUANTITY | AR |
| DESTINATION | |
| REMARKS | |
| SHOE,T=7.4 | |
| REF # | 49048B |
|---|---|
| PART NUMBER | |
| QUANTITY | AR |
| DESTINATION | |
| REMARKS | |
| SHOE,T=7.5 | |
| REF # | 49048C |
|---|---|
| PART NUMBER | |
| QUANTITY | 8 |
| DESTINATION | |
| REMARKS | |
| SHOE,T=7.6 | |
| REF # | 49048D |
|---|---|
| PART NUMBER | |
| QUANTITY | AR |
| DESTINATION | |
| REMARKS | |
| SHOE,T=7.7 | |
| REF # | 49048E |
|---|---|
| PART NUMBER | |
| QUANTITY | AR |
| DESTINATION | |
| REMARKS | |
| SHOE,T=7.8 | |
| REF # | 49048F |
|---|---|
| PART NUMBER | |
| QUANTITY | AR |
| DESTINATION | |
| REMARKS | |
| SHOE,T=7.9 | |
| REF # | 49048G |
|---|---|
| PART NUMBER | |
| QUANTITY | AR |
| DESTINATION | |
| REMARKS | |
| SHOE,T=8.0 | |
| REF # | 49048H |
|---|---|
| PART NUMBER | |
| QUANTITY | AR |
| DESTINATION | |
| REMARKS | |
| SPIDER | |
| REF # | 49050 |
|---|---|
| PART NUMBER | |
| QUANTITY | 1 |
| DESTINATION | |
| REMARKS | |
| CONVERTER-ASSY-DRIVE | |
| REF # | 49093 |
|---|---|
| PART NUMBER | |
| QUANTITY | 1 |
| DESTINATION | |
| REMARKS | |
| SHEAVE-COMP,FIXED | |
| REF # | 59302 |
|---|---|
| PART NUMBER | |
| QUANTITY | 1 |
| DESTINATION | |
| REMARKS | |
| SHEAVE-COMP | |
| REF # | 59302A |
|---|---|
| PART NUMBER | |
| QUANTITY | 1 |
| DESTINATION | |
| REMARKS | |
| NUT,LOCK,6MM | |
| REF # | 92019 |
|---|---|
| PART NUMBER | |
| QUANTITY | 8 |
| DESTINATION | |
| REMARKS | |
| PIN | |
| REF # | 92043 |
|---|---|
| PART NUMBER | |
| QUANTITY | 4 |
| DESTINATION | |
| REMARKS | |
| PIN,8.2X10X14 | |
| REF # | 92043A |
|---|---|
| PART NUMBER | |
| QUANTITY | 2 |
| DESTINATION | |
| REMARKS | |
| BUSHING | |
| REF # | 92139 |
|---|---|
| PART NUMBER | |
| QUANTITY | 1 |
| DESTINATION | |
| REMARKS | |
| BUSHING | |
| REF # | 92139A |
|---|---|
| PART NUMBER | |
| QUANTITY | 1 |
| DESTINATION | |
| REMARKS | |
| SPRING | |
| REF # | 92145 |
|---|---|
| PART NUMBER | |
| QUANTITY | 1 |
| DESTINATION | |
| REMARKS | |
| BOLT,12X163.5 | |
| REF # | 92150 |
|---|---|
| PART NUMBER | |
| QUANTITY | 1 |
| DESTINATION | |
| REMARKS | |
| WASHER | |
| REF # | 92200 |
|---|---|
| PART NUMBER | |
| QUANTITY | 2 |
| DESTINATION | |
| REMARKS | |
| WASHER | |
| REF # | 92200A |
|---|---|
| PART NUMBER | |
| QUANTITY | 1 |
| DESTINATION | |
| REMARKS | |
| BOLT-FLANGED,8X30 | |
| REF # | 130 |
|---|---|
| PART NUMBER | |
| QUANTITY | 4 |
| DESTINATION | |
| REMARKS | |