main content of page
Parts Diagrams
OWNER CENTER |
Welcome, Kawasaki owners. Access the information and tools you need to get the most out of your vehicle.
OWNER CENTER |
Welcome, Kawasaki owners. Access the information and tools you need to get the most out of your vehicle.
Parts Diagrams |
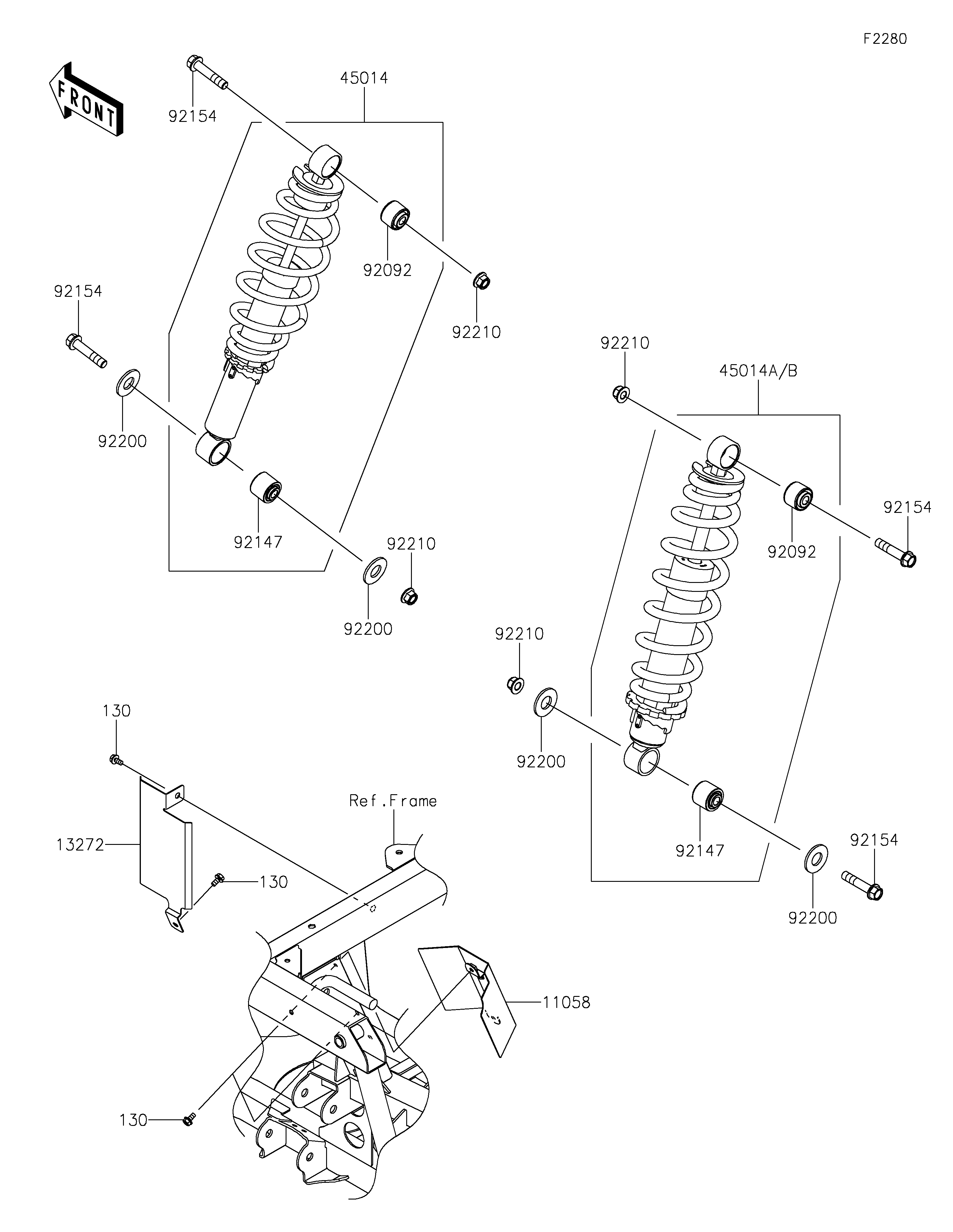
2025 Ridge Limited - Shock Absorber(s)
11058
13272
45014
45014A
45014B
92092
92092
92147
92147
92154
92154
92154
92154
92200
92200
92200
92200
92210
92210
92210
92210
130
130
130
| ITEM NAME | REF # | PART NUMBER | QUANTITY | DESTINATION | REMARKS |
|---|---|---|---|---|---|
| BRACKET,HEAT GUARD | 11058 | 11058-0842 | 1 | ||
| PLATE,HEAT GUARD | 13272 | 13272-4206 | 1 | ||
| SHOCKABSORBER,FR,HVAC,BLACK | 45014 | 45014-0784-10 | 2 | ||
| SHOCKABSORBER,RR,HVAC,BLACK | 45014A | 45014-0785-10 | 2 | CN,US | |
| SHOCKABSORBER,RR,HVAC,BLACK | 45014B | 45014-0800-10 | 2 | CA | |
| BUSHING-RUBBER,UPP | 92092 | 92092-0034 | 4 | ||
| BEARING | 92147 | 92147-0006 | 4 | ||
| BOLT,FLANGED,12X58 | 92154 | 92154-7080 | 8 | ||
| WASHER | 92200 | 92200-2697 | 8 | ||
| NUT,LOCK,FLANGED,12MM | 92210 | 92210-1931 | 8 | ||
| BOLT-FLANGED,6X12 | 130 | 130BA0612 | 4 |
| BRACKET,HEAT GUARD | |
| REF # | 11058 |
|---|---|
| PART NUMBER | |
| QUANTITY | 1 |
| DESTINATION | |
| REMARKS | |
| PLATE,HEAT GUARD | |
| REF # | 13272 |
|---|---|
| PART NUMBER | |
| QUANTITY | 1 |
| DESTINATION | |
| REMARKS | |
| SHOCKABSORBER,FR,HVAC,BLACK | |
| REF # | 45014 |
|---|---|
| PART NUMBER | |
| QUANTITY | 2 |
| DESTINATION | |
| REMARKS | |
| SHOCKABSORBER,RR,HVAC,BLACK | |
| REF # | 45014A |
|---|---|
| PART NUMBER | |
| QUANTITY | 2 |
| DESTINATION | CN,US |
| REMARKS | |
| SHOCKABSORBER,RR,HVAC,BLACK | |
| REF # | 45014B |
|---|---|
| PART NUMBER | |
| QUANTITY | 2 |
| DESTINATION | CA |
| REMARKS | |
| BUSHING-RUBBER,UPP | |
| REF # | 92092 |
|---|---|
| PART NUMBER | |
| QUANTITY | 4 |
| DESTINATION | |
| REMARKS | |
| BEARING | |
| REF # | 92147 |
|---|---|
| PART NUMBER | |
| QUANTITY | 4 |
| DESTINATION | |
| REMARKS | |
| BOLT,FLANGED,12X58 | |
| REF # | 92154 |
|---|---|
| PART NUMBER | |
| QUANTITY | 8 |
| DESTINATION | |
| REMARKS | |
| WASHER | |
| REF # | 92200 |
|---|---|
| PART NUMBER | |
| QUANTITY | 8 |
| DESTINATION | |
| REMARKS | |
| NUT,LOCK,FLANGED,12MM | |
| REF # | 92210 |
|---|---|
| PART NUMBER | |
| QUANTITY | 8 |
| DESTINATION | |
| REMARKS | |
| BOLT-FLANGED,6X12 | |
| REF # | 130 |
|---|---|
| PART NUMBER | |
| QUANTITY | 4 |
| DESTINATION | |
| REMARKS | |