main content of page
Parts Diagrams
OWNER CENTER |
Welcome, Kawasaki owners. Access the information and tools you need to get the most out of your vehicle.
OWNER CENTER |
Welcome, Kawasaki owners. Access the information and tools you need to get the most out of your vehicle.
Parts Diagrams |
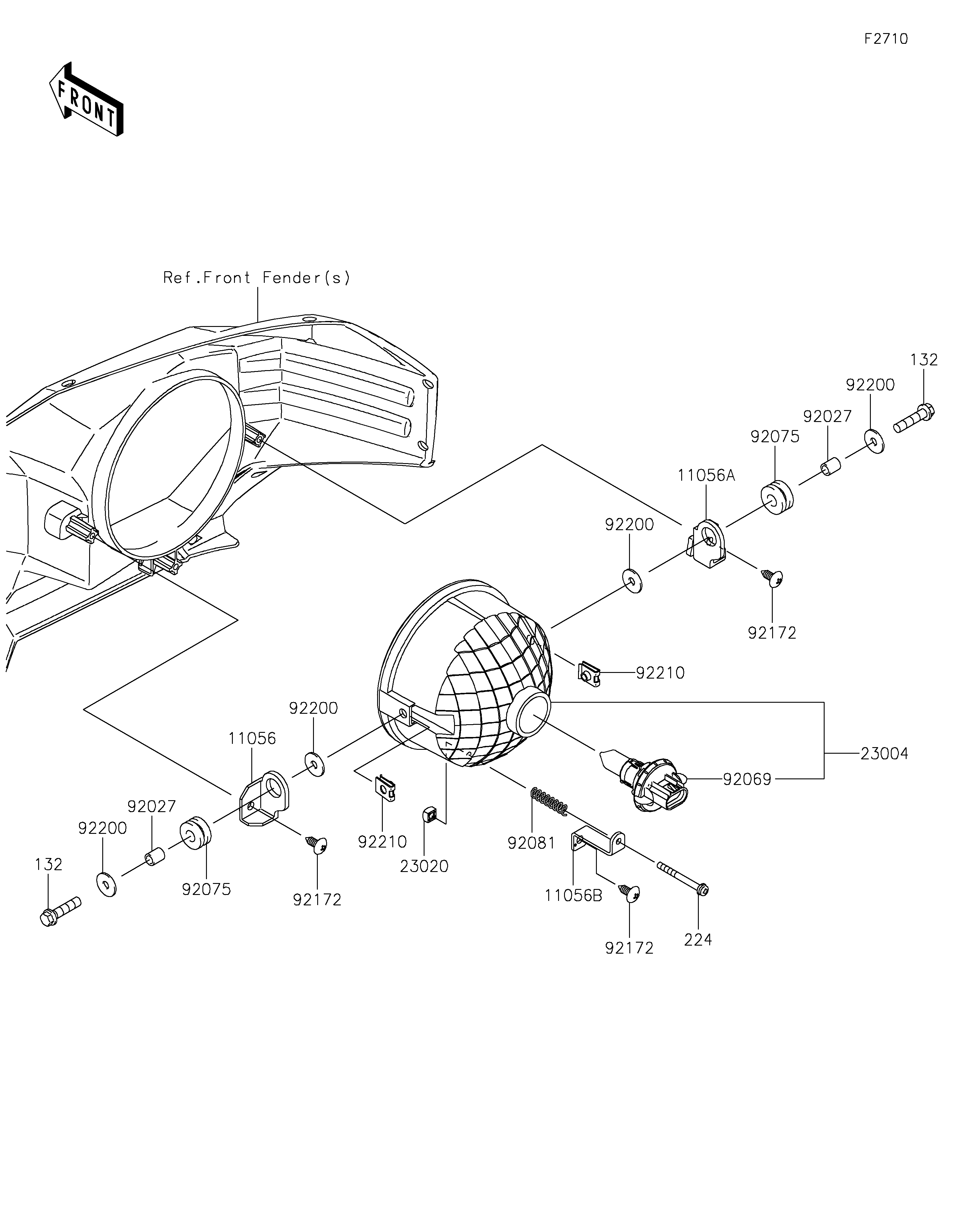
11056
11056A
11056B
23004
23020
92027
92027
92069
92075
92075
92081
92172
92172
92172
92200
92200
92200
92200
92210
92210
132
132
224
| ITEM NAME | REF # | PART NUMBER | QUANTITY | DESTINATION | REMARKS |
|---|---|---|---|---|---|
| BRACKET,LH | 11056 | 11056-2931 | 2 | ||
| BRACKET,RH | 11056A | 11056-2932 | 2 | ||
| BRACKET | 11056B | 11056-2933 | 2 | ||
| LAMP-HEAD | 23004 | 23004-0387 | 2 | ||
| NUT,4MM,FOCUS ADJUST | 23020 | 23020-018 | 2 | ||
| COLLAR,6.8X10X12 | 92027 | 92027-162 | 4 | ||
| BULB,12V 60/55W,H13 | 92069 | 92069-0105 | 2 | ||
| DAMPER,10X24X12 | 92075 | 92075-1690 | 4 | ||
| SPRING,FOCUS ADJUST | 92081 | 92081-1896 | 2 | ||
| SCREW,6X16 | 92172 | 92172-0284 | 6 | ||
| WASHER,6.5X20X1.6 | 92200 | 92200-0283 | 8 | ||
| NUT | 92210 | 92210-1125 | 4 | ||
| BOLT-FLANGED-SMALL,6X25 | 132 | 132BA0625 | 4 | ||
| SCREW-PAN-WP-CROS | 224 | 224AA0440 | 2 |
| BRACKET,LH | |
| REF # | 11056 |
|---|---|
| PART NUMBER | |
| QUANTITY | 2 |
| DESTINATION | |
| REMARKS | |
| BRACKET,RH | |
| REF # | 11056A |
|---|---|
| PART NUMBER | |
| QUANTITY | 2 |
| DESTINATION | |
| REMARKS | |
| BRACKET | |
| REF # | 11056B |
|---|---|
| PART NUMBER | |
| QUANTITY | 2 |
| DESTINATION | |
| REMARKS | |
| LAMP-HEAD | |
| REF # | 23004 |
|---|---|
| PART NUMBER | |
| QUANTITY | 2 |
| DESTINATION | |
| REMARKS | |
| NUT,4MM,FOCUS ADJUST | |
| REF # | 23020 |
|---|---|
| PART NUMBER | |
| QUANTITY | 2 |
| DESTINATION | |
| REMARKS | |
| COLLAR,6.8X10X12 | |
| REF # | 92027 |
|---|---|
| PART NUMBER | |
| QUANTITY | 4 |
| DESTINATION | |
| REMARKS | |
| BULB,12V 60/55W,H13 | |
| REF # | 92069 |
|---|---|
| PART NUMBER | |
| QUANTITY | 2 |
| DESTINATION | |
| REMARKS | |
| DAMPER,10X24X12 | |
| REF # | 92075 |
|---|---|
| PART NUMBER | |
| QUANTITY | 4 |
| DESTINATION | |
| REMARKS | |
| SPRING,FOCUS ADJUST | |
| REF # | 92081 |
|---|---|
| PART NUMBER | |
| QUANTITY | 2 |
| DESTINATION | |
| REMARKS | |
| SCREW,6X16 | |
| REF # | 92172 |
|---|---|
| PART NUMBER | |
| QUANTITY | 6 |
| DESTINATION | |
| REMARKS | |
| WASHER,6.5X20X1.6 | |
| REF # | 92200 |
|---|---|
| PART NUMBER | |
| QUANTITY | 8 |
| DESTINATION | |
| REMARKS | |
| NUT | |
| REF # | 92210 |
|---|---|
| PART NUMBER | |
| QUANTITY | 4 |
| DESTINATION | |
| REMARKS | |
| BOLT-FLANGED-SMALL,6X25 | |
| REF # | 132 |
|---|---|
| PART NUMBER | |
| QUANTITY | 4 |
| DESTINATION | |
| REMARKS | |
| SCREW-PAN-WP-CROS | |
| REF # | 224 |
|---|---|
| PART NUMBER | |
| QUANTITY | 2 |
| DESTINATION | |
| REMARKS | |