Skip to main content

Parts Diagrams

customer service agent speaking with a customer

Welcome, Kawasaki owners. Access the information and tools you need to get the most out of your vehicle.

Welcome, Kawasaki owners. Access the information and tools you need to get the most out of your vehicle.

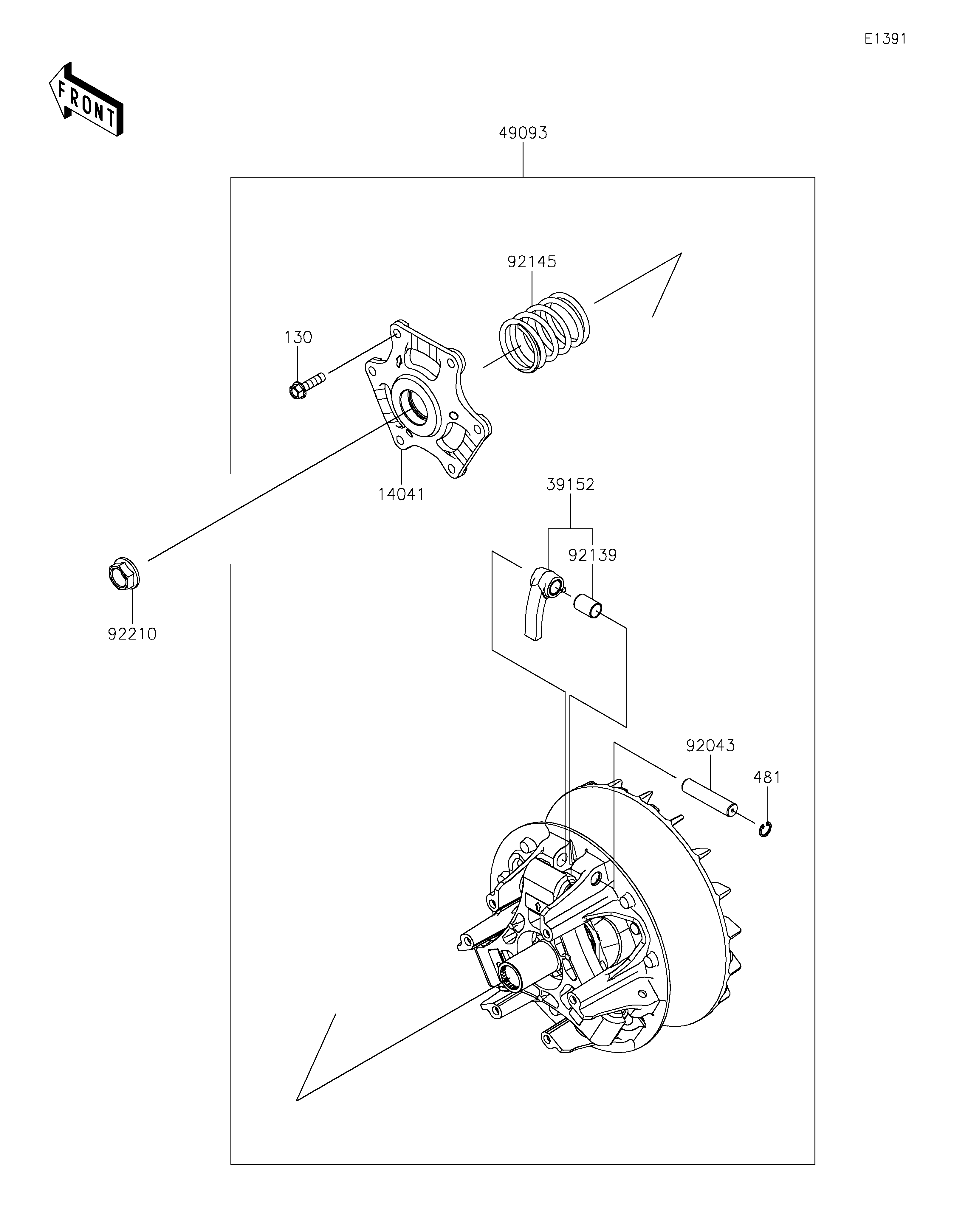
2026 TERYX KRX® 1000 ROCK EDITION - Drive Converter

14041
39152
49093
92043
92139
92145
92210
130
481
Part Item Information
ITEM NAME REF # PART NUMBER QUANTITY DESTINATION REMARKS
COVER-COMP 14041 14041-0647 1
WEIGHT-RAMP 39152 39152-0108 3
CONVERTER-ASSY-DRIVE 49093 49093-0117 1
PIN 92043 92043-1811 3
BUSHING 92139 92139-0933 3
SPRING 92145 92145-1855 1
NUT,20MM 92210 92210-1753 1
BOLT-FLANGED,8X30 130 130CA0830 6
CIRCLIP-TYPE-C 481 481J1400 3