Skip to main content

Parts Diagrams

customer service agent speaking with a customer

Welcome, Kawasaki owners. Access the information and tools you need to get the most out of your vehicle.

Welcome, Kawasaki owners. Access the information and tools you need to get the most out of your vehicle.

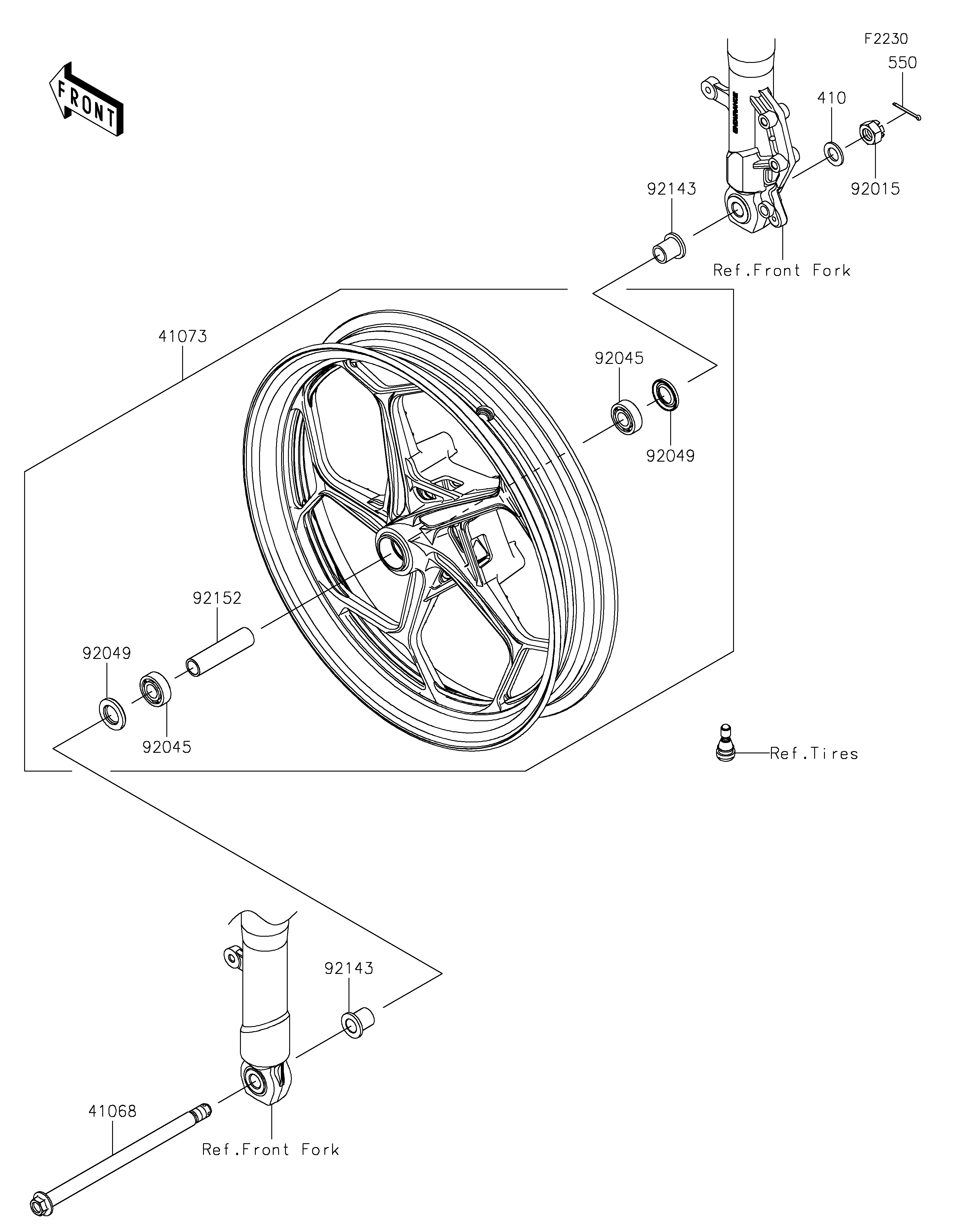
41068
41073
92015
92045
92045
92049
92049
92143
92143
92152
410
550
Part Item Information
ITEM NAME REF # PART NUMBER QUANTITY DESTINATION REMARKS
AXLE,FR 41068 41068-0656 1
WHEEL-ASSY,FR,G.BLACK 41073 41073-0796-QT 1
NUT,CASTLE,14MM 92015 92015-1765 1
BEARING-BALL,15X35X11 92045 92045-0870 2
SEAL-OIL 92049 92049-0846 2
COLLAR,FR AXLE,L=24 92143 92143-1187 2
COLLAR,15.1X20X80 92152 92152-1586 1
WASHER-PLAIN-SMALL,14MM 410 410AA1400 1
PIN-COTTER,3.0X30 550 550AA3030 1