Skip to main content

Parts Diagrams

customer service agent speaking with a customer

Welcome, Kawasaki owners. Access the information and tools you need to get the most out of your vehicle.

Welcome, Kawasaki owners. Access the information and tools you need to get the most out of your vehicle.

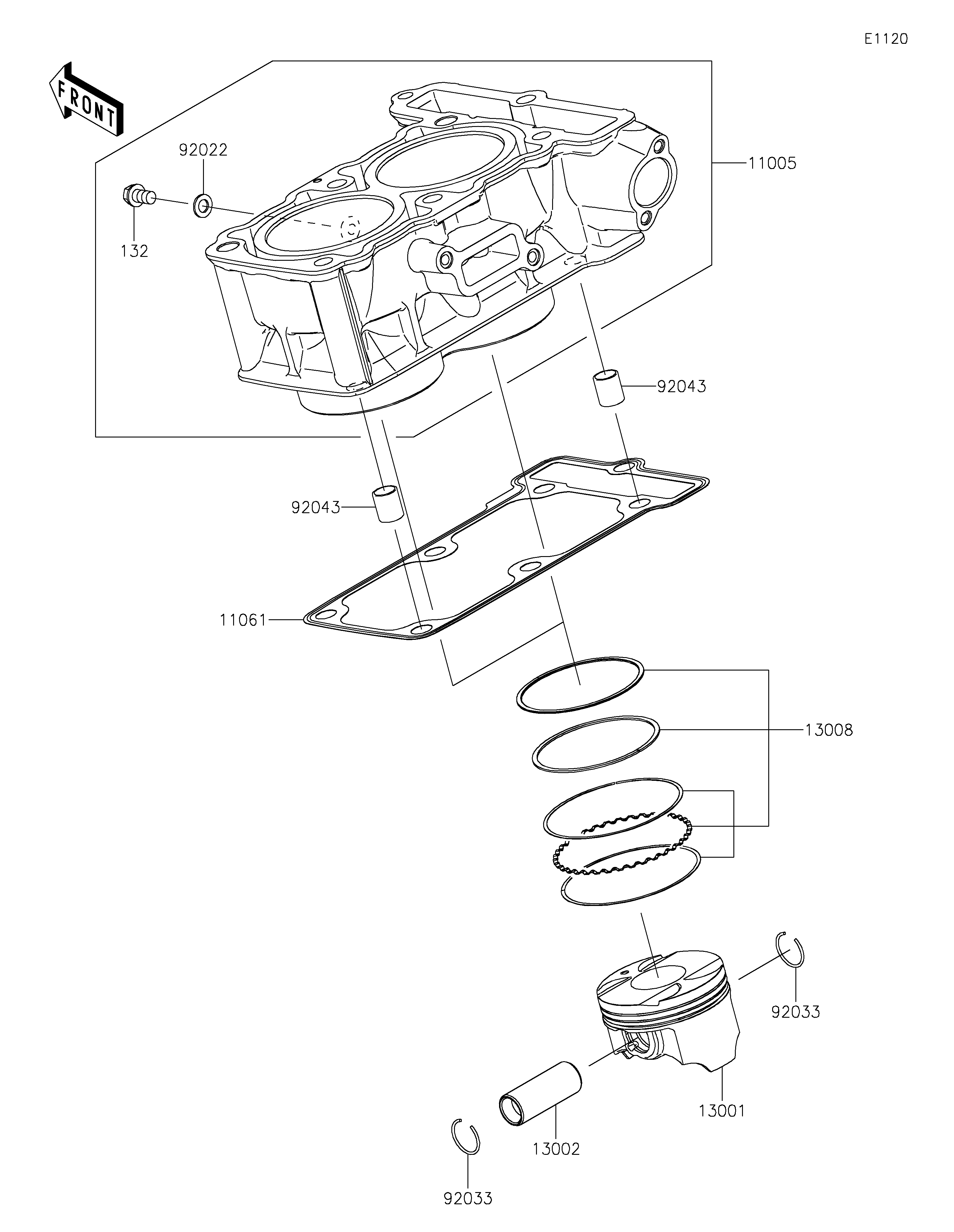
11005
11061
13001
13002
13008
92022
92033
92033
92043
92043
132
Part Item Information
ITEM NAME REF # PART NUMBER QUANTITY DESTINATION REMARKS
CYLINDER-ENGINE 11005 11005-0772 1
GASKET,CYLINDER BASE 11061 11061-0790 1
PISTON-ENGINE 13001 13001-0742 2
PIN-PISTON 13002 13002-0710 2
RING-SET-PISTON 13008 13008-0047 2
WASHER,6.2X11X1 92022 92022-304 1
RING-SNAP,PISTON PIN 92033 92033-0732 4
PIN,8.2X10X14 92043 92043-1264 2
BOLT-FLANGED-SMALL 132 132BC0610 1