Skip to main content

Parts Diagrams

customer service agent speaking with a customer

Welcome, Kawasaki owners. Access the information and tools you need to get the most out of your vehicle.

Welcome, Kawasaki owners. Access the information and tools you need to get the most out of your vehicle.

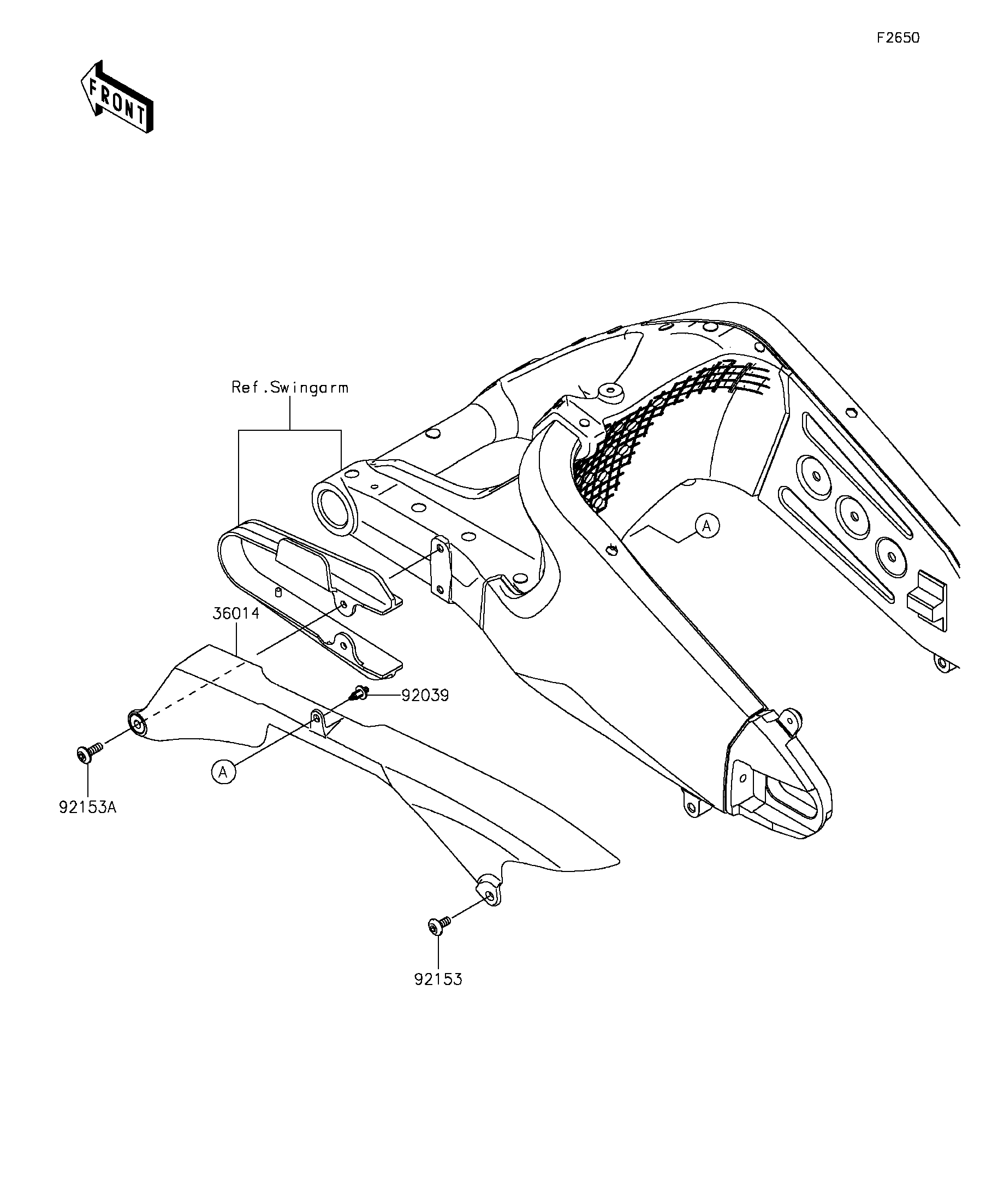
36014
92039
92153
92153A
Part Item Information
ITEM NAME REF # PART NUMBER QUANTITY DESTINATION REMARKS
CASE-CHAIN 36014 36014-0048 1
RIVET 92039 92039-0068 1
BOLT,SOCKET,6X14 92153 92153-0422 1
BOLT,SOCKET,6X18 92153A 92153-1675 1