Skip to main content

Parts Diagrams

customer service agent speaking with a customer

Welcome, Kawasaki owners. Access the information and tools you need to get the most out of your vehicle.

Welcome, Kawasaki owners. Access the information and tools you need to get the most out of your vehicle.

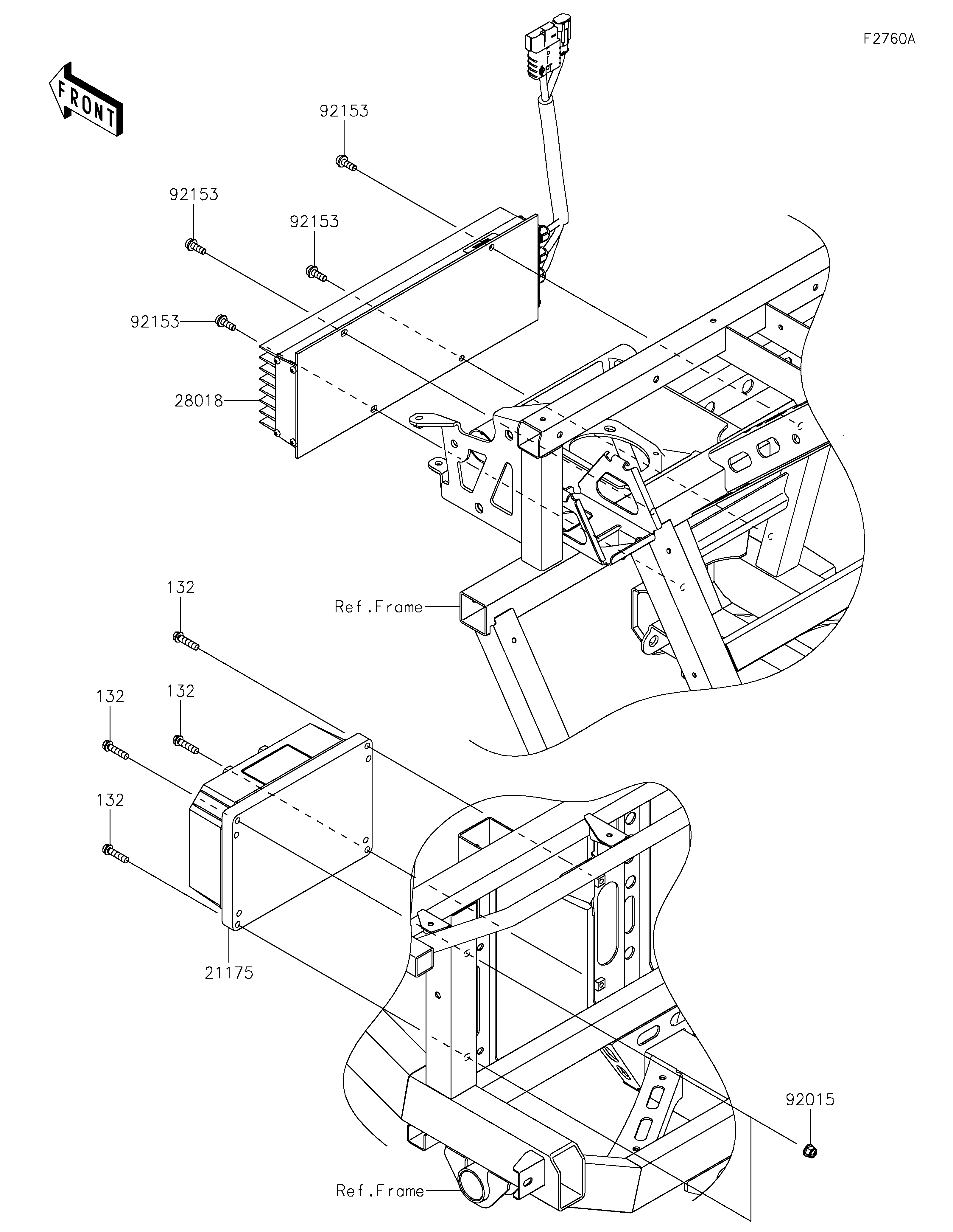
2025 NAV® 4e LE - Chassis Electrical Equipment-2

21175
28018
92015
92153
92153
92153
92153
132
132
132
132
Part Item Information
ITEM NAME REF # PART NUMBER QUANTITY DESTINATION REMARKS
CONTROL UNIT-ELECTRONIC 21175 21175-2097 1
RESISTOR,DYNAMIC BRAKE 28018 28018-0009 1
NUT,LOCK,FLANGED,6MM 92015 92015-1339 2
BOLT,SOCKET,6X16 92153 92153-1517 4
BOLT-FLANGED-SMALL,6X25 132 132BA0625 4