Skip to main content

Parts Diagrams

customer service agent speaking with a customer

Welcome, Kawasaki owners. Access the information and tools you need to get the most out of your vehicle.

Welcome, Kawasaki owners. Access the information and tools you need to get the most out of your vehicle.

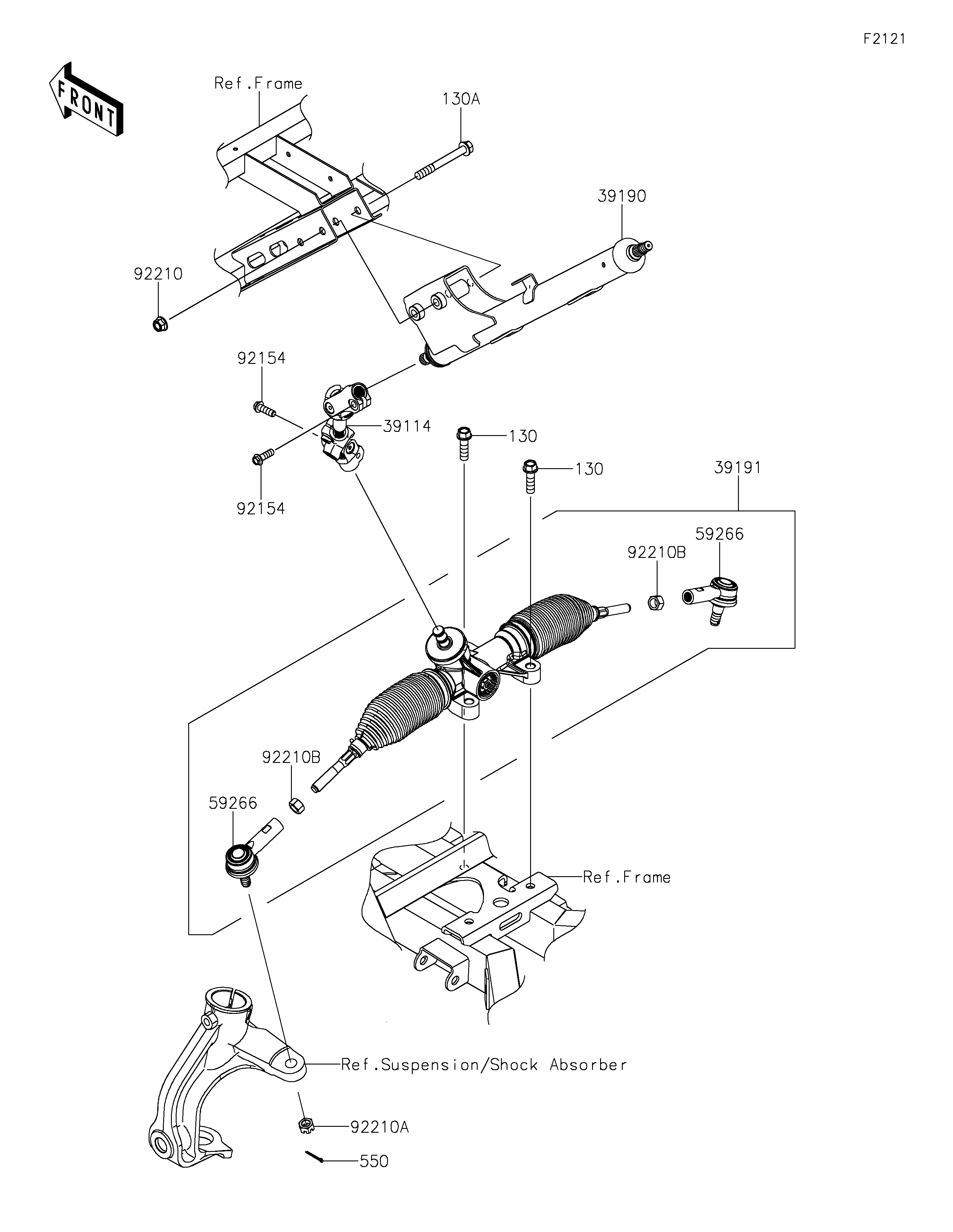
39114
39190
39191
59266
59266
92154
92154
92210
92210A
92210B
92210B
130
130
130A
550
Part Item Information
ITEM NAME REF # PART NUMBER QUANTITY DESTINATION REMARKS
SHAFT-COMP-STRG 39114 39114-0312 1
SHAFT-ASSY-STEERING 39190 39190-0026 1
GEAR-ASSY-STEERING 39191 39191-0046 1
JOINT-BALL 59266 59266-0838 2
BOLT,FLANGED,8X25 92154 92154-2190 2
NUT,LOCK,FLANGED,10MM 92210 92210-0276 2
NUT,CASTLE,12MM 92210A 92210-0395 2
NUT 92210B 92210-2337 2
BOLT-FLANGED,10X35 130 130CA1035 3
BOLT-FLANGED,10X85 130A 130CA1085 2
PIN-COTTER,3.0X25 550 550AA3025 2