main content of page
Parts Diagrams
OWNER CENTER |
Welcome, Kawasaki owners. Access the information and tools you need to get the most out of your vehicle.
OWNER CENTER |
Welcome, Kawasaki owners. Access the information and tools you need to get the most out of your vehicle.
Parts Diagrams |
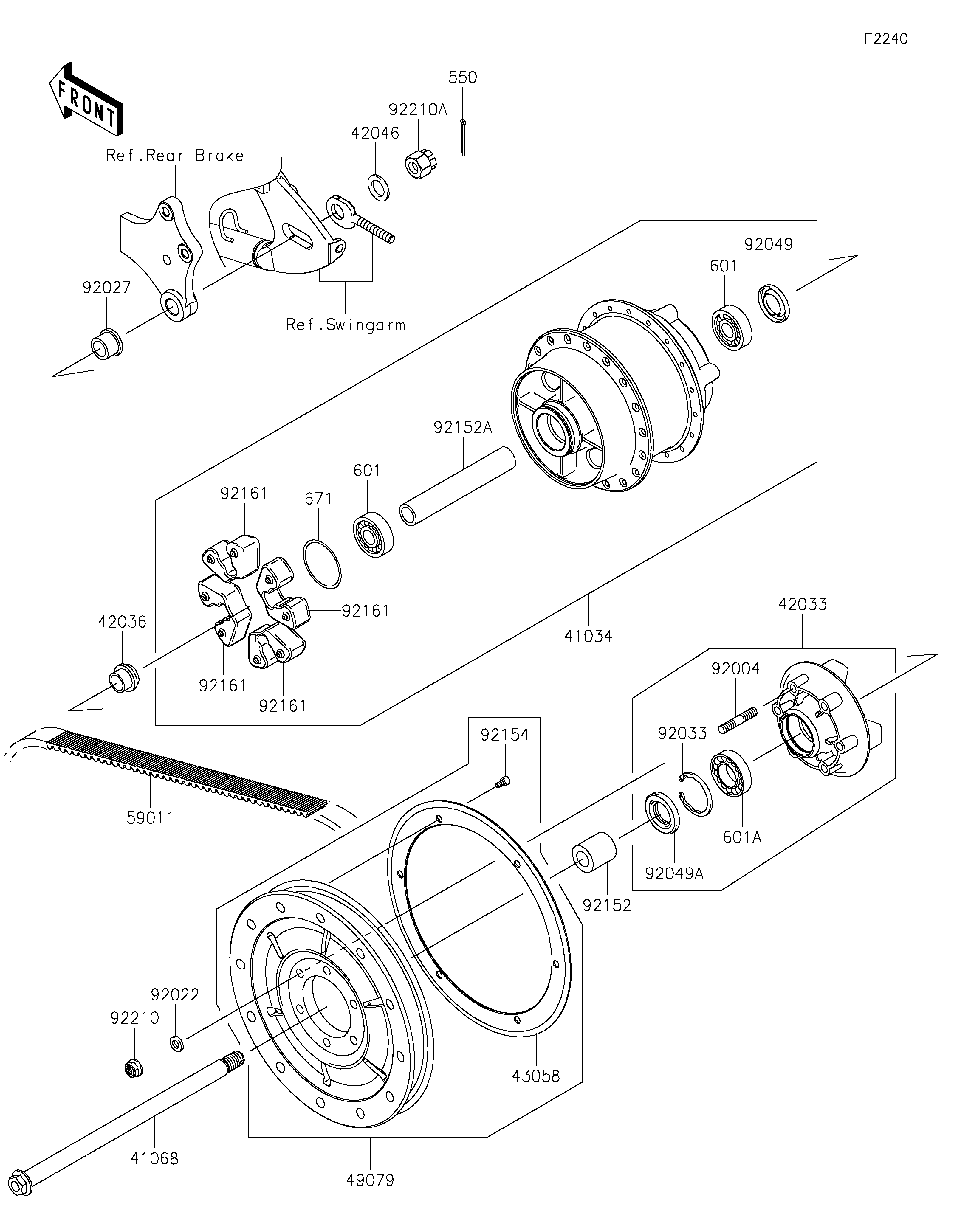
2022 VULCAN® 900 CLASSIC LT - Rear Wheel/Chain
41034
41068
42033
42036
42046
43058
49079
59011
92004
92022
92027
92033
92049
92049A
92152
92152A
92154
92161
92161
92161
92161
92210
92210A
550
601
601
601A
671
| ITEM NAME | REF # | PART NUMBER | QUANTITY | DESTINATION | REMARKS |
|---|---|---|---|---|---|
| DRUM-ASSY,REAR BRAKE | 41034 | 41034-0047 | 1 | ||
| AXLE,RR,20X362.5 | 41068 | 41068-0598 | 1 | ||
| COUPLING-ASSY,RR HUB | 42033 | 42033-0037 | 1 | ||
| SLEEVE,RR HUB,L=23 | 42036 | 42036-1251 | 1 | ||
| WASHER,21X33X2.6 | 42046 | 42046-003 | 1 | ||
| RING,REAR PULLEY | 43058 | 43058-0011 | 1 | ||
| PULLEY-BELT | 49079 | 49079-0011 | 1 | ||
| BELT,DRIVE,153T | 59011 | 59011-0062 | 1 | ||
| STUD,10X35 | 92004 | 92004-0016 | 6 | ||
| WASHER,10.5X19X3.2 | 92022 | 92022-1820 | 6 | ||
| COLLAR,RR AXLE,L=21.5 | 92027 | 92027-1902 | 1 | ||
| RING-SNAP,52MM | 92033 | 92033-1043 | 1 | ||
| SEAL-OIL,BJN28475 | 92049 | 92049-1056 | 1 | ||
| SEAL-OIL | 92049A | 92049-1287 | 1 | ||
| COLLAR,RR AXLE,LH,L=38.6 | 92152 | 92152-0350 | 1 | ||
| COLLAR,REAR BRAKE DRUM,L=166.4 | 92152A | 92152-0351 | 1 | ||
| BOLT,FLANGED,6X12 | 92154 | 92154-0346 | 6 | ||
| DAMPER,SHOCK,RR HUB | 92161 | 92161-0466 | 4 | ||
| NUT,LOCK,FLANGED,10MM | 92210 | 92210-0276 | 6 | ||
| NUT,CASTLE,18MM | 92210A | 92210-1134 | 1 | ||
| PIN-COTTER,4.0X40 | 550 | 550AA4040 | 1 | ||
| BEARING-BALL,6204UUC3 | 601 | 601B6204UU | 2 | ||
| BEARING-BALL | 601A | 601B6205UU | 1 | ||
| O RING,60MM | 671 | 671B2560 | 1 |
| DRUM-ASSY,REAR BRAKE | |
| REF # | 41034 |
|---|---|
| PART NUMBER | |
| QUANTITY | 1 |
| DESTINATION | |
| REMARKS | |
| AXLE,RR,20X362.5 | |
| REF # | 41068 |
|---|---|
| PART NUMBER | |
| QUANTITY | 1 |
| DESTINATION | |
| REMARKS | |
| COUPLING-ASSY,RR HUB | |
| REF # | 42033 |
|---|---|
| PART NUMBER | |
| QUANTITY | 1 |
| DESTINATION | |
| REMARKS | |
| SLEEVE,RR HUB,L=23 | |
| REF # | 42036 |
|---|---|
| PART NUMBER | |
| QUANTITY | 1 |
| DESTINATION | |
| REMARKS | |
| WASHER,21X33X2.6 | |
| REF # | 42046 |
|---|---|
| PART NUMBER | |
| QUANTITY | 1 |
| DESTINATION | |
| REMARKS | |
| RING,REAR PULLEY | |
| REF # | 43058 |
|---|---|
| PART NUMBER | |
| QUANTITY | 1 |
| DESTINATION | |
| REMARKS | |
| PULLEY-BELT | |
| REF # | 49079 |
|---|---|
| PART NUMBER | |
| QUANTITY | 1 |
| DESTINATION | |
| REMARKS | |
| BELT,DRIVE,153T | |
| REF # | 59011 |
|---|---|
| PART NUMBER | |
| QUANTITY | 1 |
| DESTINATION | |
| REMARKS | |
| STUD,10X35 | |
| REF # | 92004 |
|---|---|
| PART NUMBER | |
| QUANTITY | 6 |
| DESTINATION | |
| REMARKS | |
| WASHER,10.5X19X3.2 | |
| REF # | 92022 |
|---|---|
| PART NUMBER | |
| QUANTITY | 6 |
| DESTINATION | |
| REMARKS | |
| COLLAR,RR AXLE,L=21.5 | |
| REF # | 92027 |
|---|---|
| PART NUMBER | |
| QUANTITY | 1 |
| DESTINATION | |
| REMARKS | |
| RING-SNAP,52MM | |
| REF # | 92033 |
|---|---|
| PART NUMBER | |
| QUANTITY | 1 |
| DESTINATION | |
| REMARKS | |
| SEAL-OIL,BJN28475 | |
| REF # | 92049 |
|---|---|
| PART NUMBER | |
| QUANTITY | 1 |
| DESTINATION | |
| REMARKS | |
| SEAL-OIL | |
| REF # | 92049A |
|---|---|
| PART NUMBER | |
| QUANTITY | 1 |
| DESTINATION | |
| REMARKS | |
| COLLAR,RR AXLE,LH,L=38.6 | |
| REF # | 92152 |
|---|---|
| PART NUMBER | |
| QUANTITY | 1 |
| DESTINATION | |
| REMARKS | |
| COLLAR,REAR BRAKE DRUM,L=166.4 | |
| REF # | 92152A |
|---|---|
| PART NUMBER | |
| QUANTITY | 1 |
| DESTINATION | |
| REMARKS | |
| BOLT,FLANGED,6X12 | |
| REF # | 92154 |
|---|---|
| PART NUMBER | |
| QUANTITY | 6 |
| DESTINATION | |
| REMARKS | |
| DAMPER,SHOCK,RR HUB | |
| REF # | 92161 |
|---|---|
| PART NUMBER | |
| QUANTITY | 4 |
| DESTINATION | |
| REMARKS | |
| NUT,LOCK,FLANGED,10MM | |
| REF # | 92210 |
|---|---|
| PART NUMBER | |
| QUANTITY | 6 |
| DESTINATION | |
| REMARKS | |
| NUT,CASTLE,18MM | |
| REF # | 92210A |
|---|---|
| PART NUMBER | |
| QUANTITY | 1 |
| DESTINATION | |
| REMARKS | |
| PIN-COTTER,4.0X40 | |
| REF # | 550 |
|---|---|
| PART NUMBER | |
| QUANTITY | 1 |
| DESTINATION | |
| REMARKS | |
| BEARING-BALL,6204UUC3 | |
| REF # | 601 |
|---|---|
| PART NUMBER | |
| QUANTITY | 2 |
| DESTINATION | |
| REMARKS | |
| BEARING-BALL | |
| REF # | 601A |
|---|---|
| PART NUMBER | |
| QUANTITY | 1 |
| DESTINATION | |
| REMARKS | |
| O RING,60MM | |
| REF # | 671 |
|---|---|
| PART NUMBER | |
| QUANTITY | 1 |
| DESTINATION | |
| REMARKS | |