main content of page
Parts Diagrams
OWNER CENTER |
Welcome, Kawasaki owners. Access the information and tools you need to get the most out of your vehicle.
OWNER CENTER |
Welcome, Kawasaki owners. Access the information and tools you need to get the most out of your vehicle.
Parts Diagrams |
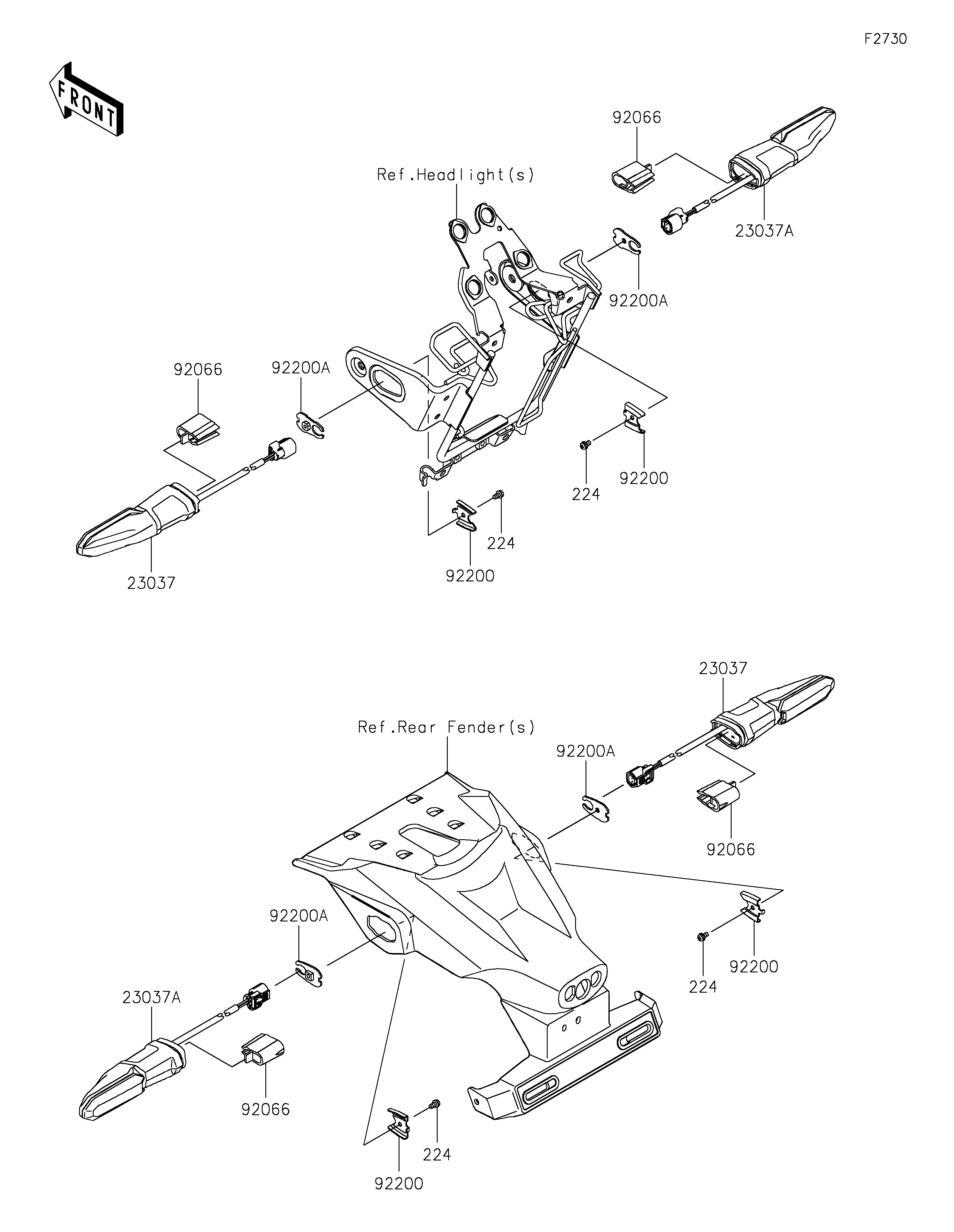
23037
23037
23037A
23037A
92066
92066
92066
92066
92200
92200
92200
92200
92200A
92200A
92200A
92200A
224
224
224
224
| ITEM NAME | REF # | PART NUMBER | QUANTITY | DESTINATION | REMARKS |
|---|---|---|---|---|---|
| LAMP-ASSY-SIGNAL,LED | 23037 | 23037-0551 | 2 | ||
| LAMP-ASSY-SIGNAL,LED | 23037A | 23037-0552 | 2 | ||
| PLUG,SIGNAL LAMP | 92066 | 92066-0919 | 4 | ||
| WASHER | 92200 | 92200-0855 | 4 | ||
| WASHER,SIGNAL LAMP | 92200A | 92200-2294 | 4 | ||
| SCREW-PAN-WP-CROS,4X8 | 224 | 224AB0408 | 4 |
| LAMP-ASSY-SIGNAL,LED | |
| REF # | 23037 |
|---|---|
| PART NUMBER | |
| QUANTITY | 2 |
| DESTINATION | |
| REMARKS | |
| LAMP-ASSY-SIGNAL,LED | |
| REF # | 23037A |
|---|---|
| PART NUMBER | |
| QUANTITY | 2 |
| DESTINATION | |
| REMARKS | |
| PLUG,SIGNAL LAMP | |
| REF # | 92066 |
|---|---|
| PART NUMBER | |
| QUANTITY | 4 |
| DESTINATION | |
| REMARKS | |
| WASHER | |
| REF # | 92200 |
|---|---|
| PART NUMBER | |
| QUANTITY | 4 |
| DESTINATION | |
| REMARKS | |
| WASHER,SIGNAL LAMP | |
| REF # | 92200A |
|---|---|
| PART NUMBER | |
| QUANTITY | 4 |
| DESTINATION | |
| REMARKS | |
| SCREW-PAN-WP-CROS,4X8 | |
| REF # | 224 |
|---|---|
| PART NUMBER | |
| QUANTITY | 4 |
| DESTINATION | |
| REMARKS | |