main content of page
Parts Diagrams
OWNER CENTER |

Welcome, Kawasaki owners. Access the information and tools you need to get the most out of your vehicle.
OWNER CENTER |
Welcome, Kawasaki owners. Access the information and tools you need to get the most out of your vehicle.
Parts Diagrams |
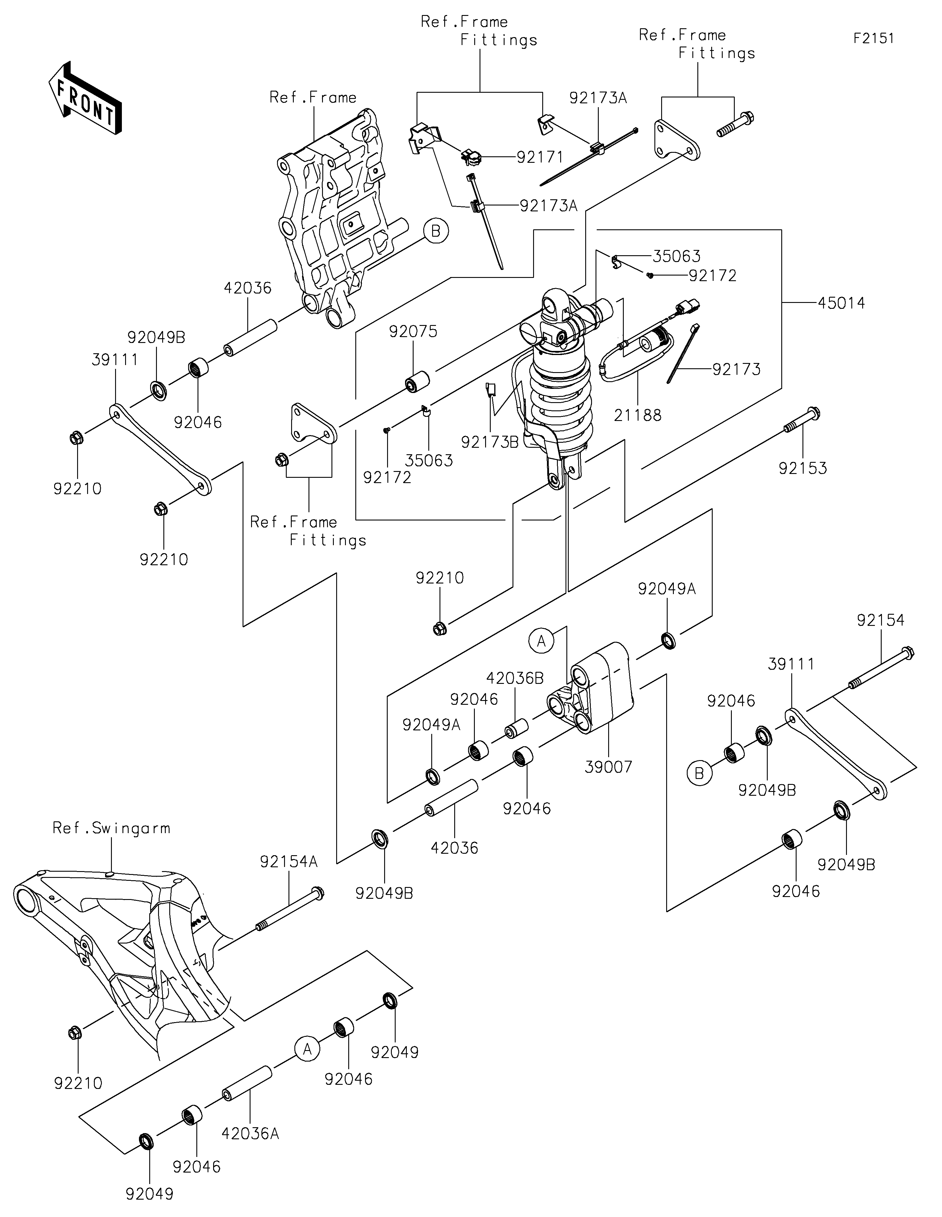
2022 Z H2 SE - Suspension/Shock Absorber
21188
35063
35063
39007
39111
39111
42036
42036
42036A
42036B
45014
92046
92046
92046
92046
92046
92046
92046
92049
92049
92049A
92049A
92049B
92049B
92049B
92049B
92075
92153
92154
92154A
92171
92172
92172
92173
92173A
92173A
92173B
92210
92210
92210
92210
ITEM NAME | REF # | PART NUMBER | QUANTITY | DESTINATION | REMARKS |
---|---|---|---|---|---|
SOLENOID | 21188 | 21188-0024 | 1 | ||
STAY | 35063 | 35063-1439 | 2 | ||
ARM-SUSP | 39007 | 39007-0443 | 1 | ||
ROD-TIE,SUSPENSION | 39111 | 39111-0375 | 2 | ||
SLEEVE,10.1X18X90.5 | 42036 | 42036-0828 | 2 | ||
SLEEVE,10.1X18X83.5 | 42036A | 42036-0847 | 1 | ||
SLEEVE,10.1X18X30 | 42036B | 42036-1258 | 1 | ||
SHOCKABSORBER,KECS | 45014 | 45014-0737 | 1 | ||
BEARING-NEEDLE,SFYZM182417 | 92046 | 92046-1272 | 7 | ||
SEAL-OIL,SD0 17 24 5 NS | 92049 | 92049-0158 | 2 | ||
SEAL-OIL,MHA18244 | 92049A | 92049-1225 | 2 | ||
SEAL-OIL,KCR MF018N1 | 92049B | 92049-1493 | 4 | ||
DAMPER,SHOCKABSORBER | 92075 | 92075-1426 | 1 | ||
BOLT,FLANGED,10X55 | 92153 | 92153-1546 | 1 | ||
BOLT,FLANGED,10X114 | 92154 | 92154-1553 | 2 | ||
BOLT,FLANGED,10X120 | 92154A | 92154-4060 | 1 | ||
CLAMP,EDGE CLIP | 92171 | 92171-1722 | 1 | ||
SCREW | 92172 | 92172-1252 | 2 | ||
CLAMP | 92173 | 92173-1918 | 1 | ||
CLAMP | 92173A | 92173-2077 | 2 | ||
CLAMP | 92173B | 92173-2161 | 1 | ||
NUT,LOCK,FLANGED,10MM | 92210 | 92210-1139 | 4 |
SOLENOID | |
REF # | 21188 |
---|---|
PART NUMBER | |
QUANTITY | 1 |
DESTINATION | |
REMARKS |
STAY | |
REF # | 35063 |
---|---|
PART NUMBER | |
QUANTITY | 2 |
DESTINATION | |
REMARKS |
ARM-SUSP | |
REF # | 39007 |
---|---|
PART NUMBER | |
QUANTITY | 1 |
DESTINATION | |
REMARKS |
ROD-TIE,SUSPENSION | |
REF # | 39111 |
---|---|
PART NUMBER | |
QUANTITY | 2 |
DESTINATION | |
REMARKS |
SLEEVE,10.1X18X90.5 | |
REF # | 42036 |
---|---|
PART NUMBER | |
QUANTITY | 2 |
DESTINATION | |
REMARKS |
SLEEVE,10.1X18X83.5 | |
REF # | 42036A |
---|---|
PART NUMBER | |
QUANTITY | 1 |
DESTINATION | |
REMARKS |
SLEEVE,10.1X18X30 | |
REF # | 42036B |
---|---|
PART NUMBER | |
QUANTITY | 1 |
DESTINATION | |
REMARKS |
SHOCKABSORBER,KECS | |
REF # | 45014 |
---|---|
PART NUMBER | |
QUANTITY | 1 |
DESTINATION | |
REMARKS |
BEARING-NEEDLE,SFYZM182417 | |
REF # | 92046 |
---|---|
PART NUMBER | |
QUANTITY | 7 |
DESTINATION | |
REMARKS |
SEAL-OIL,SD0 17 24 5 NS | |
REF # | 92049 |
---|---|
PART NUMBER | |
QUANTITY | 2 |
DESTINATION | |
REMARKS |
SEAL-OIL,MHA18244 | |
REF # | 92049A |
---|---|
PART NUMBER | |
QUANTITY | 2 |
DESTINATION | |
REMARKS |
SEAL-OIL,KCR MF018N1 | |
REF # | 92049B |
---|---|
PART NUMBER | |
QUANTITY | 4 |
DESTINATION | |
REMARKS |
DAMPER,SHOCKABSORBER | |
REF # | 92075 |
---|---|
PART NUMBER | |
QUANTITY | 1 |
DESTINATION | |
REMARKS |
BOLT,FLANGED,10X55 | |
REF # | 92153 |
---|---|
PART NUMBER | |
QUANTITY | 1 |
DESTINATION | |
REMARKS |
BOLT,FLANGED,10X114 | |
REF # | 92154 |
---|---|
PART NUMBER | |
QUANTITY | 2 |
DESTINATION | |
REMARKS |
BOLT,FLANGED,10X120 | |
REF # | 92154A |
---|---|
PART NUMBER | |
QUANTITY | 1 |
DESTINATION | |
REMARKS |
CLAMP,EDGE CLIP | |
REF # | 92171 |
---|---|
PART NUMBER | |
QUANTITY | 1 |
DESTINATION | |
REMARKS |
SCREW | |
REF # | 92172 |
---|---|
PART NUMBER | |
QUANTITY | 2 |
DESTINATION | |
REMARKS |
CLAMP | |
REF # | 92173 |
---|---|
PART NUMBER | |
QUANTITY | 1 |
DESTINATION | |
REMARKS |
CLAMP | |
REF # | 92173A |
---|---|
PART NUMBER | |
QUANTITY | 2 |
DESTINATION | |
REMARKS |
CLAMP | |
REF # | 92173B |
---|---|
PART NUMBER | |
QUANTITY | 1 |
DESTINATION | |
REMARKS |
NUT,LOCK,FLANGED,10MM | |
REF # | 92210 |
---|---|
PART NUMBER | |
QUANTITY | 4 |
DESTINATION | |
REMARKS |