Skip to main content

Parts Diagrams

customer service agent speaking with a customer

Welcome, Kawasaki owners. Access the information and tools you need to get the most out of your vehicle.

Welcome, Kawasaki owners. Access the information and tools you need to get the most out of your vehicle.

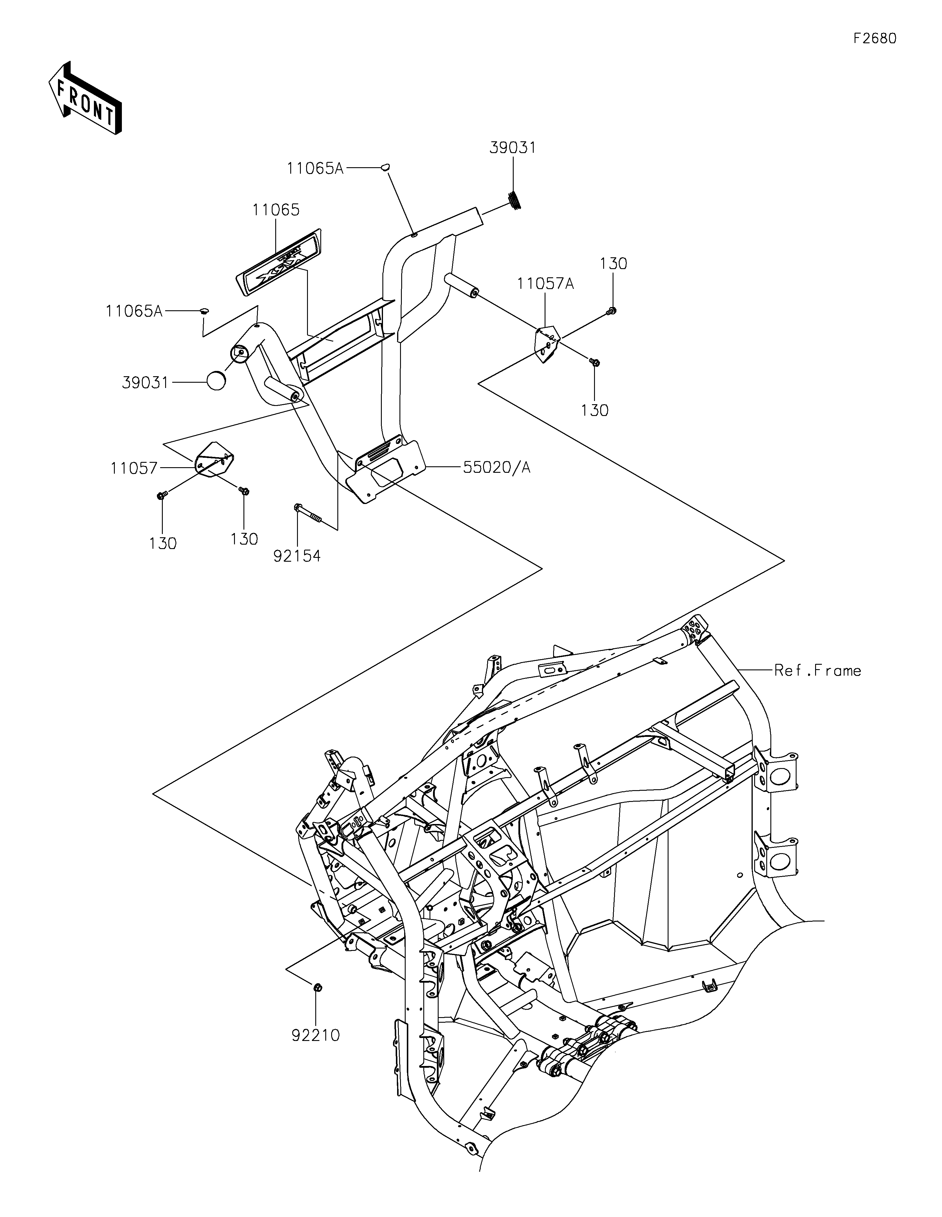
11057
11057A
11065
11065A
11065A
39031
39031
55020
55020A
92154
92210
130
130
130
130
Part Item Information
ITEM NAME REF # PART NUMBER QUANTITY DESTINATION REMARKS
BRACKET,LH 11057 11057-4169 1
BRACKET,RH 11057A 11057-4170 1
CAP,FR GUARD 11065 11065-1348 1
CAP,HOLE PLUG 11065A 11065-1349 2
CAP-END 39031 39031-0021 2
GUARD,FR,T.BLACK 55020 55020-2318-388 1
GUARD,FR,F.T.W.BEIGE 55020A 55020-2318-75L 1
BOLT,FLANGED,10X70 92154 92154-7404 2
NUT,LOCK,FLANGED,10MM 92210 92210-1080 2
BOLT-FLANGED,8X16 130 130CA0816 6