main content of page
Parts Diagrams
                        OWNER CENTER | 
                    
        Welcome, Kawasaki owners. Access the information and tools you need to get the most out of your vehicle.
                            OWNER CENTER | 
                        
Welcome, Kawasaki owners. Access the information and tools you need to get the most out of your vehicle.
                            Parts Diagrams | 
                        
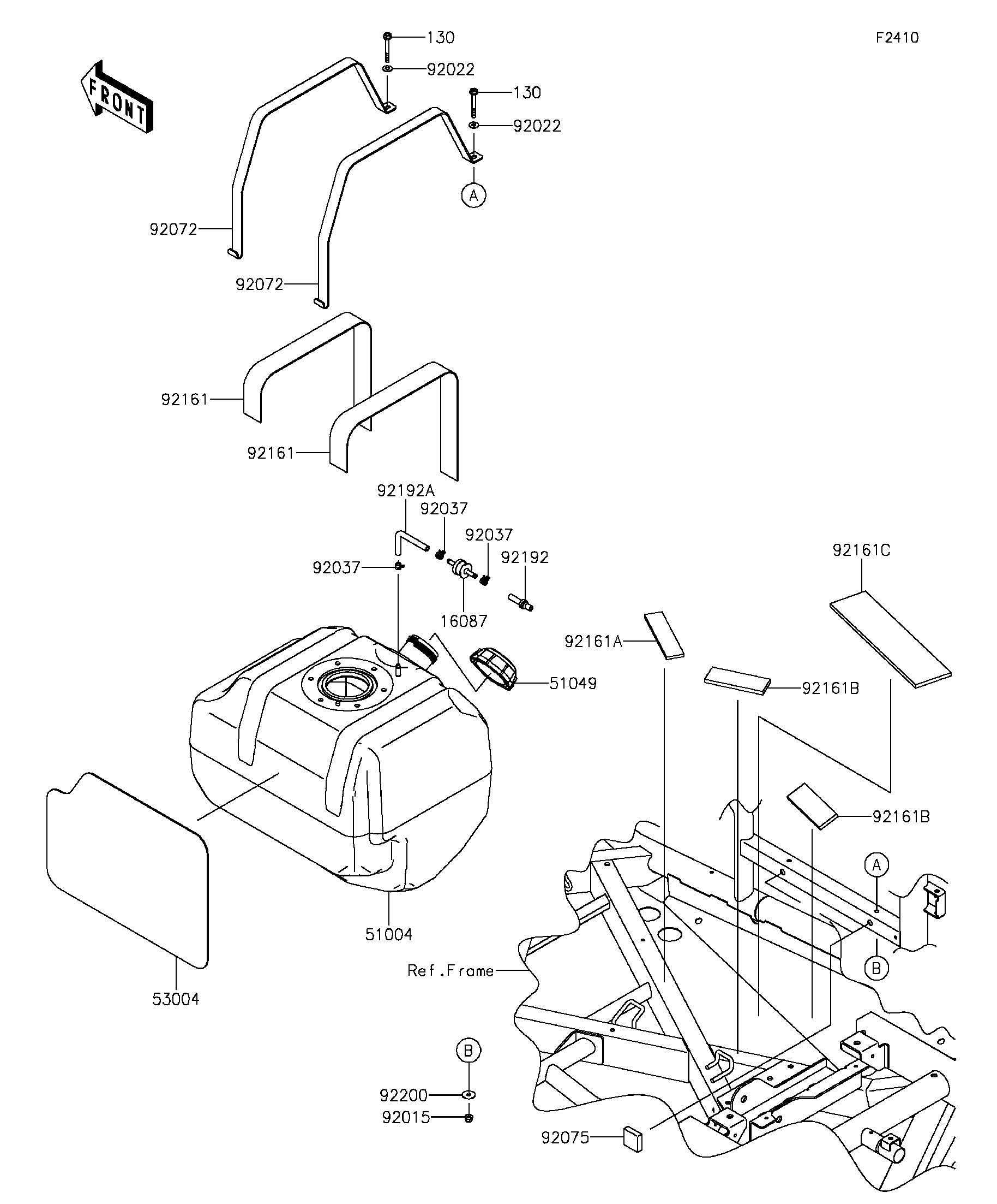
                                            16087
                                        
                                    
                                            51004
                                        
                                    
                                            51049
                                        
                                    
                                            53004
                                        
                                    
                                            92015
                                        
                                    
                                            92022
                                        
                                    
                                            92022
                                        
                                    
                                            92037
                                        
                                    
                                            92037
                                        
                                    
                                            92037
                                        
                                    
                                            92072
                                        
                                    
                                            92072
                                        
                                    
                                            92075
                                        
                                    
                                            92161
                                        
                                    
                                            92161
                                        
                                    
                                            92161A
                                        
                                    
                                            92161B
                                        
                                    
                                            92161B
                                        
                                    
                                            92161C
                                        
                                    
                                            92192
                                        
                                    
                                            92192A
                                        
                                    
                                            92200
                                        
                                    
                                            130
                                        
                                    
                                            130
                                        
                                    | ITEM NAME | REF # | PART NUMBER | QUANTITY | DESTINATION | REMARKS | 
|---|---|---|---|---|---|
| VALVE-CHECK | 16087 | 16087-0703 | 1 | ||
| TANK-FUEL | 51004 | 51004-0002 | 1 | ||
| CAP-TANK,FUEL | 51049 | 51049-0718 | 1 | ||
| MAT | 53004 | 53004-0554 | 1 | ||
| NUT,LOCK,FLANGED,6MM | 92015 | 92015-1339 | 2 | ||
| WASHER,7X16X1.2 | 92022 | 92022-1344 | 2 | ||
| CLAMP,TUBE | 92037 | 92037-1461 | 3 | ||
| BAND,FUEL TANK | 92072 | 92072-0704 | 2 | ||
| DAMPER | 92075 | 92075-1882 | 2 | ||
| DAMPER,FUEL TANK | 92161 | 92161-0794 | 2 | ||
| DAMPER,31.1X130X5 | 92161A | 92161-0936 | 1 | ||
| DAMPER,38X105X7 | 92161B | 92161-0948 | 2 | ||
| DAMPER,70X280X7 | 92161C | 92161-1452 | 1 | ||
| TUBE,FRAME PIPE-CHECK VALVE | 92192 | 92192-0068 | 1 | ||
| TUBE,VENT | 92192A | 92192-0949 | 1 | ||
| WASHER,6.5X22X1.6 | 92200 | 92200-1087 | 2 | ||
| BOLT-FLANGED,6X50 | 130 | 130BA0650 | 2 | 
| VALVE-CHECK | |
| REF # | 16087 | 
|---|---|
| PART NUMBER | |
| QUANTITY | 1 | 
| DESTINATION | |
| REMARKS | |
| TANK-FUEL | |
| REF # | 51004 | 
|---|---|
| PART NUMBER | |
| QUANTITY | 1 | 
| DESTINATION | |
| REMARKS | |
| CAP-TANK,FUEL | |
| REF # | 51049 | 
|---|---|
| PART NUMBER | |
| QUANTITY | 1 | 
| DESTINATION | |
| REMARKS | |
| MAT | |
| REF # | 53004 | 
|---|---|
| PART NUMBER | |
| QUANTITY | 1 | 
| DESTINATION | |
| REMARKS | |
| NUT,LOCK,FLANGED,6MM | |
| REF # | 92015 | 
|---|---|
| PART NUMBER | |
| QUANTITY | 2 | 
| DESTINATION | |
| REMARKS | |
| WASHER,7X16X1.2 | |
| REF # | 92022 | 
|---|---|
| PART NUMBER | |
| QUANTITY | 2 | 
| DESTINATION | |
| REMARKS | |
| CLAMP,TUBE | |
| REF # | 92037 | 
|---|---|
| PART NUMBER | |
| QUANTITY | 3 | 
| DESTINATION | |
| REMARKS | |
| BAND,FUEL TANK | |
| REF # | 92072 | 
|---|---|
| PART NUMBER | |
| QUANTITY | 2 | 
| DESTINATION | |
| REMARKS | |
| DAMPER | |
| REF # | 92075 | 
|---|---|
| PART NUMBER | |
| QUANTITY | 2 | 
| DESTINATION | |
| REMARKS | |
| DAMPER,FUEL TANK | |
| REF # | 92161 | 
|---|---|
| PART NUMBER | |
| QUANTITY | 2 | 
| DESTINATION | |
| REMARKS | |
| DAMPER,31.1X130X5 | |
| REF # | 92161A | 
|---|---|
| PART NUMBER | |
| QUANTITY | 1 | 
| DESTINATION | |
| REMARKS | |
| DAMPER,38X105X7 | |
| REF # | 92161B | 
|---|---|
| PART NUMBER | |
| QUANTITY | 2 | 
| DESTINATION | |
| REMARKS | |
| DAMPER,70X280X7 | |
| REF # | 92161C | 
|---|---|
| PART NUMBER | |
| QUANTITY | 1 | 
| DESTINATION | |
| REMARKS | |
| TUBE,FRAME PIPE-CHECK VALVE | |
| REF # | 92192 | 
|---|---|
| PART NUMBER | |
| QUANTITY | 1 | 
| DESTINATION | |
| REMARKS | |
| TUBE,VENT | |
| REF # | 92192A | 
|---|---|
| PART NUMBER | |
| QUANTITY | 1 | 
| DESTINATION | |
| REMARKS | |
| WASHER,6.5X22X1.6 | |
| REF # | 92200 | 
|---|---|
| PART NUMBER | |
| QUANTITY | 2 | 
| DESTINATION | |
| REMARKS | |
| BOLT-FLANGED,6X50 | |
| REF # | 130 | 
|---|---|
| PART NUMBER | |
| QUANTITY | 2 | 
| DESTINATION | |
| REMARKS | |