Skip to main content

Parts Diagrams

customer service agent speaking with a customer

Welcome, Kawasaki owners. Access the information and tools you need to get the most out of your vehicle.

Welcome, Kawasaki owners. Access the information and tools you need to get the most out of your vehicle.

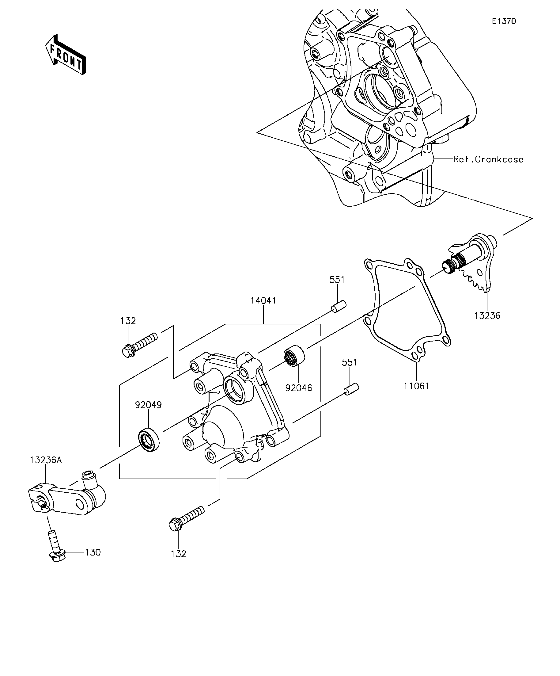
11061
13236
13236A
14041
92046
92049
130
132
132
551
551
Part Item Information
ITEM NAME REF # PART NUMBER QUANTITY DESTINATION REMARKS
GASKET,DRUM COVER 11061 11061-0725 1
LEVER-COMP,CHANGE 13236 13236-0707 1
LEVER-COMP,CHANGE LEVER 13236A 13236-0708 1
COVER-COMP,CHANGE 14041 14041-0555 1
BEARING-NEEDLE,HK1210FM 92046 92046-0034 1
SEAL-OIL,CLUTCH RELEASE 92049 92049-1475 1
BOLT-FLANGED,6X20 130 130CA0620 1
BOLT-FLANGED-SMALL,6X30 132 132BA0630 5
PIN-DOWEL,6X12 551 551A0612 2