main content of page
Parts Diagrams
OWNER CENTER |
Welcome, Kawasaki owners. Access the information and tools you need to get the most out of your vehicle.
OWNER CENTER |
Welcome, Kawasaki owners. Access the information and tools you need to get the most out of your vehicle.
Parts Diagrams |
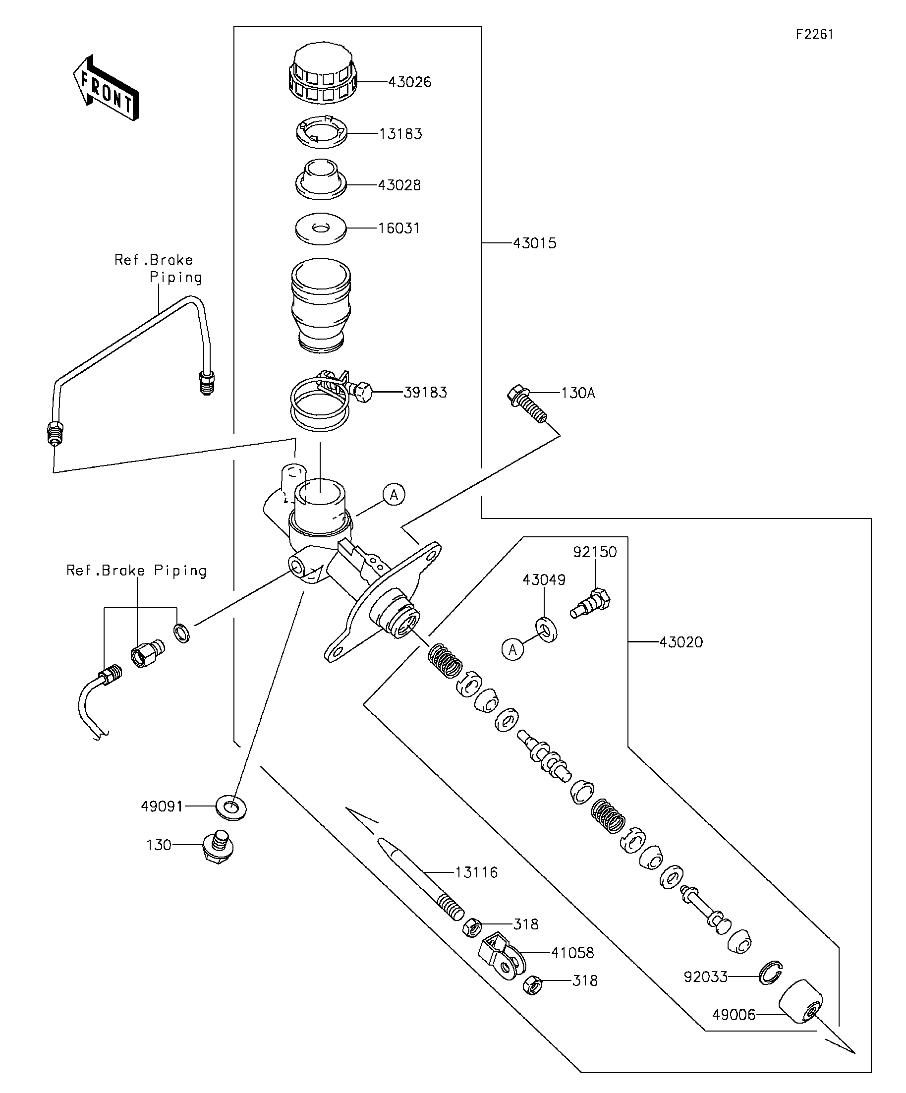
13116
13183
16031
39183
41058
43015
43020
43026
43028
43049
49006
49091
92033
92150
130
130A
318
318
| ITEM NAME | REF # | PART NUMBER | QUANTITY | DESTINATION | REMARKS |
|---|---|---|---|---|---|
| ROD-PUSH | 13116 | 13116-1134 | 1 | ||
| PLATE | 13183 | 13183-1306 | 1 | ||
| FLOAT | 16031 | 16031-1069 | 1 | ||
| BAND-ASSY | 39183 | 39183-1055 | 1 | ||
| RODEND-BRAKE | 41058 | 41058-1057 | 1 | ||
| CYLINDER-ASSY-MASTER | 43015 | 43015-1683 | 1 | ||
| PISTON-COMP-BRAKE | 43020 | 43020-1124 | 1 | ||
| CAP-BRAKE | 43026 | 43026-1067 | 1 | ||
| DIAPHRAGM | 43028 | 43028-1078 | 1 | ||
| PACKING | 43049 | 43049-1065 | 1 | ||
| BOOT | 49006 | 49006-1245 | 1 | ||
| WASHER-SEAL,10.1X14.5X1.5 | 49091 | 49091-0001 | 1 | ||
| RING-SNAP | 92033 | 92033-1255 | 1 | ||
| BOLT,STOP | 92150 | 92150-1165 | 1 | ||
| BOLT-FLANGED,10X12 | 130 | 130AA1012 | 1 | ||
| BOLT-FLANGED,8X25 | 130A | 130BA0825 | 2 | ||
| NUT-HEX-SMALL,8MM | 318 | 318BA0800 | 2 |
| ROD-PUSH | |
| REF # | 13116 |
|---|---|
| PART NUMBER | |
| QUANTITY | 1 |
| DESTINATION | |
| REMARKS | |
| PLATE | |
| REF # | 13183 |
|---|---|
| PART NUMBER | |
| QUANTITY | 1 |
| DESTINATION | |
| REMARKS | |
| FLOAT | |
| REF # | 16031 |
|---|---|
| PART NUMBER | |
| QUANTITY | 1 |
| DESTINATION | |
| REMARKS | |
| BAND-ASSY | |
| REF # | 39183 |
|---|---|
| PART NUMBER | |
| QUANTITY | 1 |
| DESTINATION | |
| REMARKS | |
| RODEND-BRAKE | |
| REF # | 41058 |
|---|---|
| PART NUMBER | |
| QUANTITY | 1 |
| DESTINATION | |
| REMARKS | |
| CYLINDER-ASSY-MASTER | |
| REF # | 43015 |
|---|---|
| PART NUMBER | |
| QUANTITY | 1 |
| DESTINATION | |
| REMARKS | |
| PISTON-COMP-BRAKE | |
| REF # | 43020 |
|---|---|
| PART NUMBER | |
| QUANTITY | 1 |
| DESTINATION | |
| REMARKS | |
| CAP-BRAKE | |
| REF # | 43026 |
|---|---|
| PART NUMBER | |
| QUANTITY | 1 |
| DESTINATION | |
| REMARKS | |
| DIAPHRAGM | |
| REF # | 43028 |
|---|---|
| PART NUMBER | |
| QUANTITY | 1 |
| DESTINATION | |
| REMARKS | |
| PACKING | |
| REF # | 43049 |
|---|---|
| PART NUMBER | |
| QUANTITY | 1 |
| DESTINATION | |
| REMARKS | |
| BOOT | |
| REF # | 49006 |
|---|---|
| PART NUMBER | |
| QUANTITY | 1 |
| DESTINATION | |
| REMARKS | |
| WASHER-SEAL,10.1X14.5X1.5 | |
| REF # | 49091 |
|---|---|
| PART NUMBER | |
| QUANTITY | 1 |
| DESTINATION | |
| REMARKS | |
| RING-SNAP | |
| REF # | 92033 |
|---|---|
| PART NUMBER | |
| QUANTITY | 1 |
| DESTINATION | |
| REMARKS | |
| BOLT,STOP | |
| REF # | 92150 |
|---|---|
| PART NUMBER | |
| QUANTITY | 1 |
| DESTINATION | |
| REMARKS | |
| BOLT-FLANGED,10X12 | |
| REF # | 130 |
|---|---|
| PART NUMBER | |
| QUANTITY | 1 |
| DESTINATION | |
| REMARKS | |
| BOLT-FLANGED,8X25 | |
| REF # | 130A |
|---|---|
| PART NUMBER | |
| QUANTITY | 2 |
| DESTINATION | |
| REMARKS | |
| NUT-HEX-SMALL,8MM | |
| REF # | 318 |
|---|---|
| PART NUMBER | |
| QUANTITY | 2 |
| DESTINATION | |
| REMARKS | |