main content of page
Parts Diagrams
                        OWNER CENTER | 
                    
        Welcome, Kawasaki owners. Access the information and tools you need to get the most out of your vehicle.
                            OWNER CENTER | 
                        
Welcome, Kawasaki owners. Access the information and tools you need to get the most out of your vehicle.
                            Parts Diagrams | 
                        
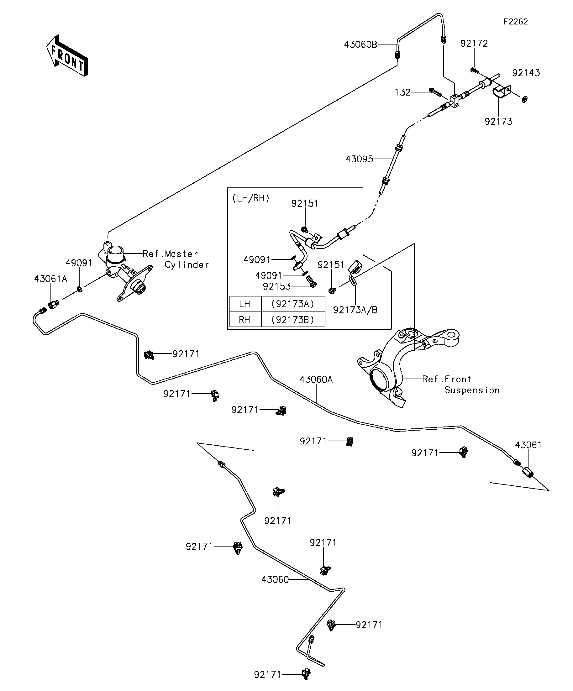
                                            43060
                                        
                                    
                                            43060A
                                        
                                    
                                            43060B
                                        
                                    
                                            43061
                                        
                                    
                                            43061A
                                        
                                    
                                            43095
                                        
                                    
                                            49091
                                        
                                    
                                            49091
                                        
                                    
                                            49091
                                        
                                    
                                            92143
                                        
                                    
                                            92151
                                        
                                    
                                            92151
                                        
                                    
                                            92153
                                        
                                    
                                            92171
                                        
                                    
                                            92171
                                        
                                    
                                            92171
                                        
                                    
                                            92171
                                        
                                    
                                            92171
                                        
                                    
                                            92171
                                        
                                    
                                            92171
                                        
                                    
                                            92171
                                        
                                    
                                            92171
                                        
                                    
                                            92171
                                        
                                    
                                            92172
                                        
                                    
                                            92173
                                        
                                    
                                            92173A
                                        
                                    
                                            92173B
                                        
                                    
                                            132
                                        
                                    | ITEM NAME | REF # | PART NUMBER | QUANTITY | DESTINATION | REMARKS | 
|---|---|---|---|---|---|
| PIPE-BRAKE,JOINT-BRAKE | 43060 | 43060-0311 | 1 | ||
| PIPE-BRAKE,M/C-JOINT | 43060A | 43060-0316 | 1 | ||
| PIPE-BRAKE,M/C-FR JOINT | 43060B | 43060-0320 | 1 | ||
| JOINT-BRAKE | 43061 | 43061-0003 | 1 | ||
| JOINT-BRAKE,M/C | 43061A | 43061-0302 | 1 | ||
| HOSE-BRAKE | 43095 | 43095-0618 | 1 | ||
| WASHER-SEAL,10.1X14.5X1.5 | 49091 | 49091-0001 | 5 | ||
| COLLAR | 92143 | 92143-1087 | 1 | ||
| BOLT,6X10 | 92151 | 92151-1344 | 4 | ||
| BOLT,OIL,L=23 | 92153 | 92153-0627 | 2 | ||
| CLAMP | 92171 | 92171-0805 | 10 | ||
| SCREW,TAPPING,6X16 | 92172 | 92172-0739 | 1 | ||
| CLAMP | 92173 | 92173-0930 | 1 | ||
| CLAMP,LH | 92173A | 92173-0934 | 1 | ||
| CLAMP,RH | 92173B | 92173-0935 | 1 | ||
| BOLT-FLANGED-SMALL,6X30 | 132 | 132BA0630 | 1 | 
| PIPE-BRAKE,JOINT-BRAKE | |
| REF # | 43060 | 
|---|---|
| PART NUMBER | |
| QUANTITY | 1 | 
| DESTINATION | |
| REMARKS | |
| PIPE-BRAKE,M/C-JOINT | |
| REF # | 43060A | 
|---|---|
| PART NUMBER | |
| QUANTITY | 1 | 
| DESTINATION | |
| REMARKS | |
| PIPE-BRAKE,M/C-FR JOINT | |
| REF # | 43060B | 
|---|---|
| PART NUMBER | |
| QUANTITY | 1 | 
| DESTINATION | |
| REMARKS | |
| JOINT-BRAKE | |
| REF # | 43061 | 
|---|---|
| PART NUMBER | |
| QUANTITY | 1 | 
| DESTINATION | |
| REMARKS | |
| JOINT-BRAKE,M/C | |
| REF # | 43061A | 
|---|---|
| PART NUMBER | |
| QUANTITY | 1 | 
| DESTINATION | |
| REMARKS | |
| HOSE-BRAKE | |
| REF # | 43095 | 
|---|---|
| PART NUMBER | |
| QUANTITY | 1 | 
| DESTINATION | |
| REMARKS | |
| WASHER-SEAL,10.1X14.5X1.5 | |
| REF # | 49091 | 
|---|---|
| PART NUMBER | |
| QUANTITY | 5 | 
| DESTINATION | |
| REMARKS | |
| COLLAR | |
| REF # | 92143 | 
|---|---|
| PART NUMBER | |
| QUANTITY | 1 | 
| DESTINATION | |
| REMARKS | |
| BOLT,6X10 | |
| REF # | 92151 | 
|---|---|
| PART NUMBER | |
| QUANTITY | 4 | 
| DESTINATION | |
| REMARKS | |
| BOLT,OIL,L=23 | |
| REF # | 92153 | 
|---|---|
| PART NUMBER | |
| QUANTITY | 2 | 
| DESTINATION | |
| REMARKS | |
| CLAMP | |
| REF # | 92171 | 
|---|---|
| PART NUMBER | |
| QUANTITY | 10 | 
| DESTINATION | |
| REMARKS | |
| SCREW,TAPPING,6X16 | |
| REF # | 92172 | 
|---|---|
| PART NUMBER | |
| QUANTITY | 1 | 
| DESTINATION | |
| REMARKS | |
| CLAMP | |
| REF # | 92173 | 
|---|---|
| PART NUMBER | |
| QUANTITY | 1 | 
| DESTINATION | |
| REMARKS | |
| CLAMP,LH | |
| REF # | 92173A | 
|---|---|
| PART NUMBER | |
| QUANTITY | 1 | 
| DESTINATION | |
| REMARKS | |
| CLAMP,RH | |
| REF # | 92173B | 
|---|---|
| PART NUMBER | |
| QUANTITY | 1 | 
| DESTINATION | |
| REMARKS | |
| BOLT-FLANGED-SMALL,6X30 | |
| REF # | 132 | 
|---|---|
| PART NUMBER | |
| QUANTITY | 1 | 
| DESTINATION | |
| REMARKS | |