main content of page
Parts Diagrams
OWNER CENTER |

Welcome, Kawasaki owners. Access the information and tools you need to get the most out of your vehicle.
OWNER CENTER |
Welcome, Kawasaki owners. Access the information and tools you need to get the most out of your vehicle.
Parts Diagrams |
11012
11012
41034
41068
42041
92015
92033
92045
92045
92049
92049
92057
92058
92152
92152A
92152B
92154
92200
92210
410
550
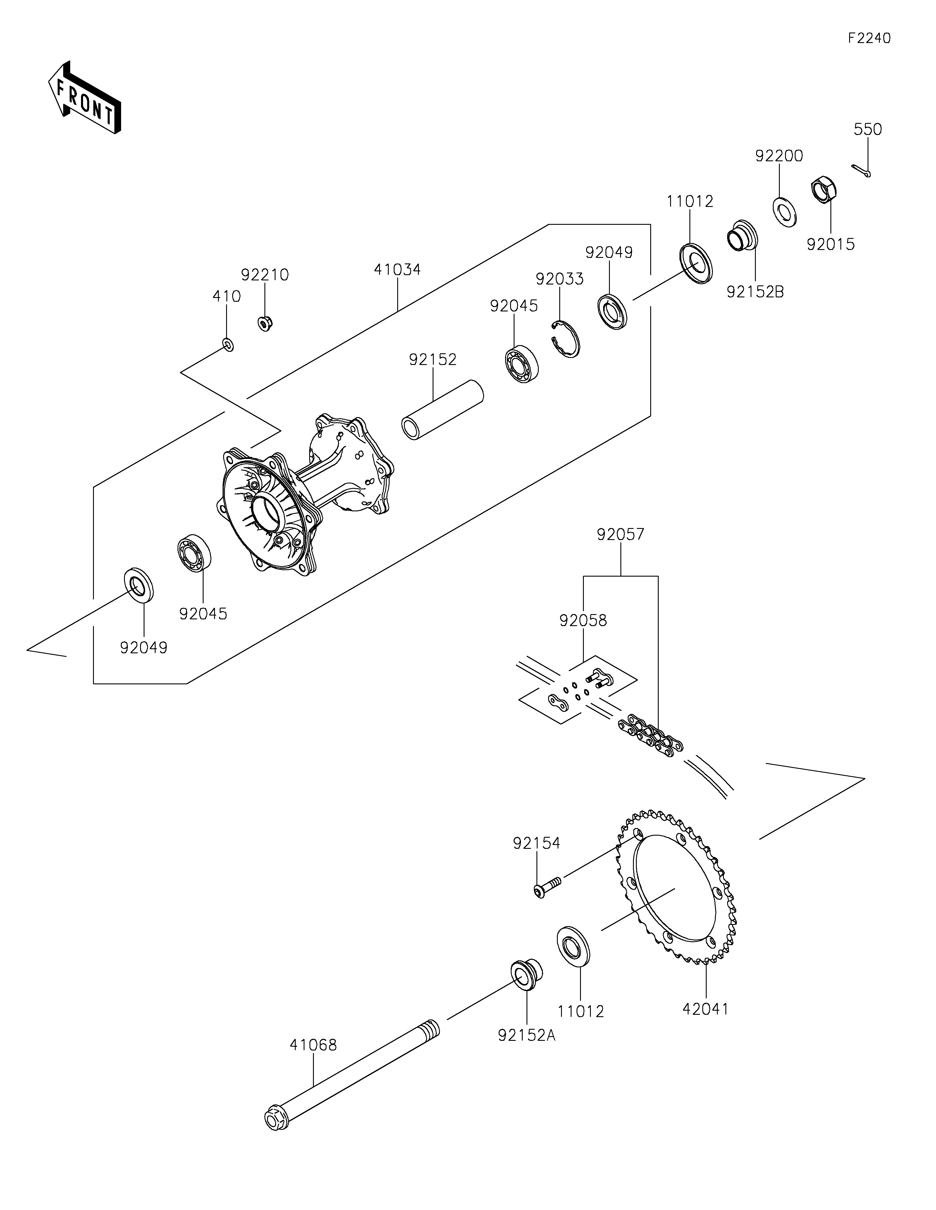
ITEM NAME | REF # | PART NUMBER | QUANTITY | DESTINATION | REMARKS |
---|---|---|---|---|---|
CAP,AXLE | 11012 | 11012-1581 | 2 | ||
DRUM-ASSY,REAR BRAKE,BLACK | 41034 | 41034-0053-18R | 1 | ||
AXLE,RR,20X250 | 41068 | 41068-0602 | 1 | ||
SPROCKET-HUB,37T | 42041 | 42041-0184 | 1 | ||
NUT,LOCK,20MM | 92015 | 92015-1770 | 1 | ||
RING-SNAP,42MM | 92033 | 92033-1041 | 1 | ||
BEARING-BALL,6004X8JRLLX2/3A | 92045 | 92045-1239 | 2 | ||
SEAL-OIL,BJNC2 25425 | 92049 | 92049-1203 | 2 | ||
CHAIN,DRIVE,EK520SRO2X104L | 92057 | 92057-0770 | 1 | ||
JOINT-CHAIN,DRIVE | 92058 | 92058-1102 | 1 | ||
COLLAR,REAR BRAKE DRUM,L=105 | 92152 | 92152-0529 | 1 | ||
COLLAR,RR AXLE,LH,L=22 | 92152A | 92152-0734 | 1 | ||
COLLAR,RR AXLE,RH,L=20 | 92152B | 92152-0735 | 1 | ||
BOLT,SOCKET,8X28 | 92154 | 92154-4183 | 6 | ||
WASHER,20.2X36X2 | 92200 | 92200-1146 | 1 | ||
NUT,FLANGED,LOCK,8MM | 92210 | 92210-0493 | 6 | ||
WASHER-PLAIN-SMALL,8MM | 410 | 410AA0800 | 6 | ||
PIN-COTTER,3.0X25 | 550 | 550AA3025 | 1 |
CAP,AXLE | |
REF # | 11012 |
---|---|
PART NUMBER | |
QUANTITY | 2 |
DESTINATION | |
REMARKS |
DRUM-ASSY,REAR BRAKE,BLACK | |
REF # | 41034 |
---|---|
PART NUMBER | |
QUANTITY | 1 |
DESTINATION | |
REMARKS |
AXLE,RR,20X250 | |
REF # | 41068 |
---|---|
PART NUMBER | |
QUANTITY | 1 |
DESTINATION | |
REMARKS |
SPROCKET-HUB,37T | |
REF # | 42041 |
---|---|
PART NUMBER | |
QUANTITY | 1 |
DESTINATION | |
REMARKS |
NUT,LOCK,20MM | |
REF # | 92015 |
---|---|
PART NUMBER | |
QUANTITY | 1 |
DESTINATION | |
REMARKS |
RING-SNAP,42MM | |
REF # | 92033 |
---|---|
PART NUMBER | |
QUANTITY | 1 |
DESTINATION | |
REMARKS |
BEARING-BALL,6004X8JRLLX2/3A | |
REF # | 92045 |
---|---|
PART NUMBER | |
QUANTITY | 2 |
DESTINATION | |
REMARKS |
SEAL-OIL,BJNC2 25425 | |
REF # | 92049 |
---|---|
PART NUMBER | |
QUANTITY | 2 |
DESTINATION | |
REMARKS |
CHAIN,DRIVE,EK520SRO2X104L | |
REF # | 92057 |
---|---|
PART NUMBER | |
QUANTITY | 1 |
DESTINATION | |
REMARKS |
JOINT-CHAIN,DRIVE | |
REF # | 92058 |
---|---|
PART NUMBER | |
QUANTITY | 1 |
DESTINATION | |
REMARKS |
COLLAR,REAR BRAKE DRUM,L=105 | |
REF # | 92152 |
---|---|
PART NUMBER | |
QUANTITY | 1 |
DESTINATION | |
REMARKS |
COLLAR,RR AXLE,LH,L=22 | |
REF # | 92152A |
---|---|
PART NUMBER | |
QUANTITY | 1 |
DESTINATION | |
REMARKS |
COLLAR,RR AXLE,RH,L=20 | |
REF # | 92152B |
---|---|
PART NUMBER | |
QUANTITY | 1 |
DESTINATION | |
REMARKS |
BOLT,SOCKET,8X28 | |
REF # | 92154 |
---|---|
PART NUMBER | |
QUANTITY | 6 |
DESTINATION | |
REMARKS |
WASHER,20.2X36X2 | |
REF # | 92200 |
---|---|
PART NUMBER | |
QUANTITY | 1 |
DESTINATION | |
REMARKS |
NUT,FLANGED,LOCK,8MM | |
REF # | 92210 |
---|---|
PART NUMBER | |
QUANTITY | 6 |
DESTINATION | |
REMARKS |
WASHER-PLAIN-SMALL,8MM | |
REF # | 410 |
---|---|
PART NUMBER | |
QUANTITY | 6 |
DESTINATION | |
REMARKS |
PIN-COTTER,3.0X25 | |
REF # | 550 |
---|---|
PART NUMBER | |
QUANTITY | 1 |
DESTINATION | |
REMARKS |