Skip to main content

Parts Diagrams

customer service agent speaking with a customer

Welcome, Kawasaki owners. Access the information and tools you need to get the most out of your vehicle.

Welcome, Kawasaki owners. Access the information and tools you need to get the most out of your vehicle.

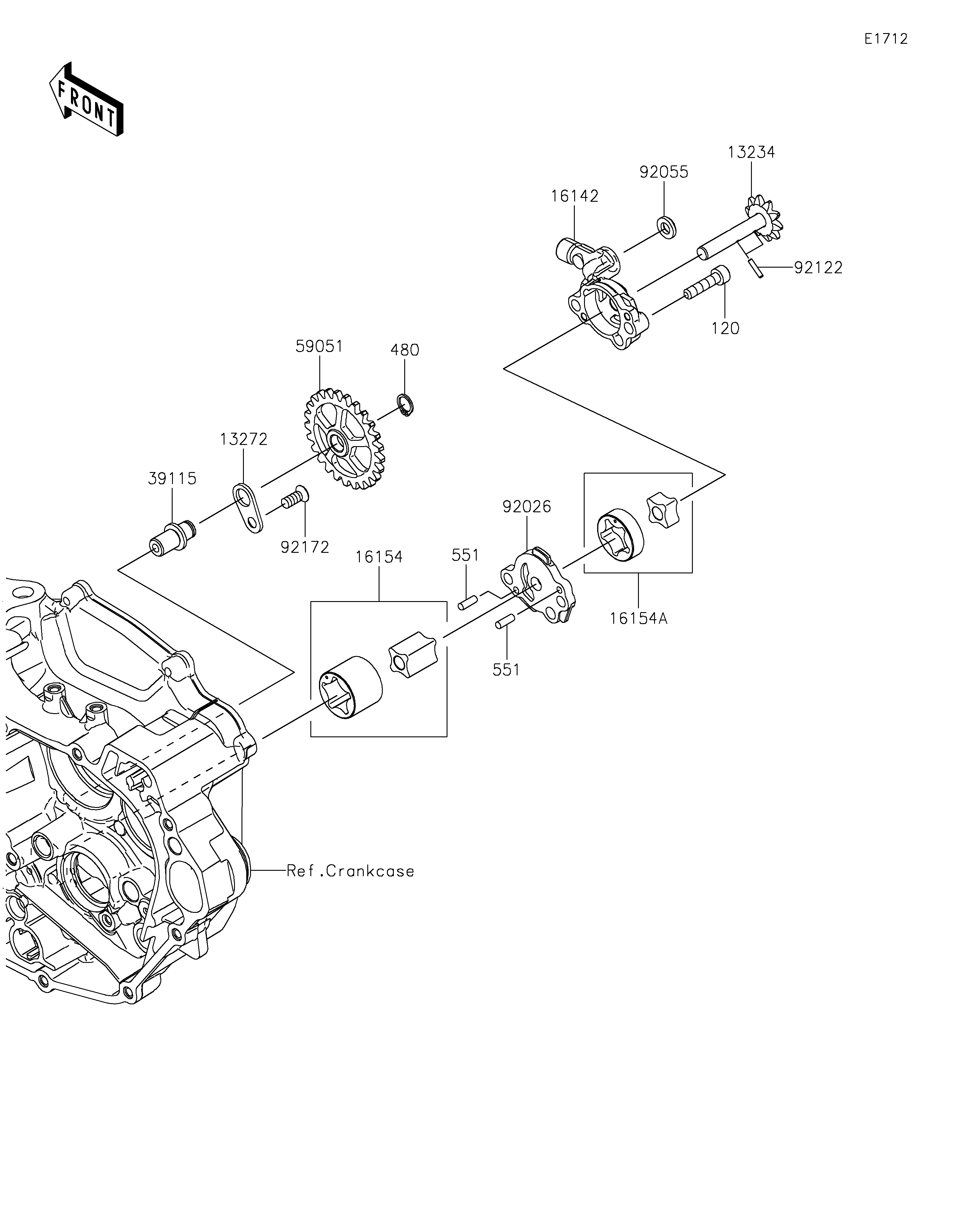
13234
13272
16142
16154
16154A
39115
59051
92026
92055
92122
92172
120
480
551
551
Part Item Information
ITEM NAME REF # PART NUMBER QUANTITY DESTINATION REMARKS
SHAFT-COMP,10T 13234 13234-0604 1
PLATE 13272 13272-1944 1
COVER-PUMP,OIL 16142 16142-5003 1
ROTOR-PUMP,SCAVENGE 16154 16154-0726 1
ROTOR-PUMP,FEED 16154A 16154-0729 1
SHAFT-IDLER 39115 39115-0024 1
GEAR-SPUR,OIL PUMP DRIVE,25T 59051 59051-0770 1
SPACER 92026 92026-0804 1
RING-O,OD=13 92055 92055-074 1
ROLLER,2.5X11.8 92122 92122-0021 2
SCREW,6X14 92172 92172-0087 1
BOLT-SOCKET,6X25 120 120CA0625 2
CIRCLIP-TYPE-C,10MM 480 480J1000 1
PIN-DOWEL 551 551A0412 2