Skip to main content

Parts Diagrams

customer service agent speaking with a customer

Welcome, Kawasaki owners. Access the information and tools you need to get the most out of your vehicle.

Welcome, Kawasaki owners. Access the information and tools you need to get the most out of your vehicle.

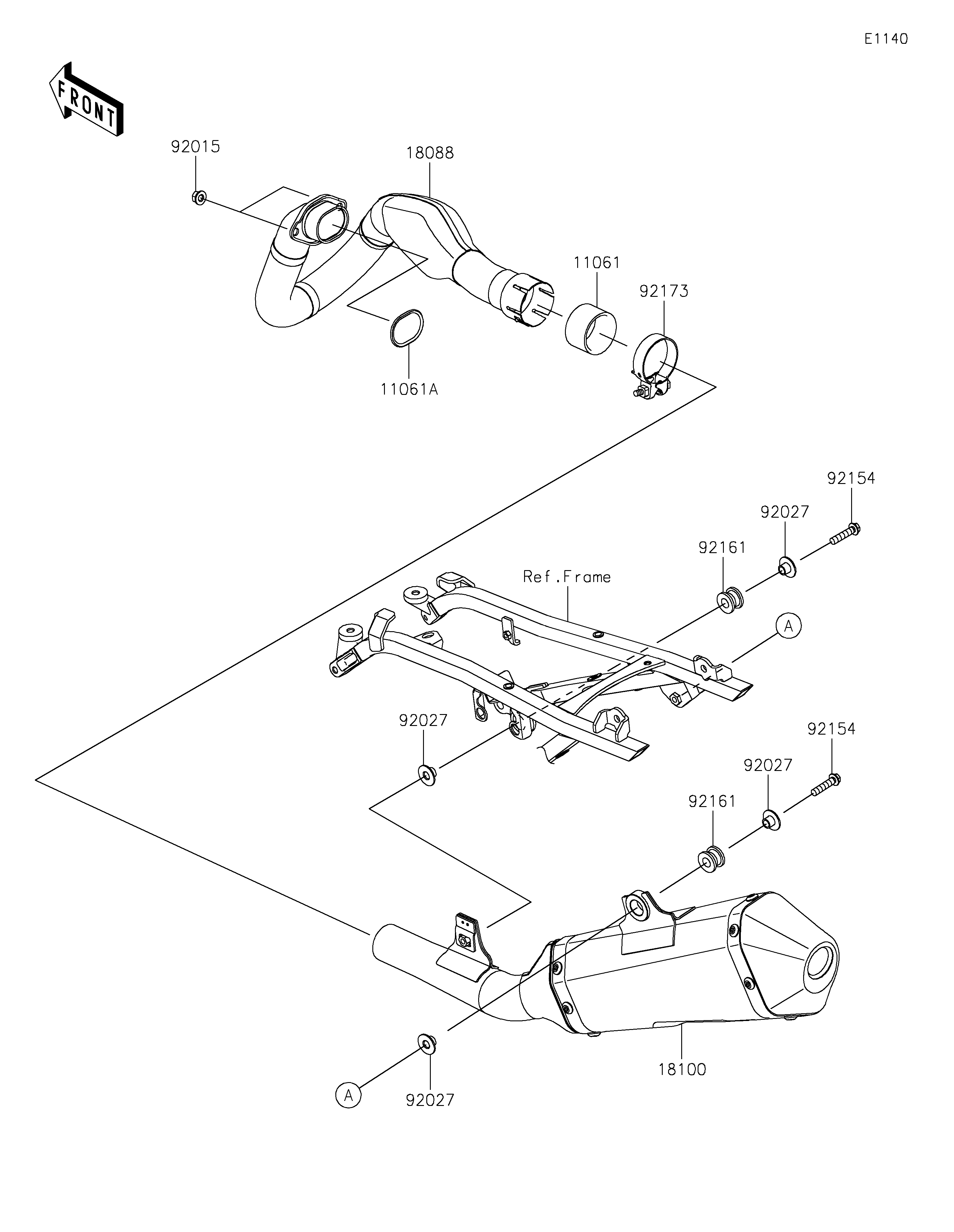
11061
11061A
18088
18100
92015
92027
92027
92027
92027
92154
92154
92161
92161
92173
Part Item Information
ITEM NAME REF # PART NUMBER QUANTITY DESTINATION REMARKS
GASKET,CONNECTING 11061 11061-0434 1
GASKET 11061A 11061-1536 1
PIPE-EXHAUST 18088 18088-1732 1
BODY-ASSY-MUFFLER 18100 18100-0627 1
NUT,8MM 92015 92015-1402 2
COLLAR,FLANGED,8.8X10.6 92027 92027-1653 4
BOLT,FLANGED,8X35 92154 92154-2985 2
DAMPER 92161 92161-2661 2
CLAMP 92173 92173-2327 1