Skip to main content

Parts Diagrams

customer service agent speaking with a customer

Welcome, Kawasaki owners. Access the information and tools you need to get the most out of your vehicle.

Welcome, Kawasaki owners. Access the information and tools you need to get the most out of your vehicle.

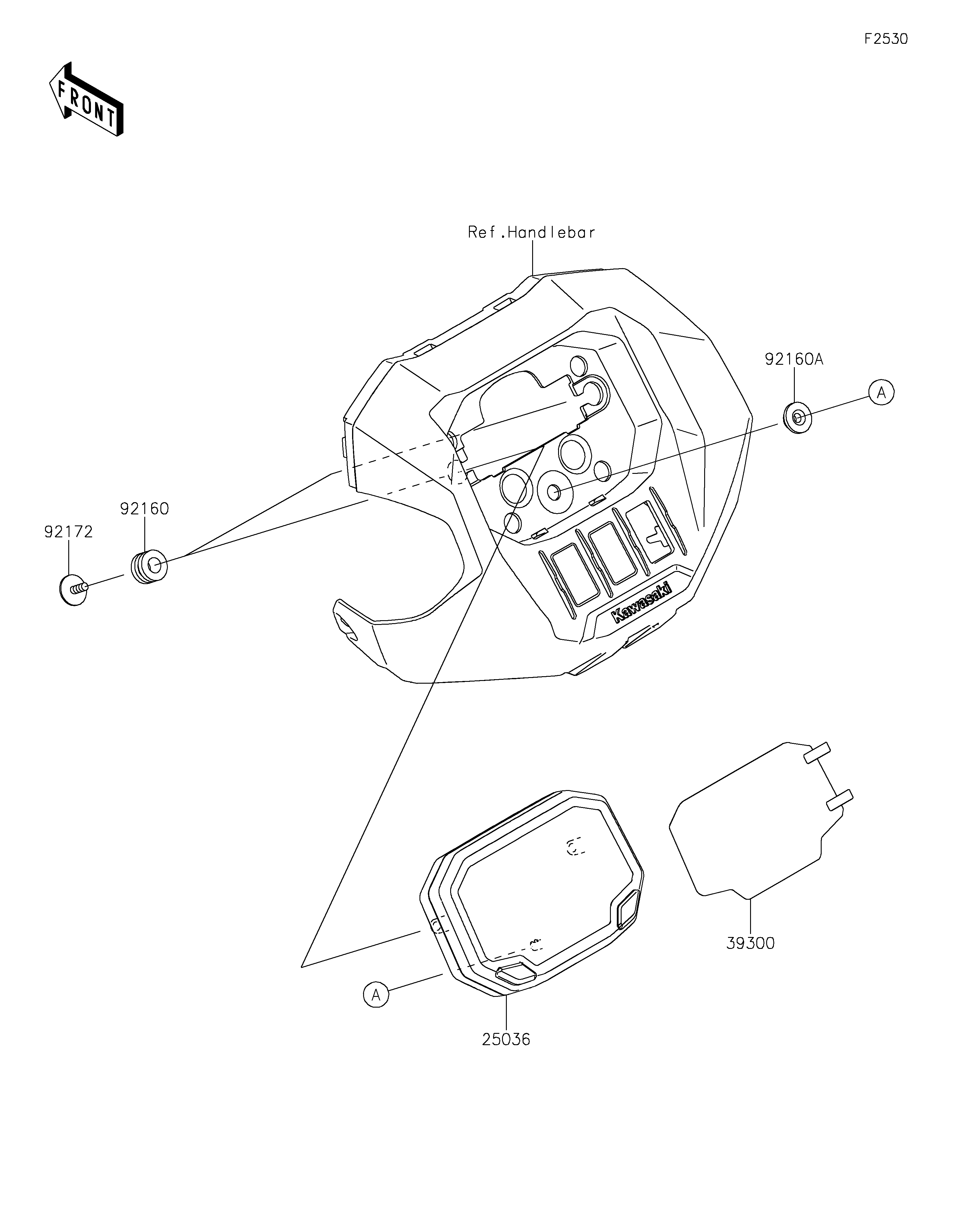
25036
39300
92160
92160A
92172
Part Item Information
ITEM NAME REF # PART NUMBER QUANTITY DESTINATION REMARKS
METER-ASSY,TFT DISPLAY 25036 25036-0095 1
FILM 39300 39300-0001 1
DAMPER,10X20X12 92160 92160-1167 2
DAMPER 92160A 92160-1613 1
SCREW,CROSS,5X14 92172 92172-1226 2