Skip to main content

Parts Diagrams

customer service agent speaking with a customer

Welcome, Kawasaki owners. Access the information and tools you need to get the most out of your vehicle.

Welcome, Kawasaki owners. Access the information and tools you need to get the most out of your vehicle.

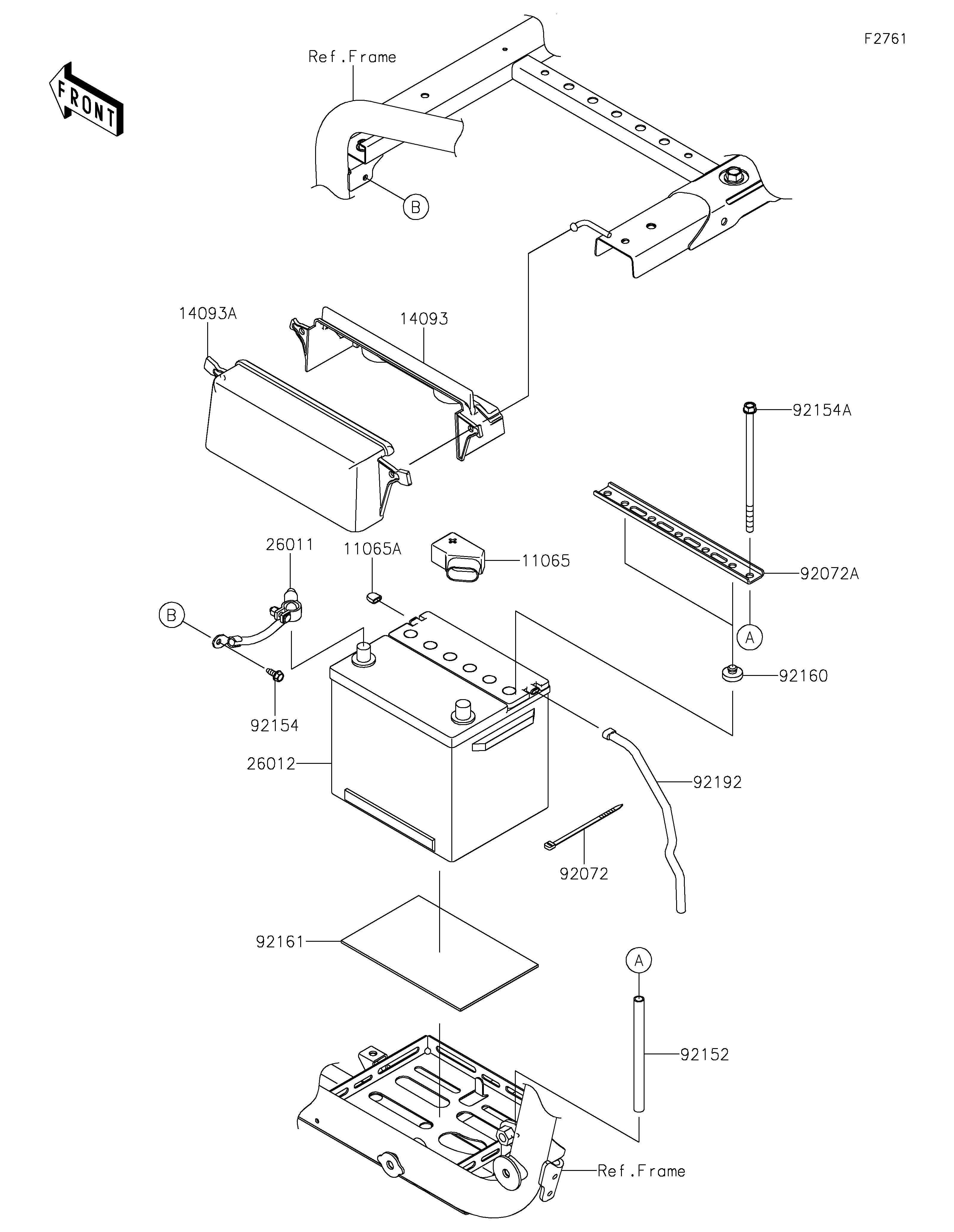
11065
11065A
14093
14093A
26011
26012
92072
92072A
92152
92154
92154A
92160
92161
92192
Part Item Information
ITEM NAME REF # PART NUMBER QUANTITY DESTINATION REMARKS
CAP 11065 11065-0850 1
CAP 11065A 11065-1518 1
COVER,BATTERY TERMINAL,INNER 14093 14093-0800 1
COVER,BATTERY TERMINAL,OUTER 14093A 14093-0801 1
WIRE-LEAD,BATTERY(-) 26011 26011-1871 1
BATTERY,WET,(26R) 26012 26012-1569 1
BAND,92X2.4 92072 92072-0791 1
BAND,BATTERY 92072A 92072-0844 1
COLLAR,9.4X12.7X160 92152 92152-2584 1
BOLT,FLANGED,6X16 92154 92154-0551 1
BOLT,FLANGED,8X175 92154A 92154-3973 2
DAMPER 92160 92160-1396 2
DAMPER 92161 92161-0578 1
TUBE,BREATHER,7X10X300 92192 92192-2257 1