Skip to main content

Parts Diagrams

customer service agent speaking with a customer

Welcome, Kawasaki owners. Access the information and tools you need to get the most out of your vehicle.

Welcome, Kawasaki owners. Access the information and tools you need to get the most out of your vehicle.

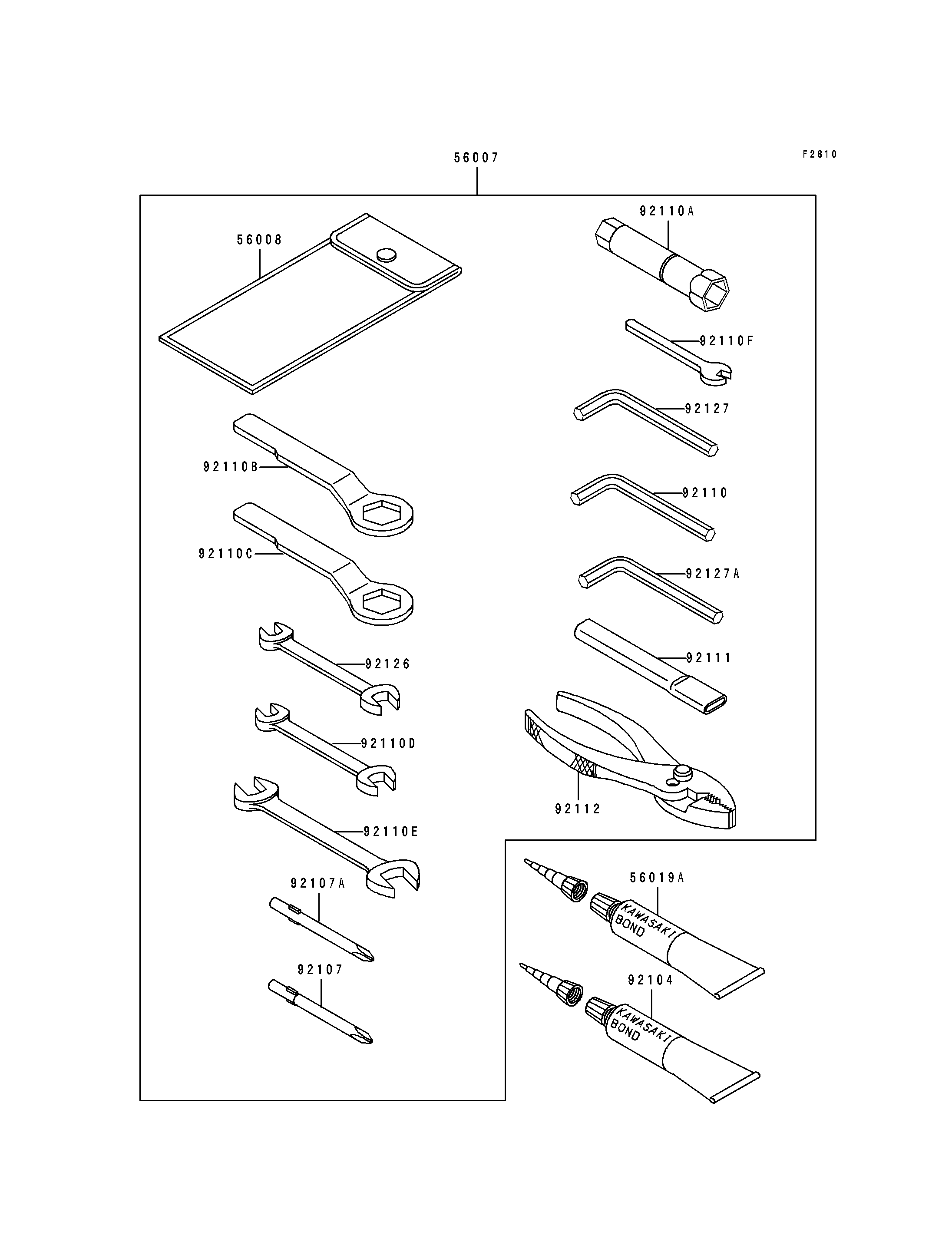
Part Item Information
ITEM NAME REF # PART NUMBER QUANTITY DESTINATION REMARKS
TOOL-KIT 56007 56007-1351 1
BAG,TOOL 56008 56008-1019 1
THREE BOND TB1211,HT/RS,WHITE 56019A 56019-120 1
GASKET-LIQUID,TUBE,100G,BLACK 92104 92104-1003 1
TOOL-DRIVER,#3PHILLIPS 92107 92107-005 1
TOOL-DRIVER,#2PHILLIPS 92107A 92107-1053 1
TOOL-WRENCH,ALLEN,5MM 92110 92110-1015 1
TOOL-WRENCH,BOX,16MM 92110A 92110-1146 1
TOOL-WRENCH,BOX END,24MM 92110B 92110-1150 1
TOOL-WRENCH,BOX END,19MM 92110C 92110-1151 1
TOOL-WRENCH,OPEN END,10X12 92110D 92110-1152 1
TOOL-WRENCH,OPEN END,14X17 92110E 92110-1153 1
TOOL-WRENCH,OPEN END,6MM 92110F 92110-1157 1
TOOL-BAR,BOX END WRENCH 92111 92111-1051 1
TOOL-PLIERS 92112 92112-003 1
TOOL-WRENCH,OPEN END,8X10 92126 92126-001 1
TOOL-WRENCH,ALLEN,8MM 92127 92127-002 1
TOOL-WRENCH,ALLEN,6MM 92127A 92127-003 1