main content of page
Parts Diagrams
OWNER CENTER |

Welcome, Kawasaki owners. Access the information and tools you need to get the most out of your vehicle.
OWNER CENTER |
Welcome, Kawasaki owners. Access the information and tools you need to get the most out of your vehicle.
Parts Diagrams |
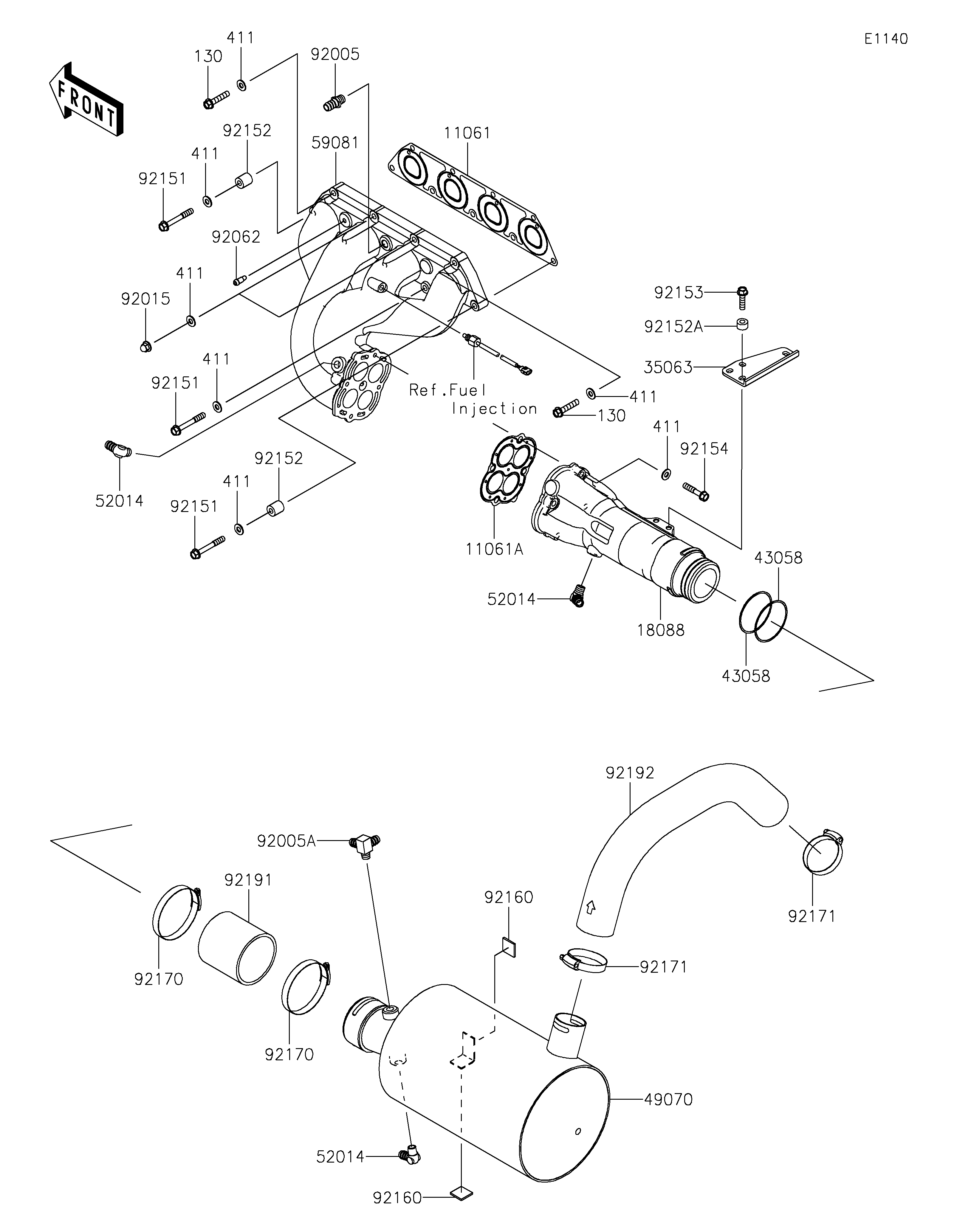
2023 JET SKI® ULTRA® 160LX-S - Muffler(s)
11061
11061A
18088
35063
43058
43058
49070
52014
52014
52014
59081
92005
92005A
92015
92062
92151
92151
92151
92152
92152
92152A
92153
92154
92160
92160
92170
92170
92171
92171
92191
92192
130
130
411
411
411
411
411
411
411
ITEM NAME | REF # | PART NUMBER | QUANTITY | DESTINATION | REMARKS |
---|---|---|---|---|---|
GASKET,MANIFOLD EXHAUST | 11061 | 11061-3713 | 1 | ||
GASKET,PIPE EXHAUST | 11061A | 11061-3714 | 1 | ||
PIPE-EXHAUST | 18088 | 18088-3723 | 1 | ||
STAY | 35063 | 35063-3704 | 1 | ||
RING,GASKET | 43058 | 43058-3733 | 2 | ||
MUFFLER-COMP | 49070 | 49070-0045 | 1 | ||
ELBOW | 52014 | 52014-3711 | 3 | ||
MANIFOLD-EXHAUST | 59081 | 59081-3741 | 1 | ||
FITTING | 92005 | 92005-3714 | 1 | ||
FITTING | 92005A | 92005-3751 | 1 | ||
NUT,CAP,8MM | 92015 | 92015-1371 | 2 | ||
NOZZLE | 92062 | 92062-0562 | 1 | ||
BOLT,8X60 | 92151 | 92151-3730 | 5 | ||
COLLAR | 92152 | 92152-3736 | 2 | ||
COLLAR,8.2X17X10 | 92152A | 92152-3740 | 4 | ||
BOLT,FLANGED,8X30 | 92153 | 92153-3722 | 4 | ||
BOLT,FLANGED,8X40 | 92154 | 92154-0992 | 4 | ||
DAMPER,25X25 | 92160 | 92160-3864 | 2 | ||
CLAMP | 92170 | 92170-3764 | 2 | ||
CLAMP | 92171 | 92171-3723 | 2 | ||
TUBE,PIPE EX-MUFFLER | 92191 | 92191-3986 | 1 | ||
TUBE,W/M-TAIL PIPE | 92192 | 92192-1173 | 1 | ||
BOLT-FLANGED,8X40 | 130 | 130CD0840 | 2 | ||
WASHER-PLAIN,8MM | 411 | 411S0800 | 13 |
GASKET,MANIFOLD EXHAUST | |
REF # | 11061 |
---|---|
PART NUMBER | |
QUANTITY | 1 |
DESTINATION | |
REMARKS |
GASKET,PIPE EXHAUST | |
REF # | 11061A |
---|---|
PART NUMBER | |
QUANTITY | 1 |
DESTINATION | |
REMARKS |
PIPE-EXHAUST | |
REF # | 18088 |
---|---|
PART NUMBER | |
QUANTITY | 1 |
DESTINATION | |
REMARKS |
STAY | |
REF # | 35063 |
---|---|
PART NUMBER | |
QUANTITY | 1 |
DESTINATION | |
REMARKS |
RING,GASKET | |
REF # | 43058 |
---|---|
PART NUMBER | |
QUANTITY | 2 |
DESTINATION | |
REMARKS |
MUFFLER-COMP | |
REF # | 49070 |
---|---|
PART NUMBER | |
QUANTITY | 1 |
DESTINATION | |
REMARKS |
ELBOW | |
REF # | 52014 |
---|---|
PART NUMBER | |
QUANTITY | 3 |
DESTINATION | |
REMARKS |
MANIFOLD-EXHAUST | |
REF # | 59081 |
---|---|
PART NUMBER | |
QUANTITY | 1 |
DESTINATION | |
REMARKS |
FITTING | |
REF # | 92005 |
---|---|
PART NUMBER | |
QUANTITY | 1 |
DESTINATION | |
REMARKS |
FITTING | |
REF # | 92005A |
---|---|
PART NUMBER | |
QUANTITY | 1 |
DESTINATION | |
REMARKS |
NUT,CAP,8MM | |
REF # | 92015 |
---|---|
PART NUMBER | |
QUANTITY | 2 |
DESTINATION | |
REMARKS |
NOZZLE | |
REF # | 92062 |
---|---|
PART NUMBER | |
QUANTITY | 1 |
DESTINATION | |
REMARKS |
BOLT,8X60 | |
REF # | 92151 |
---|---|
PART NUMBER | |
QUANTITY | 5 |
DESTINATION | |
REMARKS |
COLLAR | |
REF # | 92152 |
---|---|
PART NUMBER | |
QUANTITY | 2 |
DESTINATION | |
REMARKS |
COLLAR,8.2X17X10 | |
REF # | 92152A |
---|---|
PART NUMBER | |
QUANTITY | 4 |
DESTINATION | |
REMARKS |
BOLT,FLANGED,8X30 | |
REF # | 92153 |
---|---|
PART NUMBER | |
QUANTITY | 4 |
DESTINATION | |
REMARKS |
BOLT,FLANGED,8X40 | |
REF # | 92154 |
---|---|
PART NUMBER | |
QUANTITY | 4 |
DESTINATION | |
REMARKS |
DAMPER,25X25 | |
REF # | 92160 |
---|---|
PART NUMBER | |
QUANTITY | 2 |
DESTINATION | |
REMARKS |
CLAMP | |
REF # | 92170 |
---|---|
PART NUMBER | |
QUANTITY | 2 |
DESTINATION | |
REMARKS |
CLAMP | |
REF # | 92171 |
---|---|
PART NUMBER | |
QUANTITY | 2 |
DESTINATION | |
REMARKS |
TUBE,PIPE EX-MUFFLER | |
REF # | 92191 |
---|---|
PART NUMBER | |
QUANTITY | 1 |
DESTINATION | |
REMARKS |
TUBE,W/M-TAIL PIPE | |
REF # | 92192 |
---|---|
PART NUMBER | |
QUANTITY | 1 |
DESTINATION | |
REMARKS |
BOLT-FLANGED,8X40 | |
REF # | 130 |
---|---|
PART NUMBER | |
QUANTITY | 2 |
DESTINATION | |
REMARKS |
WASHER-PLAIN,8MM | |
REF # | 411 |
---|---|
PART NUMBER | |
QUANTITY | 13 |
DESTINATION | |
REMARKS |