main content of page
Parts Diagrams
OWNER CENTER |
Welcome, Kawasaki owners. Access the information and tools you need to get the most out of your vehicle.
OWNER CENTER |
Welcome, Kawasaki owners. Access the information and tools you need to get the most out of your vehicle.
Parts Diagrams |
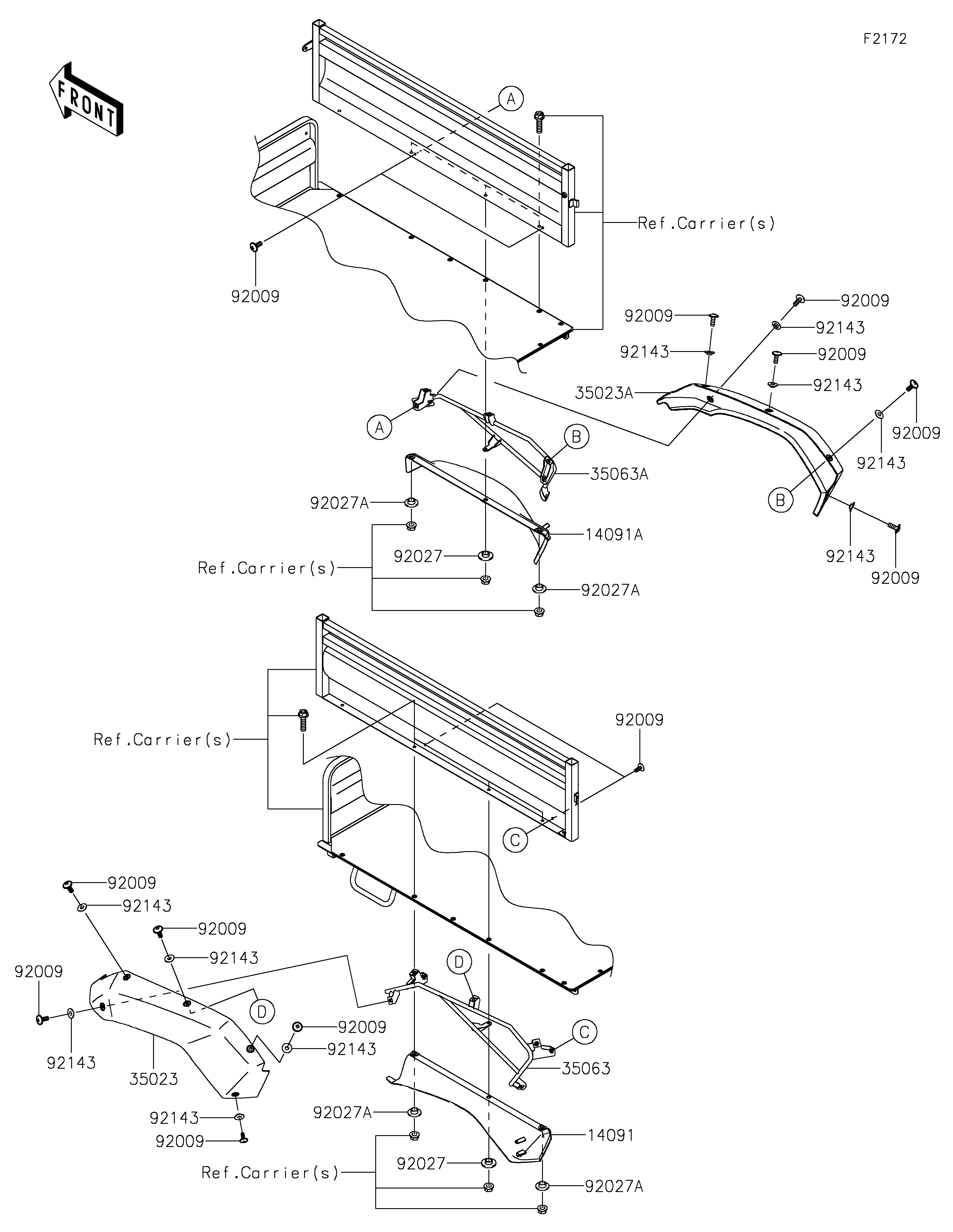
2024 MULE™ 4010 4x4 FE - Rear Fender(s)
14091
14091A
35023
35023A
35063
35063A
92009
92009
92009
92009
92009
92009
92009
92009
92009
92009
92009
92009
92027
92027
92027A
92027A
92027A
92027A
92143
92143
92143
92143
92143
92143
92143
92143
92143
92143
| ITEM NAME | REF # | PART NUMBER | QUANTITY | DESTINATION | REMARKS |
|---|---|---|---|---|---|
| COVER,FENDER,INSIDE,RR,LH | 14091 | 14091-1634 | 1 | ||
| COVER,FENDER,INSIDE,RR,RH | 14091A | 14091-1635 | 1 | ||
| FENDER-REAR,LH,F.BLACK | 35023 | 35023-0121-6Z | 1 | ||
| FENDER-REAR,RH,F.BLACK | 35023A | 35023-0122-6Z | 1 | ||
| STAY,RR,LH | 35063 | 35063-0449 | 1 | ||
| STAY,RR,RH | 35063A | 35063-0450 | 1 | ||
| SCREW,6X16 | 92009 | 92009-1621 | 14 | ||
| COLLAR | 92027 | 92027-1354 | 2 | ||
| COLLAR | 92027A | 92027-1908 | 4 | ||
| COLLAR | 92143 | 92143-1087 | 10 |
| COVER,FENDER,INSIDE,RR,LH | |
| REF # | 14091 |
|---|---|
| PART NUMBER | |
| QUANTITY | 1 |
| DESTINATION | |
| REMARKS | |
| COVER,FENDER,INSIDE,RR,RH | |
| REF # | 14091A |
|---|---|
| PART NUMBER | |
| QUANTITY | 1 |
| DESTINATION | |
| REMARKS | |
| FENDER-REAR,LH,F.BLACK | |
| REF # | 35023 |
|---|---|
| PART NUMBER | |
| QUANTITY | 1 |
| DESTINATION | |
| REMARKS | |
| FENDER-REAR,RH,F.BLACK | |
| REF # | 35023A |
|---|---|
| PART NUMBER | |
| QUANTITY | 1 |
| DESTINATION | |
| REMARKS | |
| STAY,RR,LH | |
| REF # | 35063 |
|---|---|
| PART NUMBER | |
| QUANTITY | 1 |
| DESTINATION | |
| REMARKS | |
| STAY,RR,RH | |
| REF # | 35063A |
|---|---|
| PART NUMBER | |
| QUANTITY | 1 |
| DESTINATION | |
| REMARKS | |
| SCREW,6X16 | |
| REF # | 92009 |
|---|---|
| PART NUMBER | |
| QUANTITY | 14 |
| DESTINATION | |
| REMARKS | |
| COLLAR | |
| REF # | 92027 |
|---|---|
| PART NUMBER | |
| QUANTITY | 2 |
| DESTINATION | |
| REMARKS | |
| COLLAR | |
| REF # | 92027A |
|---|---|
| PART NUMBER | |
| QUANTITY | 4 |
| DESTINATION | |
| REMARKS | |
| COLLAR | |
| REF # | 92143 |
|---|---|
| PART NUMBER | |
| QUANTITY | 10 |
| DESTINATION | |
| REMARKS | |