main content of page
Parts Diagrams
OWNER CENTER |

Welcome, Kawasaki owners. Access the information and tools you need to get the most out of your vehicle.
OWNER CENTER |
Welcome, Kawasaki owners. Access the information and tools you need to get the most out of your vehicle.
Parts Diagrams |
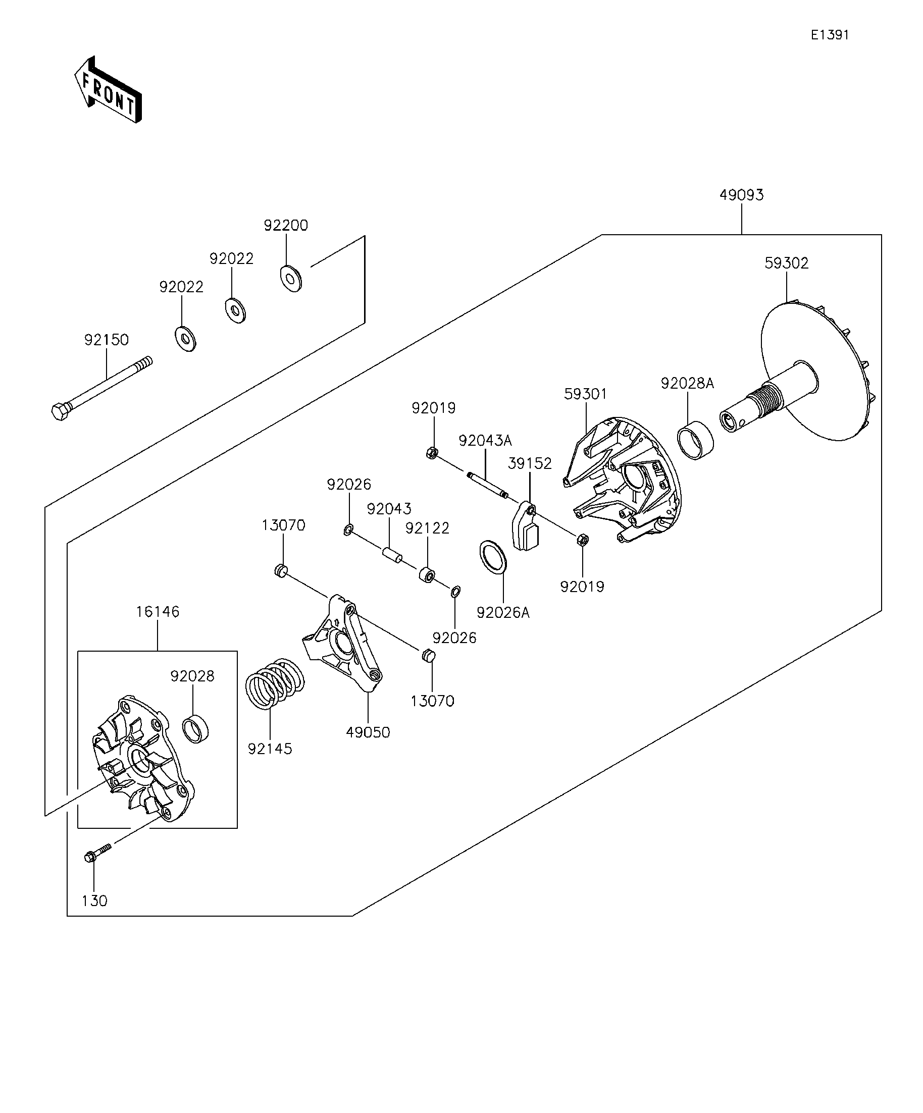
2014 MULE™ 4010 TRANS4x4® - Drive Converter
13070
13070
16146
39152
49050
49093
59301
59302
92019
92019
92022
92022
92026
92026
92026A
92028
92028A
92043
92043A
92122
92145
92150
92200
130
ITEM NAME | REF # | PART NUMBER | QUANTITY | DESTINATION | REMARKS |
---|---|---|---|---|---|
GUIDE | 13070 | 13070-1330 | 6 | ||
COVER-ASSY | 16146 | 16146-1219 | 1 | ||
WEIGHT-RAMP | 39152 | 39152-1078 | 3 | ||
SPIDER | 49050 | 49050-0013 | 1 | ||
CONVERTER-ASSY-DRIVE | 49093 | 49093-0025 | 1 | ||
SHEAVE-MOVABLE | 59301 | 59301-0016 | 1 | ||
SHEAVE-COMP | 59302 | 59302-1085 | 1 | ||
NUT,LOCK,6MM | 92019 | 92019-008 | 6 | ||
WASHER,SPECIAL CONICAL | 92022 | 92022-1901 | 2 | ||
SPACER | 92026 | 92026-1512 | 6 | ||
SPACER,32.3X44.3X3.6 | 92026A | 92026-1591 | 1 | ||
BUSHING | 92028 | 92028-1861 | 1 | ||
BUSHING | 92028A | 92028-1864 | 1 | ||
PIN | 92043 | 92043-1572 | 3 | ||
PIN | 92043A | 92043-1573 | 3 | ||
ROLLER | 92122 | 92122-1204 | 3 | ||
SPRING,YELLOW PAINT | 92145 | 92145-0639 | 1 | ||
BOLT,12X163.5 | 92150 | 92150-1008 | 1 | ||
WASHER | 92200 | 92200-1401 | 1 | ||
BOLT-FLANGED,6X30 | 130 | 130CA0630 | 6 |
GUIDE | |
REF # | 13070 |
---|---|
PART NUMBER | |
QUANTITY | 6 |
DESTINATION | |
REMARKS |
COVER-ASSY | |
REF # | 16146 |
---|---|
PART NUMBER | |
QUANTITY | 1 |
DESTINATION | |
REMARKS |
WEIGHT-RAMP | |
REF # | 39152 |
---|---|
PART NUMBER | |
QUANTITY | 3 |
DESTINATION | |
REMARKS |
SPIDER | |
REF # | 49050 |
---|---|
PART NUMBER | |
QUANTITY | 1 |
DESTINATION | |
REMARKS |
CONVERTER-ASSY-DRIVE | |
REF # | 49093 |
---|---|
PART NUMBER | |
QUANTITY | 1 |
DESTINATION | |
REMARKS |
SHEAVE-MOVABLE | |
REF # | 59301 |
---|---|
PART NUMBER | |
QUANTITY | 1 |
DESTINATION | |
REMARKS |
SHEAVE-COMP | |
REF # | 59302 |
---|---|
PART NUMBER | |
QUANTITY | 1 |
DESTINATION | |
REMARKS |
NUT,LOCK,6MM | |
REF # | 92019 |
---|---|
PART NUMBER | |
QUANTITY | 6 |
DESTINATION | |
REMARKS |
WASHER,SPECIAL CONICAL | |
REF # | 92022 |
---|---|
PART NUMBER | |
QUANTITY | 2 |
DESTINATION | |
REMARKS |
SPACER | |
REF # | 92026 |
---|---|
PART NUMBER | |
QUANTITY | 6 |
DESTINATION | |
REMARKS |
SPACER,32.3X44.3X3.6 | |
REF # | 92026A |
---|---|
PART NUMBER | |
QUANTITY | 1 |
DESTINATION | |
REMARKS |
BUSHING | |
REF # | 92028 |
---|---|
PART NUMBER | |
QUANTITY | 1 |
DESTINATION | |
REMARKS |
BUSHING | |
REF # | 92028A |
---|---|
PART NUMBER | |
QUANTITY | 1 |
DESTINATION | |
REMARKS |
PIN | |
REF # | 92043 |
---|---|
PART NUMBER | |
QUANTITY | 3 |
DESTINATION | |
REMARKS |
PIN | |
REF # | 92043A |
---|---|
PART NUMBER | |
QUANTITY | 3 |
DESTINATION | |
REMARKS |
ROLLER | |
REF # | 92122 |
---|---|
PART NUMBER | |
QUANTITY | 3 |
DESTINATION | |
REMARKS |
SPRING,YELLOW PAINT | |
REF # | 92145 |
---|---|
PART NUMBER | |
QUANTITY | 1 |
DESTINATION | |
REMARKS |
BOLT,12X163.5 | |
REF # | 92150 |
---|---|
PART NUMBER | |
QUANTITY | 1 |
DESTINATION | |
REMARKS |
WASHER | |
REF # | 92200 |
---|---|
PART NUMBER | |
QUANTITY | 1 |
DESTINATION | |
REMARKS |
BOLT-FLANGED,6X30 | |
REF # | 130 |
---|---|
PART NUMBER | |
QUANTITY | 6 |
DESTINATION | |
REMARKS |