Skip to main content

Parts Diagrams

customer service agent speaking with a customer

Welcome, Kawasaki owners. Access the information and tools you need to get the most out of your vehicle.

Welcome, Kawasaki owners. Access the information and tools you need to get the most out of your vehicle.

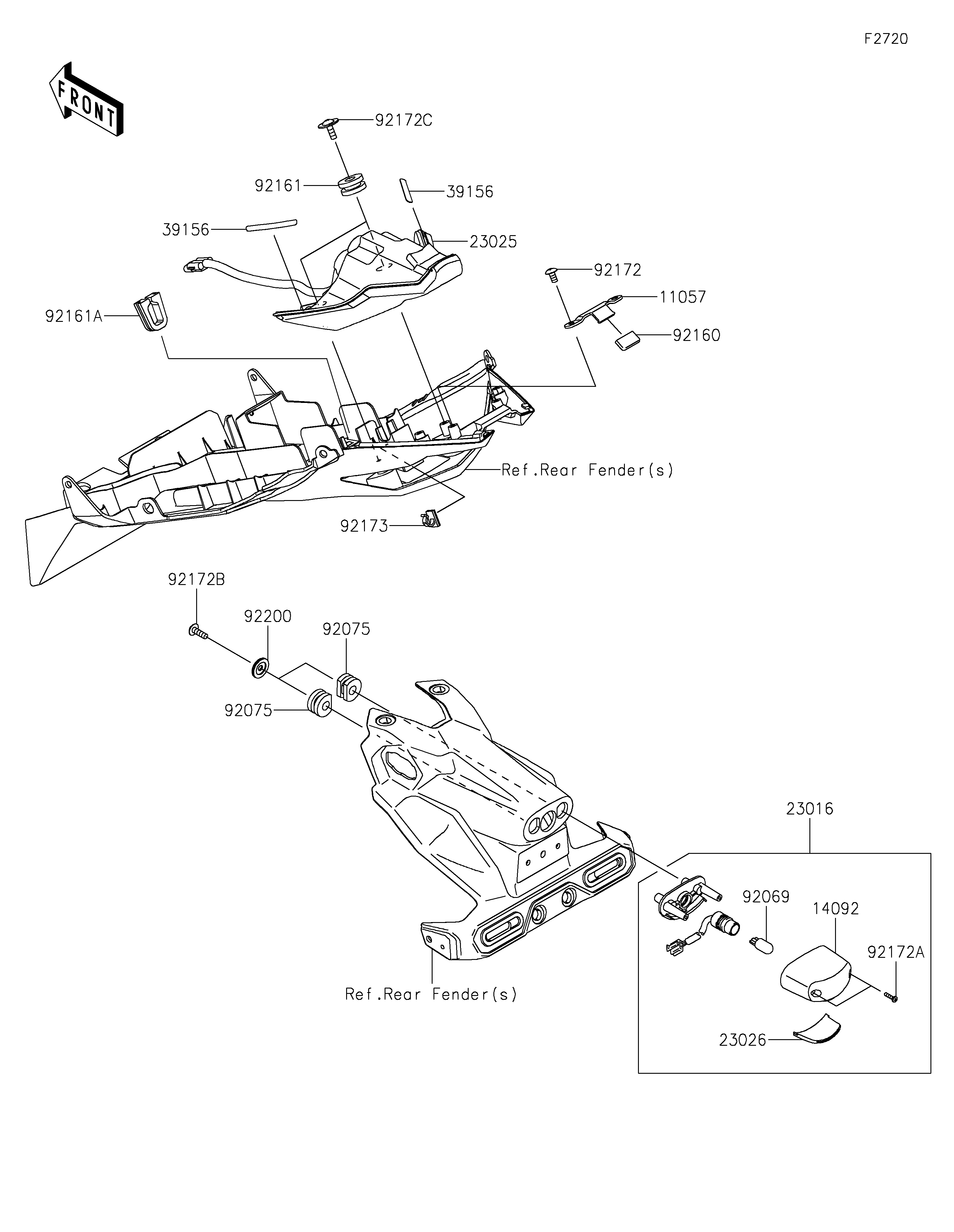
11057
14092
23016
23025
23026
39156
39156
92069
92075
92075
92160
92161
92161A
92172
92172A
92172B
92172C
92173
92200
Part Item Information
ITEM NAME REF # PART NUMBER QUANTITY DESTINATION REMARKS
BRACKET 11057 11057-1214 1
COVER,LICENSE LAMP 14092 14092-0001 1
LAMP-ASSY,LICENCE 23016 23016-0657 1
LAMP-TAIL,LED 23025 23025-0385 1
LENS,LICENCE LAMP 23026 23026-0035 1
PAD,6X50 39156 39156-2421 2
BULB,12V 5W 92069 92069-1016 1
DAMPER 92075 92075-1870 2
DAMPER 92160 92160-1190 1
DAMPER 92161 92161-0163 2
DAMPER,RR FENDER 92161A 92161-1984 1
SCREW,TAPPING,5X10 92172 92172-0262 2
SCREW,TAPPING,2.9X13 92172A 92172-0343 2
SCREW,TAPPING,5X16 92172B 92172-0427 2
SCREW,5X16 92172C 92172-1215 2
CLAMP,CLIP 92173 92173-1783 1
WASHER,5.5X20X2 92200 92200-1971 2