Skip to main content

Parts Diagrams

customer service agent speaking with a customer

Welcome, Kawasaki owners. Access the information and tools you need to get the most out of your vehicle.

Welcome, Kawasaki owners. Access the information and tools you need to get the most out of your vehicle.

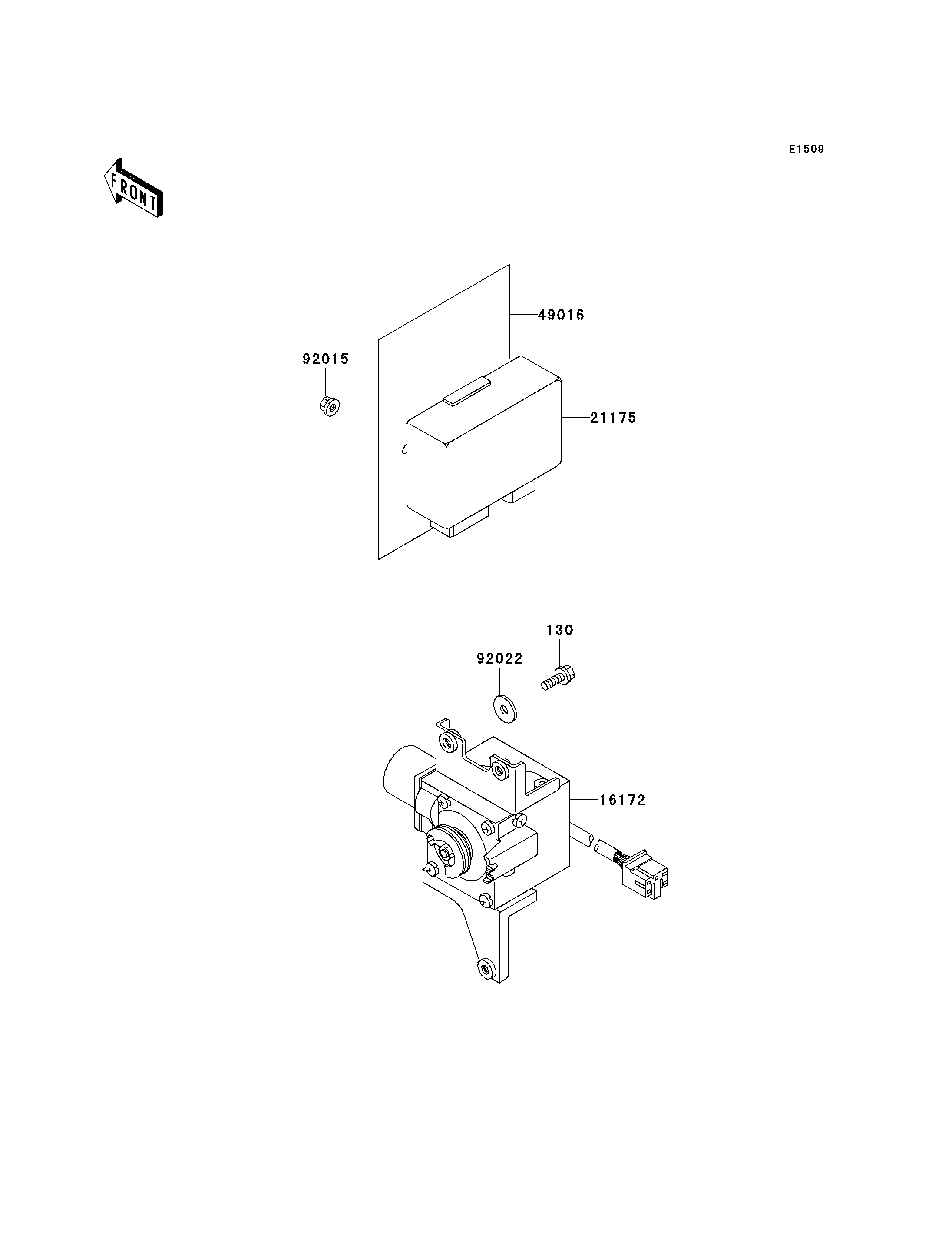
130
16172
21175
49016
92015
92022
Part Item Information
ITEM NAME REF # PART NUMBER QUANTITY DESTINATION REMARKS
BOLT-FLANGED,6X20 130 130G0620 2
ACTUATOR 16172 16172-1051 1
CONTROL UNIT-ELECTRONIC 21175 21175-1056 1
COVER-SEAL,CRUISE CANCEL 49016 49016-1132 1
NUT,FLANGED,5MM 92015 92015-1259 3
WASHER,6.5X20X1.6 92022 92022-125 2