main content of page
Parts Diagrams
OWNER CENTER |

Welcome, Kawasaki owners. Access the information and tools you need to get the most out of your vehicle.
OWNER CENTER |
Welcome, Kawasaki owners. Access the information and tools you need to get the most out of your vehicle.
Parts Diagrams |
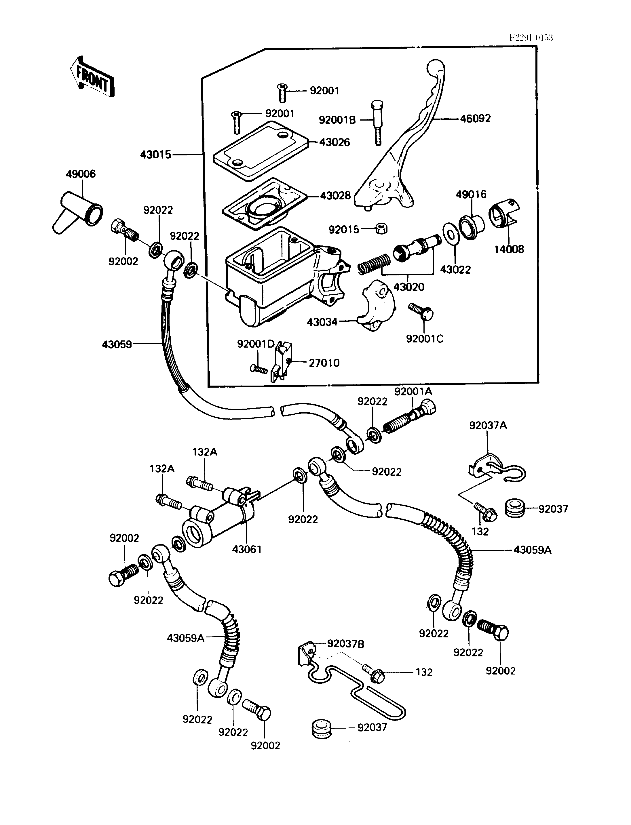
1986 Vulcan 750 - Front Master Cylinder
ITEM NAME | REF # | PART NUMBER | QUANTITY | DESTINATION | REMARKS |
---|---|---|---|---|---|
LINER,PISTON | 14008 | 14008-1035 | 1 | ||
SWITCH,BRAKE | 27010 | 27010-1056 | 1 | ||
CYLINDER-ASSY-MASTER,FR | 43015 | 43015-1313 | 1 | ||
PISTON-COMP-BRAKE | 43020 | 43020-1079 | 1 | ||
STOPPER-BRAKE,PISTON | 43022 | 43022-1009 | 1 | ||
CAP-BRAKE | 43026 | 43026-1056 | 1 | ||
DIAPHRAGM,MASTER CYLINDER | 43028 | 43028-1029 | 1 | ||
HOLDER-BRAKE,MASTER CYLINDER | 43034 | 43034-1001 | 1 | ||
HOSE-BRAKE | 43059 | 43059-1293 | 1 | ||
HOSE-BRAKE | 43059A | 43059-1310 | 2 | ||
JOINT-BRAKE | 43061 | 43061-1002 | 1 | ||
LEVER-GRIP,FRONT BRAKE | 46092 | 46092-1150 | 1 | ||
BOOT,DUST | 49006 | 49006-1040 | 1 | ||
COVER-SEAL,BRAKE PISTON | 49016 | 49016-1041 | 1 | ||
SCREW-CSK-CROS,5X12,BLACK | 92001 | 92001-1055 | 2 | ||
BOLT,BANJO,10X37 | 92001A | 92001-1203 | 1 | ||
BOLT,6X37.3,BLACK | 92001B | 92001-1512 | 1 | ||
BOLT,6X25,W/WASHER,BLACK | 92001C | 92001-1513 | 2 | ||
SCREW-CSK-CROS,4X10,BLACK | 92001D | 92001-1532 | 1 | ||
BOLT,OIL,L=23 | 92002 | 92002-1888 | 4 | ||
NUT,LOCK,6MM,BLACK | 92015 | 92015-1191 | 1 | ||
WASHER,10.5X15X1.5 | 92022 | 43067-001 | 11 | ||
GROMMET,HOSE CLAMP | 92037 | 43064-006 | 2 | ||
CLAMP,BRAKE HOSE | 92037A | 92037-1218 | 1 | ||
CLAMP,BRAKE HOSE,LH | 92037B | 92037-1367 | 1 | ||
BOLT-FLANGED-SMALL | 132 | 132E0612 | 2 | ||
BOLT-FLANGED-SMALL | 132A | 132G0635 | 2 |
LINER,PISTON | |
REF # | 14008 |
---|---|
PART NUMBER | |
QUANTITY | 1 |
DESTINATION | |
REMARKS |
SWITCH,BRAKE | |
REF # | 27010 |
---|---|
PART NUMBER | |
QUANTITY | 1 |
DESTINATION | |
REMARKS |
CYLINDER-ASSY-MASTER,FR | |
REF # | 43015 |
---|---|
PART NUMBER | |
QUANTITY | 1 |
DESTINATION | |
REMARKS |
PISTON-COMP-BRAKE | |
REF # | 43020 |
---|---|
PART NUMBER | |
QUANTITY | 1 |
DESTINATION | |
REMARKS |
STOPPER-BRAKE,PISTON | |
REF # | 43022 |
---|---|
PART NUMBER | |
QUANTITY | 1 |
DESTINATION | |
REMARKS |
CAP-BRAKE | |
REF # | 43026 |
---|---|
PART NUMBER | |
QUANTITY | 1 |
DESTINATION | |
REMARKS |
DIAPHRAGM,MASTER CYLINDER | |
REF # | 43028 |
---|---|
PART NUMBER | |
QUANTITY | 1 |
DESTINATION | |
REMARKS |
HOLDER-BRAKE,MASTER CYLINDER | |
REF # | 43034 |
---|---|
PART NUMBER | |
QUANTITY | 1 |
DESTINATION | |
REMARKS |
HOSE-BRAKE | |
REF # | 43059 |
---|---|
PART NUMBER | |
QUANTITY | 1 |
DESTINATION | |
REMARKS |
HOSE-BRAKE | |
REF # | 43059A |
---|---|
PART NUMBER | |
QUANTITY | 2 |
DESTINATION | |
REMARKS |
JOINT-BRAKE | |
REF # | 43061 |
---|---|
PART NUMBER | |
QUANTITY | 1 |
DESTINATION | |
REMARKS |
LEVER-GRIP,FRONT BRAKE | |
REF # | 46092 |
---|---|
PART NUMBER | |
QUANTITY | 1 |
DESTINATION | |
REMARKS |
BOOT,DUST | |
REF # | 49006 |
---|---|
PART NUMBER | |
QUANTITY | 1 |
DESTINATION | |
REMARKS |
COVER-SEAL,BRAKE PISTON | |
REF # | 49016 |
---|---|
PART NUMBER | |
QUANTITY | 1 |
DESTINATION | |
REMARKS |
SCREW-CSK-CROS,5X12,BLACK | |
REF # | 92001 |
---|---|
PART NUMBER | |
QUANTITY | 2 |
DESTINATION | |
REMARKS |
BOLT,BANJO,10X37 | |
REF # | 92001A |
---|---|
PART NUMBER | |
QUANTITY | 1 |
DESTINATION | |
REMARKS |
BOLT,6X37.3,BLACK | |
REF # | 92001B |
---|---|
PART NUMBER | |
QUANTITY | 1 |
DESTINATION | |
REMARKS |
BOLT,6X25,W/WASHER,BLACK | |
REF # | 92001C |
---|---|
PART NUMBER | |
QUANTITY | 2 |
DESTINATION | |
REMARKS |
SCREW-CSK-CROS,4X10,BLACK | |
REF # | 92001D |
---|---|
PART NUMBER | |
QUANTITY | 1 |
DESTINATION | |
REMARKS |
BOLT,OIL,L=23 | |
REF # | 92002 |
---|---|
PART NUMBER | |
QUANTITY | 4 |
DESTINATION | |
REMARKS |
NUT,LOCK,6MM,BLACK | |
REF # | 92015 |
---|---|
PART NUMBER | |
QUANTITY | 1 |
DESTINATION | |
REMARKS |
WASHER,10.5X15X1.5 | |
REF # | 92022 |
---|---|
PART NUMBER | |
QUANTITY | 11 |
DESTINATION | |
REMARKS |
GROMMET,HOSE CLAMP | |
REF # | 92037 |
---|---|
PART NUMBER | |
QUANTITY | 2 |
DESTINATION | |
REMARKS |
CLAMP,BRAKE HOSE | |
REF # | 92037A |
---|---|
PART NUMBER | |
QUANTITY | 1 |
DESTINATION | |
REMARKS |
CLAMP,BRAKE HOSE,LH | |
REF # | 92037B |
---|---|
PART NUMBER | |
QUANTITY | 1 |
DESTINATION | |
REMARKS |
BOLT-FLANGED-SMALL | |
REF # | 132 |
---|---|
PART NUMBER | |
QUANTITY | 2 |
DESTINATION | |
REMARKS |
BOLT-FLANGED-SMALL | |
REF # | 132A |
---|---|
PART NUMBER | |
QUANTITY | 2 |
DESTINATION | |
REMARKS |