Skip to main content

Parts Diagrams

customer service agent speaking with a customer

Welcome, Kawasaki owners. Access the information and tools you need to get the most out of your vehicle.

Welcome, Kawasaki owners. Access the information and tools you need to get the most out of your vehicle.

120
551
551
11061
32154
49034
92055
92055A
92055B
92055C
92055C
92065
92066
92066A
92066B
92153
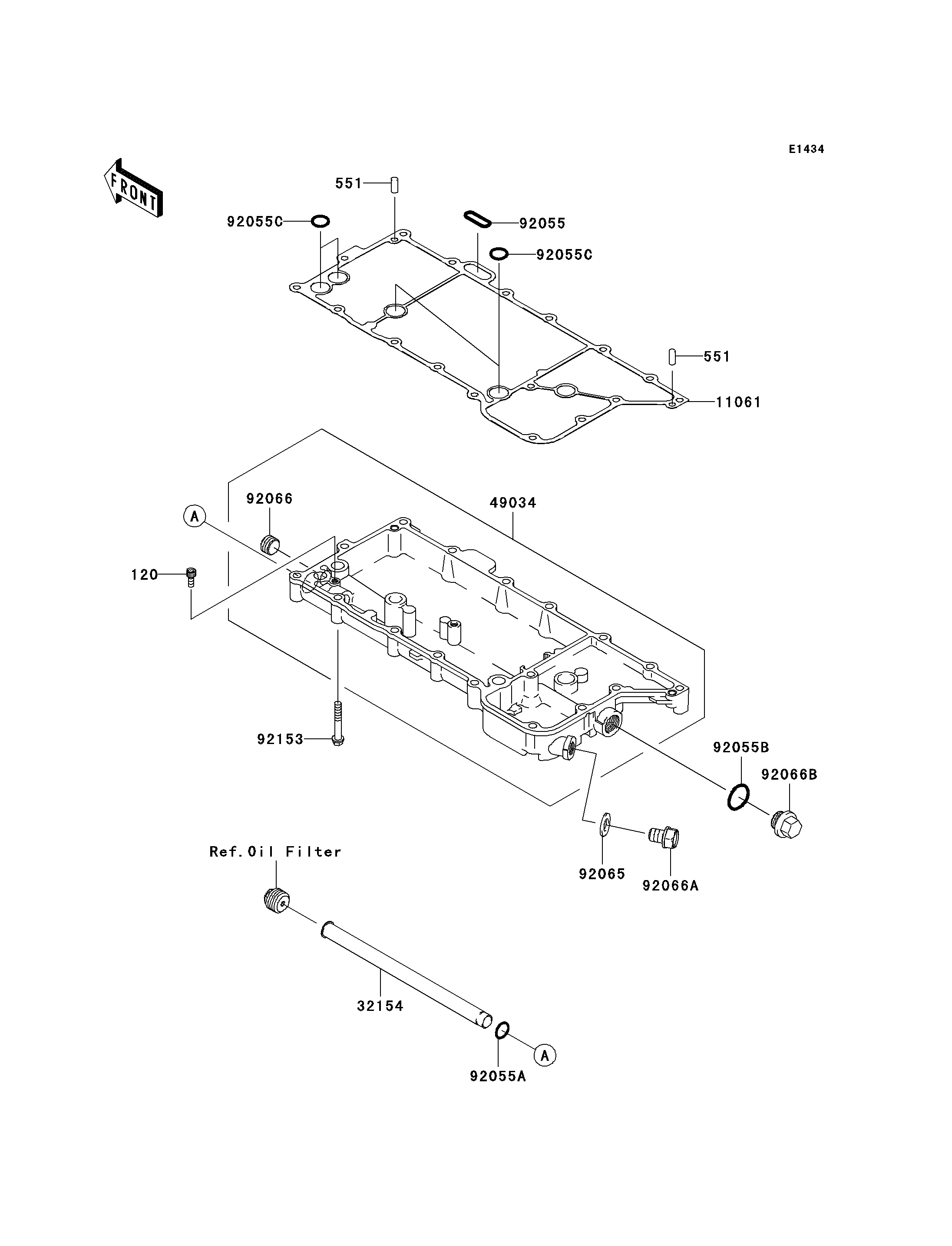
Part Item Information
ITEM NAME REF # PART NUMBER QUANTITY DESTINATION REMARKS
BOLT-SOCKET 120 120S0512 1
PIN-DOWEL,6X14 551 551A0614 2
GASKET,OIL PAN 11061 11061-0021 1
PIPE 32154 32154-0065 1
PAN-OIL 49034 49034-0012 1
RING-O 92055 92055-0009 1
RING-O,ID=13.8 92055A 92055-1141 1
RING-O 92055B 92055-1146 1
RING-O,13.2X2.4 92055C 92055-1373 4
GASKET,12X22X2 92065 92065-097 1
PLUG 92066 92066-0042 1
PLUG,OIL DRAIN,12X15 92066A 92066-1174 1
PLUG,MAIN GALLERY,18X9 92066B 92066-1394 1
BOLT,6X40 92153 92153-0710 17