main content of page
Parts Diagrams
OWNER CENTER |
Welcome, Kawasaki owners. Access the information and tools you need to get the most out of your vehicle.
OWNER CENTER |
Welcome, Kawasaki owners. Access the information and tools you need to get the most out of your vehicle.
Parts Diagrams |
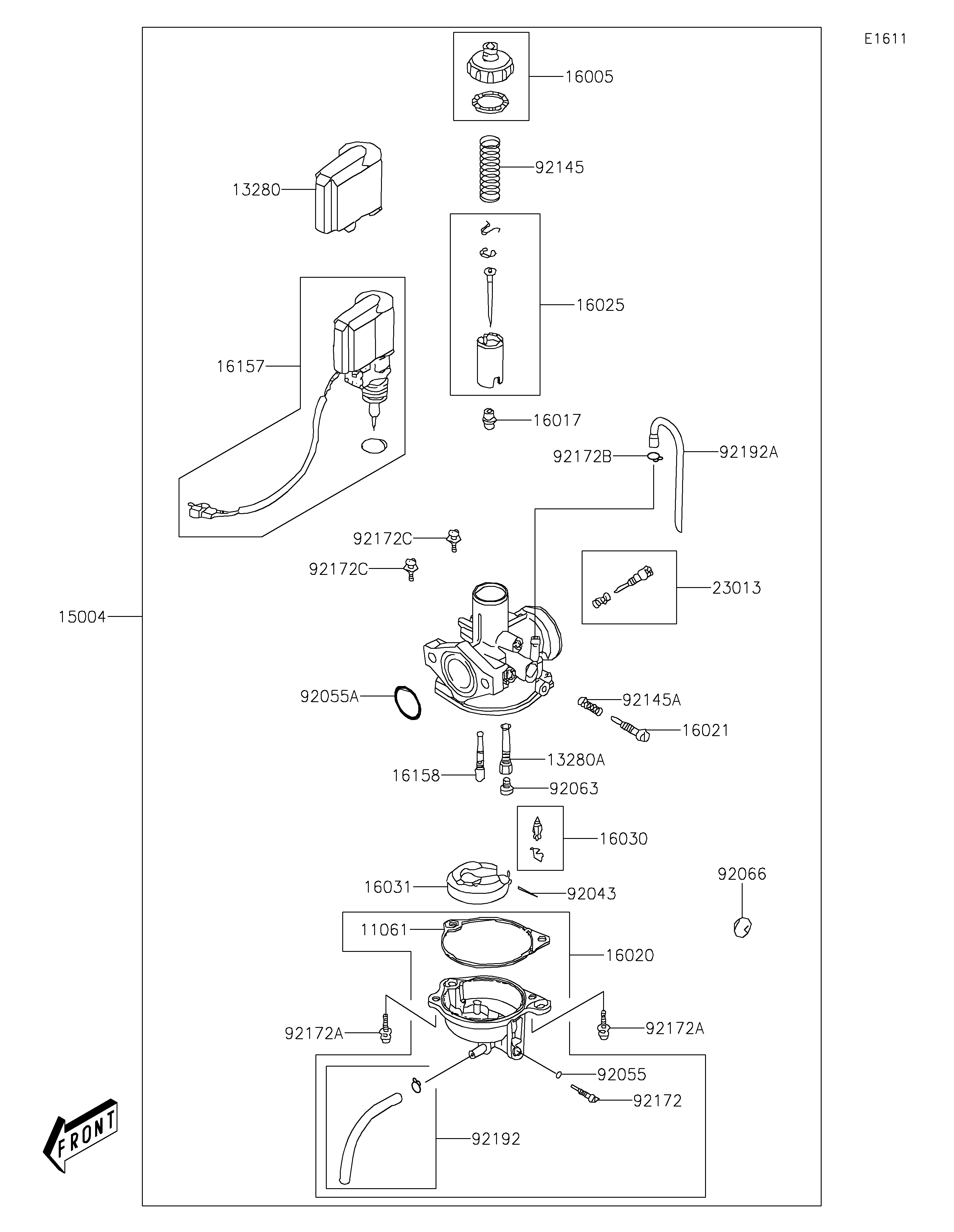
11061
13280
13280A
15004
16005
16017
16020
16021
16025
16030
16031
16157
16158
23013
92043
92055
92055A
92063
92066
92145
92145A
92172
92172A
92172A
92172B
92172C
92172C
92192
92192A
| ITEM NAME | REF # | PART NUMBER | QUANTITY | DESTINATION | REMARKS |
|---|---|---|---|---|---|
| GASKET,FLOAT CHAMBER | 11061 | 11061-Y021 | 1 | ||
| HOLDER,CAP | 13280 | 13280-Y008 | 1 | ||
| HOLDER,NEEDLE JET | 13280A | 13280-Y012 | 1 | ||
| CARBURETOR-ASSY | 15004 | 15004-Y008 | 1 | ||
| TOP-CHAMBER | 16005 | 16005-Y001 | 1 | ||
| JET-NEEDLE | 16017 | 16017-Y001 | 1 | ||
| CHAMBER-FLOAT | 16020 | 16020-Y001 | 1 | ||
| SCREW-THROTTLE STOP | 16021 | 16021-Y001 | 1 | ||
| VALVE-THROTTLE | 16025 | 16025-Y006 | 1 | ||
| VALVE-FLOAT,ASSY | 16030 | 16030-Y002 | 1 | ||
| FLOAT | 16031 | 16031-Y001 | 1 | ||
| JET-STARTER | 16157 | 16157-Y001 | 1 | ||
| JET-SLOW | 16158 | 16158-Y001 | 1 | ||
| SCREW-ASSY,ADJUST | 23013 | 23013-Y001 | 1 | ||
| PIN | 92043 | 92043-Y002 | 1 | ||
| RING-O | 92055 | 92055-Y001 | 1 | ||
| RING-O | 92055A | 92055-Y016 | 1 | ||
| JET-MAIN | 92063 | 92063-Y001 | 1 | ||
| PLUG | 92066 | 92066-Y008 | 1 | ||
| SPRING | 92145 | 92145-Y002 | 1 | ||
| SPRING | 92145A | 92145-Y004 | 1 | ||
| SCREW,DRAIN | 92172 | 92172-Y001 | 1 | ||
| SCREW | 92172A | 92172-Y013 | 2 | ||
| CLAMP | 92172B | 92172-Y023 | 1 | ||
| SCREW,4X8 | 92172C | 92172-Y065 | 2 | ||
| TUBE,ASSY | 92192 | 92192-Y006 | 1 | ||
| TUBE | 92192A | 92192-Y011 | 1 |
| GASKET,FLOAT CHAMBER | |
| REF # | 11061 |
|---|---|
| PART NUMBER | |
| QUANTITY | 1 |
| DESTINATION | |
| REMARKS | |
| HOLDER,CAP | |
| REF # | 13280 |
|---|---|
| PART NUMBER | |
| QUANTITY | 1 |
| DESTINATION | |
| REMARKS | |
| HOLDER,NEEDLE JET | |
| REF # | 13280A |
|---|---|
| PART NUMBER | |
| QUANTITY | 1 |
| DESTINATION | |
| REMARKS | |
| CARBURETOR-ASSY | |
| REF # | 15004 |
|---|---|
| PART NUMBER | |
| QUANTITY | 1 |
| DESTINATION | |
| REMARKS | |
| TOP-CHAMBER | |
| REF # | 16005 |
|---|---|
| PART NUMBER | |
| QUANTITY | 1 |
| DESTINATION | |
| REMARKS | |
| JET-NEEDLE | |
| REF # | 16017 |
|---|---|
| PART NUMBER | |
| QUANTITY | 1 |
| DESTINATION | |
| REMARKS | |
| CHAMBER-FLOAT | |
| REF # | 16020 |
|---|---|
| PART NUMBER | |
| QUANTITY | 1 |
| DESTINATION | |
| REMARKS | |
| SCREW-THROTTLE STOP | |
| REF # | 16021 |
|---|---|
| PART NUMBER | |
| QUANTITY | 1 |
| DESTINATION | |
| REMARKS | |
| VALVE-THROTTLE | |
| REF # | 16025 |
|---|---|
| PART NUMBER | |
| QUANTITY | 1 |
| DESTINATION | |
| REMARKS | |
| VALVE-FLOAT,ASSY | |
| REF # | 16030 |
|---|---|
| PART NUMBER | |
| QUANTITY | 1 |
| DESTINATION | |
| REMARKS | |
| FLOAT | |
| REF # | 16031 |
|---|---|
| PART NUMBER | |
| QUANTITY | 1 |
| DESTINATION | |
| REMARKS | |
| JET-STARTER | |
| REF # | 16157 |
|---|---|
| PART NUMBER | |
| QUANTITY | 1 |
| DESTINATION | |
| REMARKS | |
| JET-SLOW | |
| REF # | 16158 |
|---|---|
| PART NUMBER | |
| QUANTITY | 1 |
| DESTINATION | |
| REMARKS | |
| SCREW-ASSY,ADJUST | |
| REF # | 23013 |
|---|---|
| PART NUMBER | |
| QUANTITY | 1 |
| DESTINATION | |
| REMARKS | |
| PIN | |
| REF # | 92043 |
|---|---|
| PART NUMBER | |
| QUANTITY | 1 |
| DESTINATION | |
| REMARKS | |
| RING-O | |
| REF # | 92055 |
|---|---|
| PART NUMBER | |
| QUANTITY | 1 |
| DESTINATION | |
| REMARKS | |
| RING-O | |
| REF # | 92055A |
|---|---|
| PART NUMBER | |
| QUANTITY | 1 |
| DESTINATION | |
| REMARKS | |
| JET-MAIN | |
| REF # | 92063 |
|---|---|
| PART NUMBER | |
| QUANTITY | 1 |
| DESTINATION | |
| REMARKS | |
| PLUG | |
| REF # | 92066 |
|---|---|
| PART NUMBER | |
| QUANTITY | 1 |
| DESTINATION | |
| REMARKS | |
| SPRING | |
| REF # | 92145 |
|---|---|
| PART NUMBER | |
| QUANTITY | 1 |
| DESTINATION | |
| REMARKS | |
| SPRING | |
| REF # | 92145A |
|---|---|
| PART NUMBER | |
| QUANTITY | 1 |
| DESTINATION | |
| REMARKS | |
| SCREW,DRAIN | |
| REF # | 92172 |
|---|---|
| PART NUMBER | |
| QUANTITY | 1 |
| DESTINATION | |
| REMARKS | |
| SCREW | |
| REF # | 92172A |
|---|---|
| PART NUMBER | |
| QUANTITY | 2 |
| DESTINATION | |
| REMARKS | |
| CLAMP | |
| REF # | 92172B |
|---|---|
| PART NUMBER | |
| QUANTITY | 1 |
| DESTINATION | |
| REMARKS | |
| SCREW,4X8 | |
| REF # | 92172C |
|---|---|
| PART NUMBER | |
| QUANTITY | 2 |
| DESTINATION | |
| REMARKS | |
| TUBE,ASSY | |
| REF # | 92192 |
|---|---|
| PART NUMBER | |
| QUANTITY | 1 |
| DESTINATION | |
| REMARKS | |
| TUBE | |
| REF # | 92192A |
|---|---|
| PART NUMBER | |
| QUANTITY | 1 |
| DESTINATION | |
| REMARKS | |