Skip to main content

Parts Diagrams

customer service agent speaking with a customer

Welcome, Kawasaki owners. Access the information and tools you need to get the most out of your vehicle.

Welcome, Kawasaki owners. Access the information and tools you need to get the most out of your vehicle.

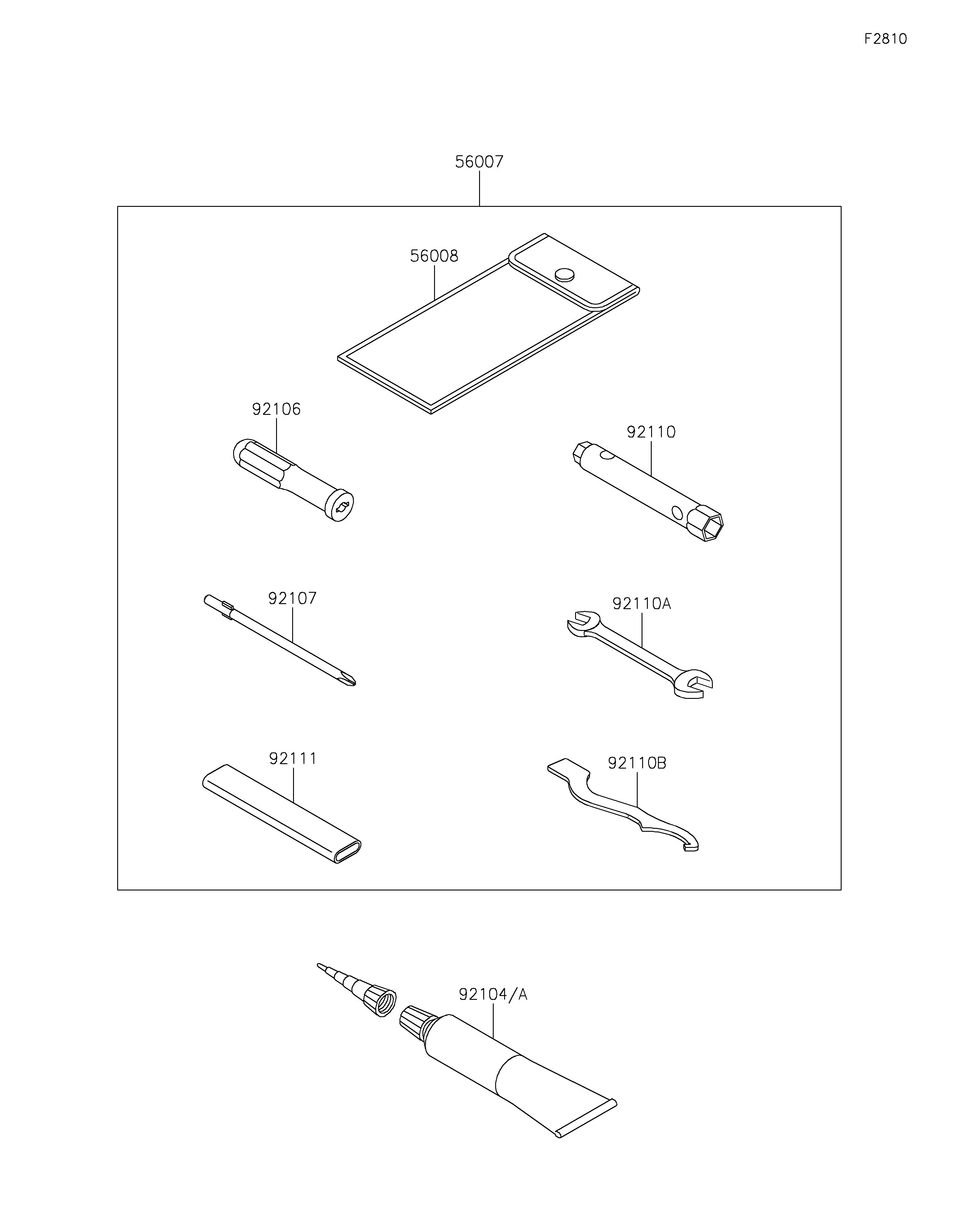
56007
56008
92104
92104A
92106
92107
92110
92110A
92110B
92111
Part Item Information
ITEM NAME REF # PART NUMBER QUANTITY DESTINATION REMARKS
TOOL-KIT 56007 56007-0190 1
BAG,TOOL 56008 56008-0050 1
GASKET-LIQUID,TB1211F,CLEAR 92104 92104-0004 1
GASKET-LIQUID,TB1216B,BLACK 92104A 92104-1064 1
GRIP-SCREW DRIVER 92106 92106-0005 1
TOOL-DRIVER,#2PHILLIPS 92107 92107-0022 1
TOOL-WRENCH,BOX,8X10 92110 92110-0584 1
TOOL-WRENCH,OPEN END,12X14 92110A 92110-0586 1
TOOL-WRENCH,SPRING ADJUST 92110B 92110-0624 1
TOOL-BAR 92111 92111-1057 1