main content of page
Parts Diagrams
OWNER CENTER |
Welcome, Kawasaki owners. Access the information and tools you need to get the most out of your vehicle.
OWNER CENTER |
Welcome, Kawasaki owners. Access the information and tools you need to get the most out of your vehicle.
Parts Diagrams |
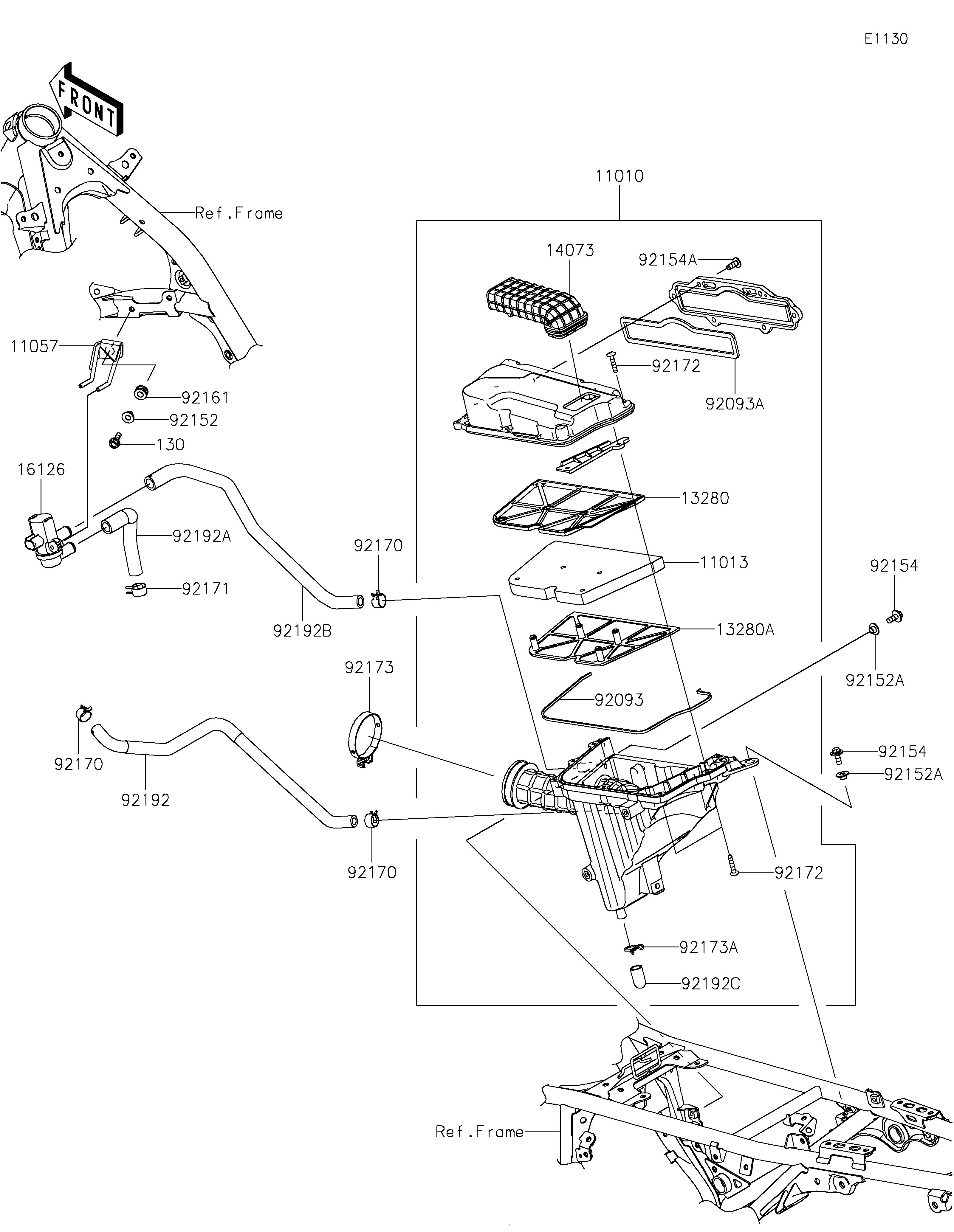
11010
11013
11057
13280
13280A
14073
16126
92093
92093A
92152
92152A
92152A
92154
92154
92154A
92161
92170
92170
92170
92171
92172
92172
92173
92173A
92192
92192A
92192B
92192C
130
| ITEM NAME | REF # | PART NUMBER | QUANTITY | DESTINATION | REMARKS |
|---|---|---|---|---|---|
| FILTER-ASSY-AIR | 11010 | 11010-1810 | 1 | ||
| ELEMENT-AIR FILTER | 11013 | 11013-0790 | 1 | ||
| BRACKET,ASWV | 11057 | 11057-2432 | 1 | ||
| HOLDER,UPP | 13280 | 13280-0945 | 1 | ||
| HOLDER,LWR | 13280A | 13280-0946 | 1 | ||
| DUCT,IN | 14073 | 14073-0928 | 1 | ||
| VALVE,AIR SWITCH | 16126 | 16126-0750 | 1 | ||
| SEAL | 92093 | 92093-0727 | 1 | ||
| SEAL | 92093A | 92093-0728 | 1 | ||
| COLLAR,6.3X8.3X9.2 | 92152 | 92152-1725 | 1 | ||
| COLLAR,6.3X8.3X6.2 | 92152A | 92152-2586 | 2 | ||
| BOLT,FLANGED-SMALL,6X16 | 92154 | 92154-1183 | 2 | ||
| BOLT,6X16 | 92154A | 92154-3970 | 6 | ||
| DAMPER | 92161 | 92161-0031 | 1 | ||
| CLAMP | 92170 | 92170-1434 | 3 | ||
| CLAMP | 92171 | 92171-0533 | 1 | ||
| SCREW | 92172 | 92172-1291 | 7 | ||
| CLAMP | 92173 | 92173-2191 | 1 | ||
| CLAMP,14MM | 92173A | 92173-2474 | 1 | ||
| TUBE,BLOW-BY | 92192 | 92192-1929 | 1 | ||
| TUBE,ASWV-HEAD | 92192A | 92192-1930 | 1 | ||
| TUBE,A/C-ASWV | 92192B | 92192-1931 | 1 | ||
| TUBE | 92192C | 92192-2582 | 1 | ||
| BOLT-FLANGED,6X18 | 130 | 130BA0618 | 1 |
| FILTER-ASSY-AIR | |
| REF # | 11010 |
|---|---|
| PART NUMBER | |
| QUANTITY | 1 |
| DESTINATION | |
| REMARKS | |
| ELEMENT-AIR FILTER | |
| REF # | 11013 |
|---|---|
| PART NUMBER | |
| QUANTITY | 1 |
| DESTINATION | |
| REMARKS | |
| BRACKET,ASWV | |
| REF # | 11057 |
|---|---|
| PART NUMBER | |
| QUANTITY | 1 |
| DESTINATION | |
| REMARKS | |
| HOLDER,UPP | |
| REF # | 13280 |
|---|---|
| PART NUMBER | |
| QUANTITY | 1 |
| DESTINATION | |
| REMARKS | |
| HOLDER,LWR | |
| REF # | 13280A |
|---|---|
| PART NUMBER | |
| QUANTITY | 1 |
| DESTINATION | |
| REMARKS | |
| DUCT,IN | |
| REF # | 14073 |
|---|---|
| PART NUMBER | |
| QUANTITY | 1 |
| DESTINATION | |
| REMARKS | |
| VALVE,AIR SWITCH | |
| REF # | 16126 |
|---|---|
| PART NUMBER | |
| QUANTITY | 1 |
| DESTINATION | |
| REMARKS | |
| SEAL | |
| REF # | 92093 |
|---|---|
| PART NUMBER | |
| QUANTITY | 1 |
| DESTINATION | |
| REMARKS | |
| SEAL | |
| REF # | 92093A |
|---|---|
| PART NUMBER | |
| QUANTITY | 1 |
| DESTINATION | |
| REMARKS | |
| COLLAR,6.3X8.3X9.2 | |
| REF # | 92152 |
|---|---|
| PART NUMBER | |
| QUANTITY | 1 |
| DESTINATION | |
| REMARKS | |
| COLLAR,6.3X8.3X6.2 | |
| REF # | 92152A |
|---|---|
| PART NUMBER | |
| QUANTITY | 2 |
| DESTINATION | |
| REMARKS | |
| BOLT,FLANGED-SMALL,6X16 | |
| REF # | 92154 |
|---|---|
| PART NUMBER | |
| QUANTITY | 2 |
| DESTINATION | |
| REMARKS | |
| BOLT,6X16 | |
| REF # | 92154A |
|---|---|
| PART NUMBER | |
| QUANTITY | 6 |
| DESTINATION | |
| REMARKS | |
| DAMPER | |
| REF # | 92161 |
|---|---|
| PART NUMBER | |
| QUANTITY | 1 |
| DESTINATION | |
| REMARKS | |
| CLAMP | |
| REF # | 92170 |
|---|---|
| PART NUMBER | |
| QUANTITY | 3 |
| DESTINATION | |
| REMARKS | |
| CLAMP | |
| REF # | 92171 |
|---|---|
| PART NUMBER | |
| QUANTITY | 1 |
| DESTINATION | |
| REMARKS | |
| SCREW | |
| REF # | 92172 |
|---|---|
| PART NUMBER | |
| QUANTITY | 7 |
| DESTINATION | |
| REMARKS | |
| CLAMP | |
| REF # | 92173 |
|---|---|
| PART NUMBER | |
| QUANTITY | 1 |
| DESTINATION | |
| REMARKS | |
| CLAMP,14MM | |
| REF # | 92173A |
|---|---|
| PART NUMBER | |
| QUANTITY | 1 |
| DESTINATION | |
| REMARKS | |
| TUBE,BLOW-BY | |
| REF # | 92192 |
|---|---|
| PART NUMBER | |
| QUANTITY | 1 |
| DESTINATION | |
| REMARKS | |
| TUBE,ASWV-HEAD | |
| REF # | 92192A |
|---|---|
| PART NUMBER | |
| QUANTITY | 1 |
| DESTINATION | |
| REMARKS | |
| TUBE,A/C-ASWV | |
| REF # | 92192B |
|---|---|
| PART NUMBER | |
| QUANTITY | 1 |
| DESTINATION | |
| REMARKS | |
| TUBE | |
| REF # | 92192C |
|---|---|
| PART NUMBER | |
| QUANTITY | 1 |
| DESTINATION | |
| REMARKS | |
| BOLT-FLANGED,6X18 | |
| REF # | 130 |
|---|---|
| PART NUMBER | |
| QUANTITY | 1 |
| DESTINATION | |
| REMARKS | |