Skip to main content

Parts Diagrams

customer service agent speaking with a customer

Welcome, Kawasaki owners. Access the information and tools you need to get the most out of your vehicle.

Welcome, Kawasaki owners. Access the information and tools you need to get the most out of your vehicle.

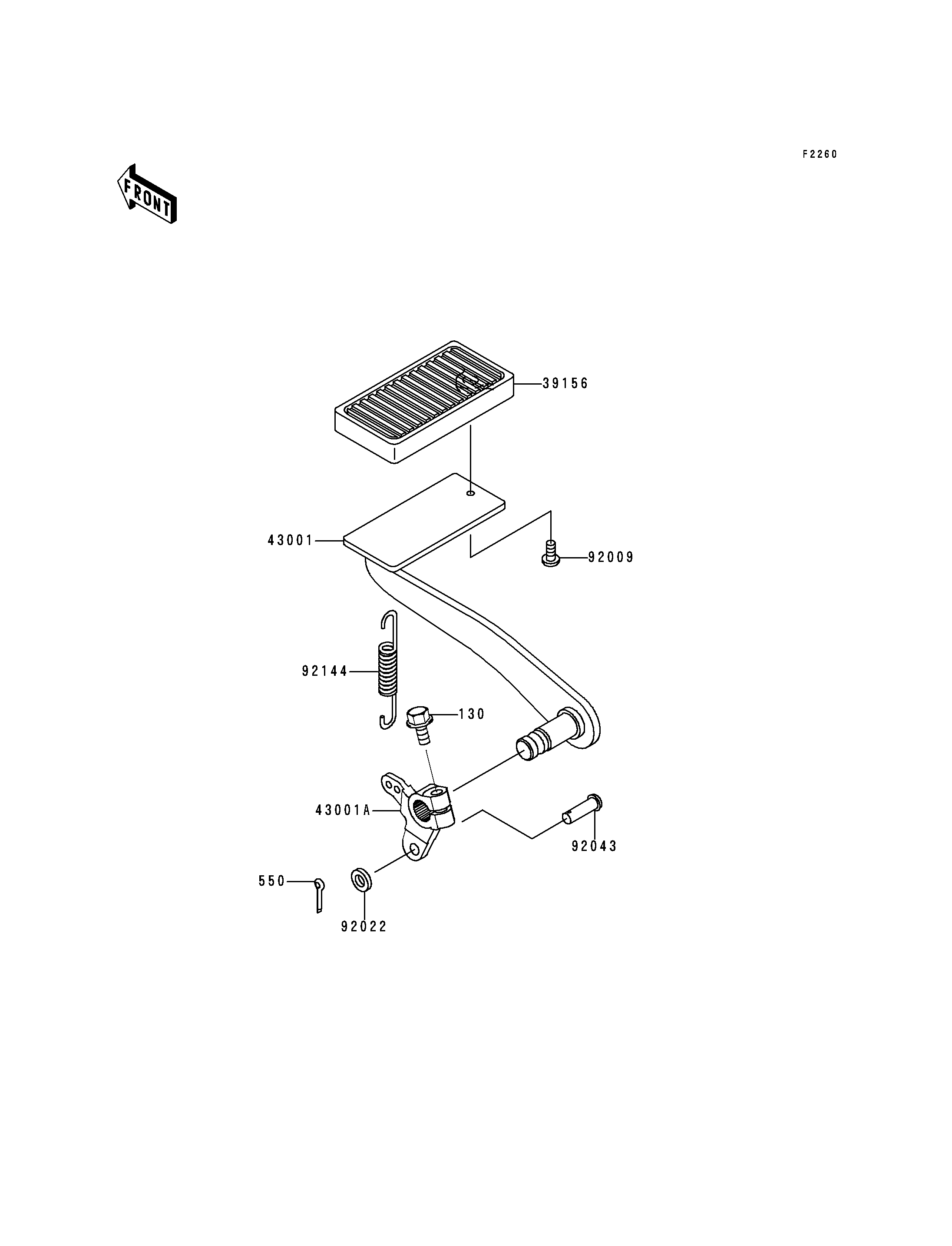
1998 Vulcan 1500 Classic - Brake Pedal/Torque Link

130
550
39156
43001
43001A
92009
92022
92043
92144
Part Item Information
ITEM NAME REF # PART NUMBER QUANTITY DESTINATION REMARKS
BOLT-FLANGED,8X25,BLACK 130 130J0825 1
PIN-COTTER,2.0X15 550 550D2015 1
PAD,BRAKE PEDAL 39156 39156-1540 1
LEVER-BRAKE,PEDAL 43001 43001-1367 1
LEVER-BRAKE 43001A 43001-1368 1
SCREW,6X8,BLACK 92009 92009-1677 1
WASHER,8.5X16X1.2 92022 92022-1582 1
PIN,8X16 92043 92043-1013 1
SPRING,BRAKE PEDAL RETURN 92144 92144-1169 1