Skip to main content

Parts Diagrams

customer service agent speaking with a customer

Welcome, Kawasaki owners. Access the information and tools you need to get the most out of your vehicle.

Welcome, Kawasaki owners. Access the information and tools you need to get the most out of your vehicle.

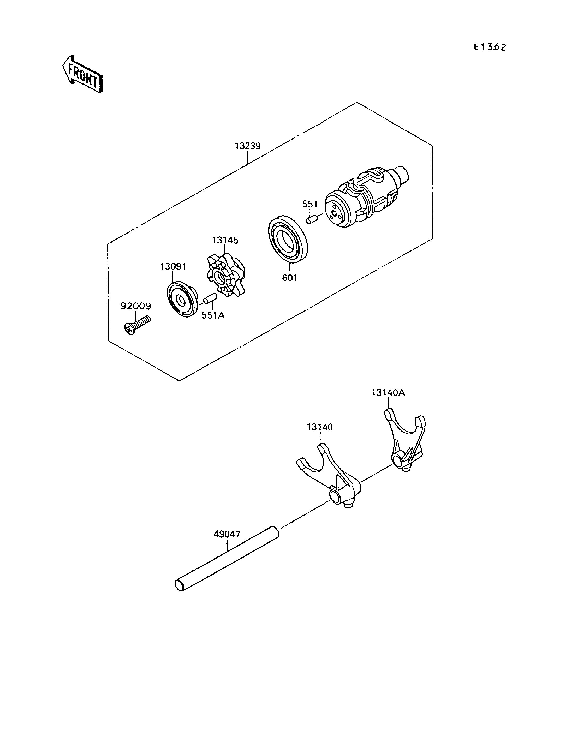
1995 Vulcan 88 - Gear Change Drum/Shift Fork(s)

Part Item Information
ITEM NAME REF # PART NUMBER QUANTITY DESTINATION REMARKS
PIN-DOWEL,4X8 551 551A0408 1
PIN-DOWEL 551A 551A0412 1
BEARING-BALL 601 601A6005 1
HOLDER,CHANGE DRUM PIN 13091 13091-1104 1
FORK-SHIFT,INPUT,2ND 13140 13140-1155 1
FORK-SHIFT,OUTPUT,3RD 13140A 13140-1156 1
CAM-CHANGE DRUM 13145 13145-1062 1
DRUM-ASSY-CHANGE 13239 13239-1141 1
ROD-SHIFT 49047 49047-1062 1
SCREW,6X45 92009 92009-1599 1