Skip to main content

Parts Diagrams

customer service agent speaking with a customer

Welcome, Kawasaki owners. Access the information and tools you need to get the most out of your vehicle.

Welcome, Kawasaki owners. Access the information and tools you need to get the most out of your vehicle.

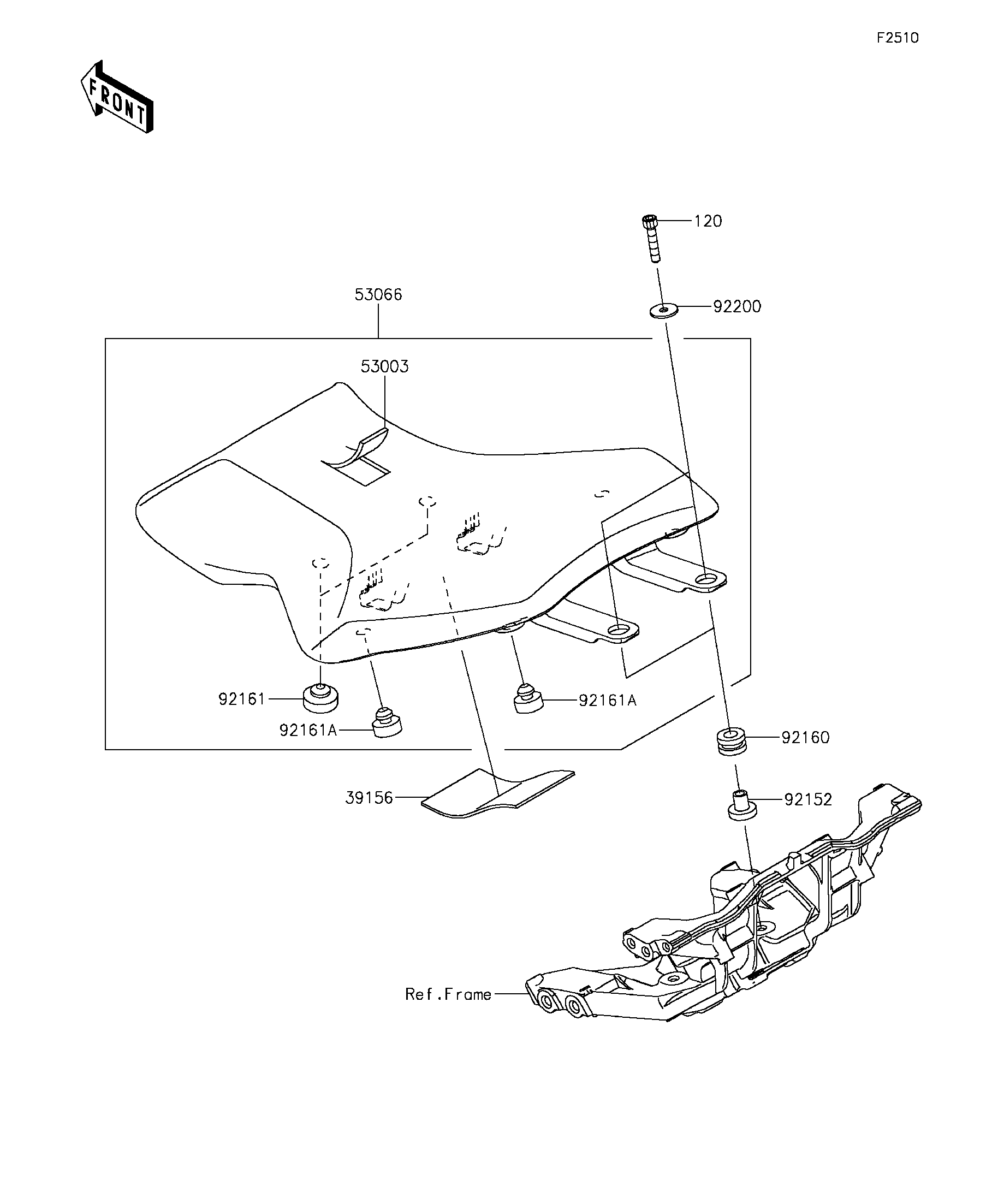
39156
53003
53066
92152
92160
92161
92161A
92161A
92200
120
Part Item Information
ITEM NAME REF # PART NUMBER QUANTITY DESTINATION REMARKS
PAD,RR FRM 39156 39156-1778 1
LEATHER,BLACK 53003 53003-0404-MA 1
SEAT-ASSY,BLACK 53066 53066-0462-MA 1
COLLAR,6.5X20X16.8 92152 92152-2119 2
DAMPER,10X20X12 92160 92160-1167 2
DAMPER,SEAT 92161 92161-0095 2
DAMPER 92161A 92161-0223 4
WASHER,6X20X1.6 92200 92200-0212 2
BOLT-SOCKET,6X30 120 120CA0630 2