Skip to main content

Parts Diagrams

customer service agent speaking with a customer

Welcome, Kawasaki owners. Access the information and tools you need to get the most out of your vehicle.

Welcome, Kawasaki owners. Access the information and tools you need to get the most out of your vehicle.

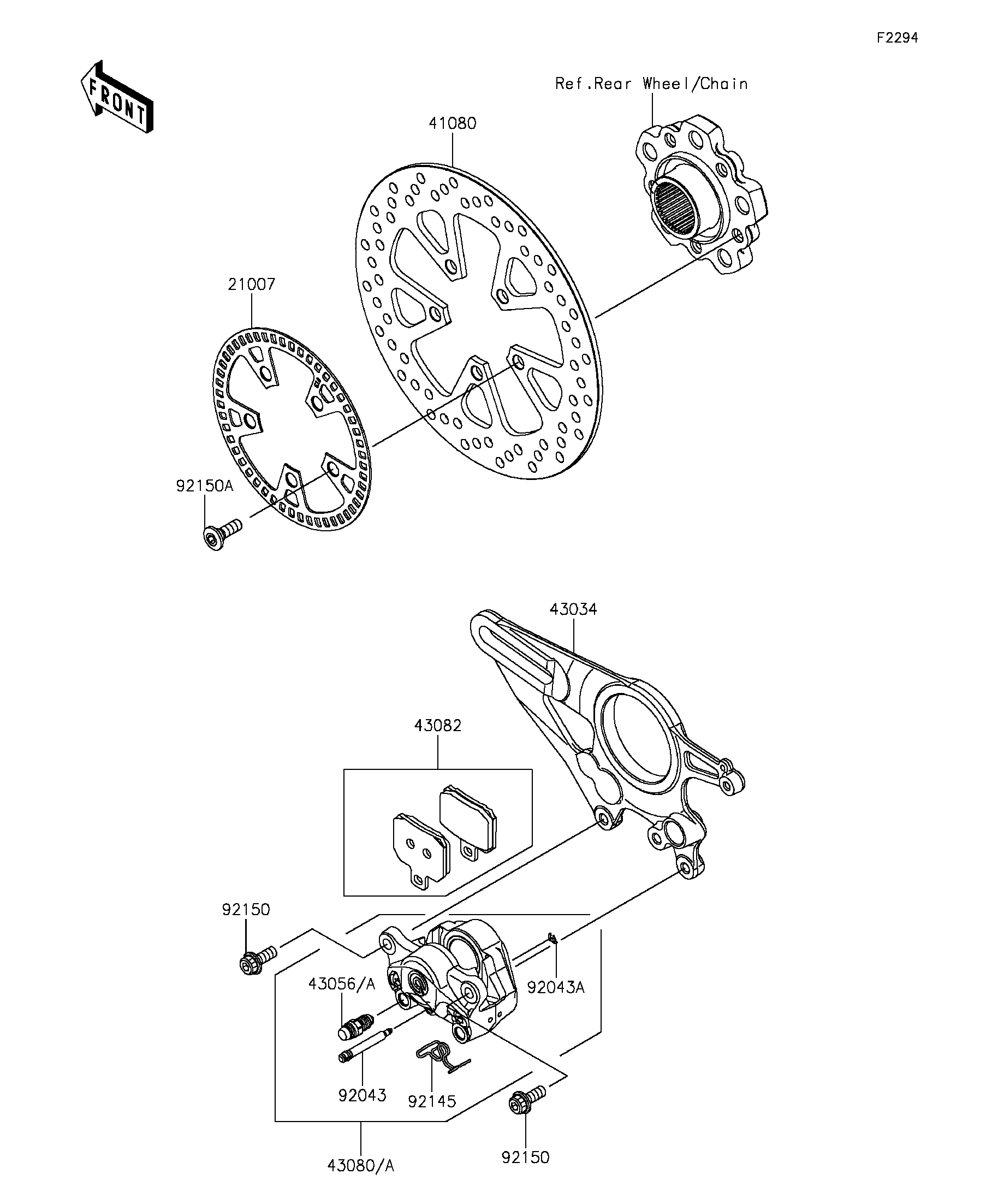
21007
41080
43034
43056
43056A
43080
43080A
43082
92043
92043A
92145
92150
92150
92150A
Part Item Information
ITEM NAME REF # PART NUMBER QUANTITY DESTINATION REMARKS
ROTOR,SENSOR,RR 21007 21007-0632 1
DISC,RR,250MM 41080 41080-0636 1
HOLDER-BRAKE,RR 43034 43034-0108 1
BREATHER-BRAKE 43056 43056-0013 1
BREATHER-BRAKE 43056A 43056-0020 1
CALIPER-SUB-ASSY,RR,GRAY 43080 43080-0162-51J 1
CALIPER-SUB-ASSY,RR,GRAY 43080A 43080-0176-51J 1
PAD-ASSY-BRAKE 43082 43082-0158 1
PIN,PAD 92043 92043-0863 1
PIN,CLIP 92043A 92043-0864 1
SPRING 92145 92145-1685 1
BOLT,SOCKET,8X20 92150 92150-1155 2
BOLT,8X25 92150A 92150-1858 5